GM Service Manual Online
For 1990-2009 cars only

Removal Procedure

  1. Remove the front door water deflector. Refer to Front Side Door Water Deflector Replacement .

  2. Object Number: 315751  Size: MH
  3. Disconnect the front door inside handle rods.
  4. Disconnect the front door inside handle rods from the front door inside rod block.

  5. Object Number: 293875  Size: SH
  6. Disconnect the front door outside handle rods.

  7. Object Number: 315760  Size: SH
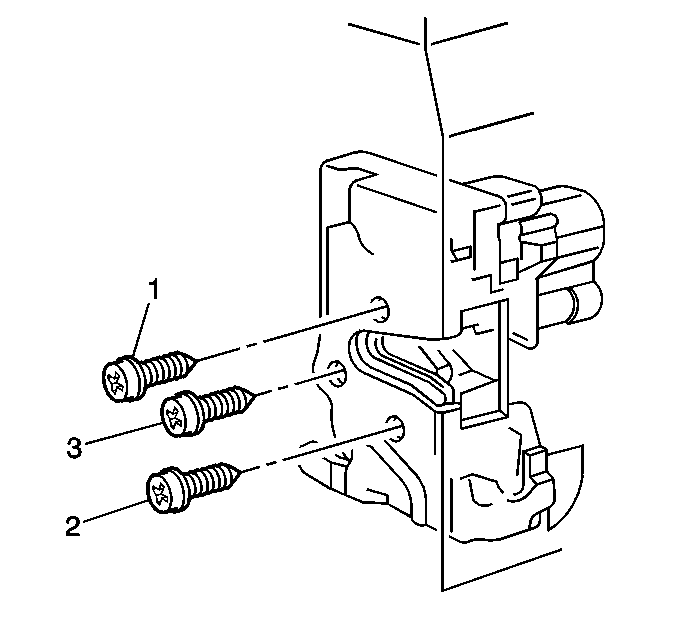
  8. Remove the front door lock screws (1, 2, 3).
  9. Remove the front door lock from inside the front door.

  10. Object Number: 315755  Size: MH
  11. Disconnect the front door lock electrical connectors.
  12. Remove the front door inside handle rods from the front door lock.

Installation Procedure


    Object Number: 315755  Size: MH
  1. Install the front door inside handle rods to the front door lock.
  2. Connect the front door lock electrical connectors.
  3. Position the front door lock into the front door.

  4. Object Number: 315760  Size: SH
  5. Apply Locktite® Blue GM P/N 12345382, or Canadian P/N 10953489, or equivalent prior to installing the front door lock screws.
  6. Notice: Use the correct fastener in the correct location. Replacement fasteners must be the correct part number for that application. Fasteners requiring replacement or fasteners requiring the use of thread locking compound or sealant are identified in the service procedure. Do not use paints, lubricants, or corrosion inhibitors on fasteners or fastener joint surfaces unless specified. These coatings affect fastener torque and joint clamping force and may damage the fastener. Use the correct tightening sequence and specifications when installing fasteners in order to avoid damage to parts and systems.

  7. Install the front door lock screws in the correct fastener tightening sequence (top, bottom, middle, 1, 2, 3).
  8. Tighten
    Tighten the screws to 10 N·m (89 lb in).


    Object Number: 293875  Size: SH
  9. Connect the front door outside handle rods.

  10. Object Number: 315751  Size: MH
  11. Connect the front door inside handle rods.
  12. Connect the front door inside handle rods to the front door inside rod block.
  13. Install the front door water deflector. Refer to Front Side Door Water Deflector Replacement .