GM Service Manual Online
For 1990-2009 cars only
Figure 1:

Power, Ground, DLC and MIL


Object Number: 695323  Size: FS
Master Electrical Component List
Powertrain Control Module Description
TP, MAP, ECT, IAT, VSS and Supercharger Boost Control Solenoid
Engine Controls Schematic Icons
Power Bussing for Fuse Block Underhood Page 1 of 2
IGN 1
Cluster, BCM, PCM, BTSI
IGN 1
PCM, BCM, Cluster, Turn, SDM
G100,G111 and G113
DLC
Figure 2:

TP, MAP, ECT, IAT, VSS and Supercharger Boost Control Solenoid


Object Number: 695328  Size: FS
Master Electrical Component List
Powertrain Control Module Description
CMP, CKP and KS Sensors
Power, Ground, DLC and MIL
Engine Controls Schematic Icons
Power Bussing for Fuse Block-Underhood page 2 of 2
Figure 3:

CMP, CKP and KS Sensors


Object Number: 695329  Size: FS
Master Electrical Component List
Electronic Ignition (EI) System Description
Fuel Injectors
TP, MAP, ECT, IAT, VSS and Supercharger Boost Control Solenoid
Engine Controls Schematic Icons
Power Bussing for Fuse Block-Underhood page 2 of 2
Figure 4:

Fuel Injectors


Object Number: 695330  Size: FS
Master Electrical Component List
Fuel System Description
IAC Control
CMP, CKP and KS Sensors
Engine Controls Schematic Icons
Power Bussing for Fuse Block-Underhood page 2 of 2
Figure 5:

IAC Control


Object Number: 695333  Size: FS
Master Electrical Component List
Powertrain Control Module Description
HO2S Sensors
Fuel Injectors
Engine Controls Schematic Icons
Power Bussing for Fuse Block-Underhood page 2 of 2
Power Bussing for Fuse Block-Underhood page 2 of 2
G101
Figure 6:

HO2S Sensors


Object Number: 695337  Size: FS
Master Electrical Component List
Powertrain Control Module Description
EVAP, MAF and EGR
IAC Control
Engine Controls Schematic Icons
Power Bussing for Fuse Block-Underhood page 2 of 2
ATX,ICM,O2
G100,G111 and G113
G113
Figure 7:

EVAP, MAF and EGR


Object Number: 695338  Size: FS
Master Electrical Component List
Powertrain Control Module Description
Fuel Pump Control, FTP
HO2S Sensors
Engine Controls Schematic Icons
Stop, EVAP, MAF
Power Bussing for Fuse Block-Underhood page 2 of 2
G100,G111 and G113
G100,G111 and G113
Figure 8:

Fuel Pump Control, FTP


Object Number: 695340  Size: FS
Master Electrical Component List
Fuel System Description
PCM References (1 of 2)
EVAP, MAF and EGR
Engine Controls Schematic Icons
Compressor Controls
Compressor Controls
Power Bussing for Fuse Block Underhood Page 1 of 2
G100,G111 and G113
Gauges
G402, Page 2 of 2
G100,G111 and G113
Figure 9:

PCM References (1 of 2)


Object Number: 695346  Size: FS
Master Electrical Component List
Powertrain Control Module Description
PCM References (2 of 2)
Fuel Pump Control, FTP
Engine Controls Schematic Icons
Solenoid Controls and TFT Sensor
Fluid Pressure Manual Valve Position Switch and ISS Sensor
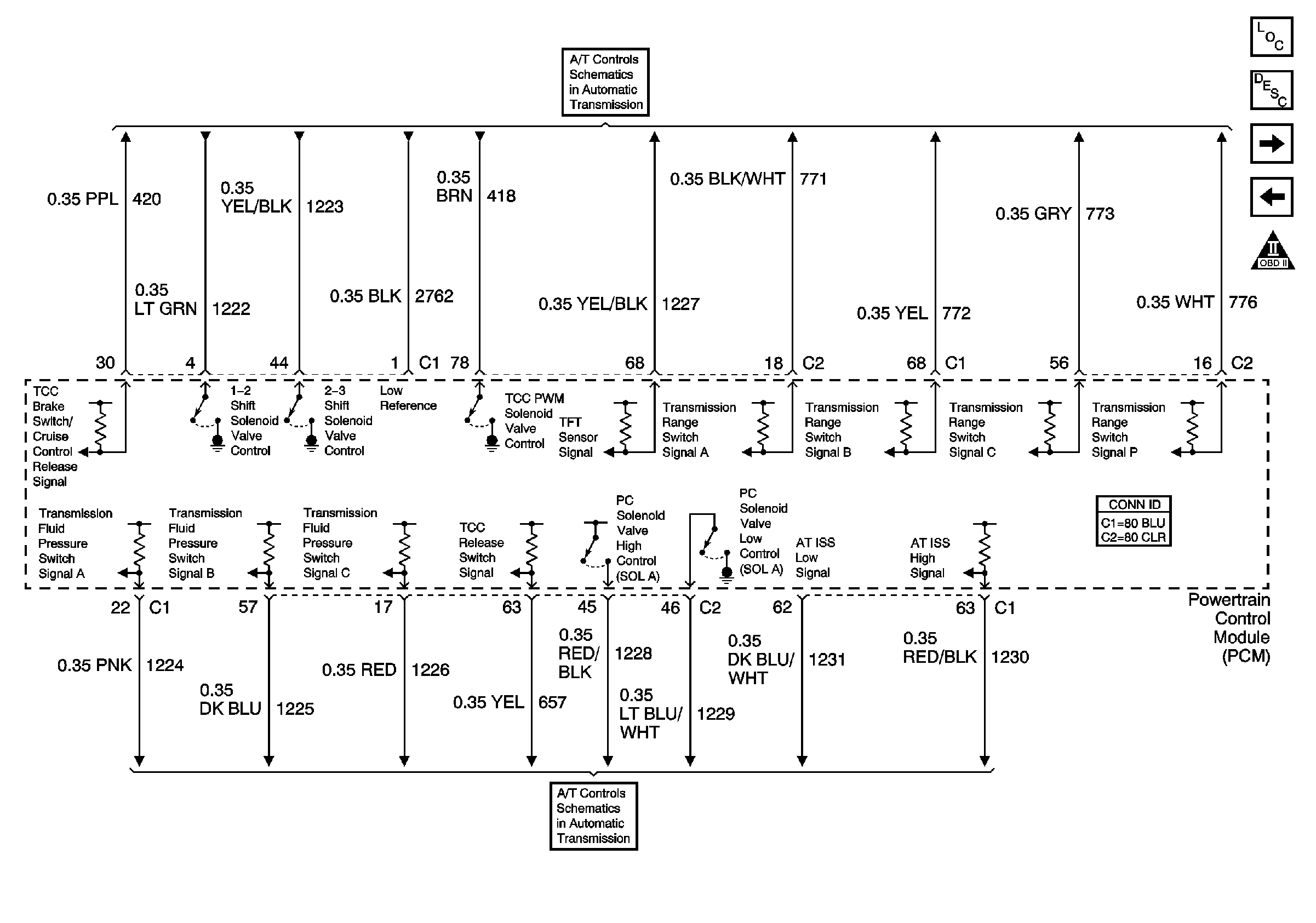
Figure 10:

PCM References (2 of 2)


Object Number: 695349  Size: FS
Master Electrical Component List
Powertrain Control Module Description
PCM References (1 of 2)
Engine Controls Schematic Icons
Compressor Controls
Compressor Controls
Compressor Controls
Compressor Controls
Cooling Fans
Charging
Gauges
Low Oil Pressure and Low Oil Indicators
Cruse Control
Starting
Stoplamp and Torque Signals