GM Service Manual Online
For 1990-2009 cars only
Makes
🢒
Buick
🢒
2002
🢒
Regal
🢒
Steering
🢒
Variable Effort Steering
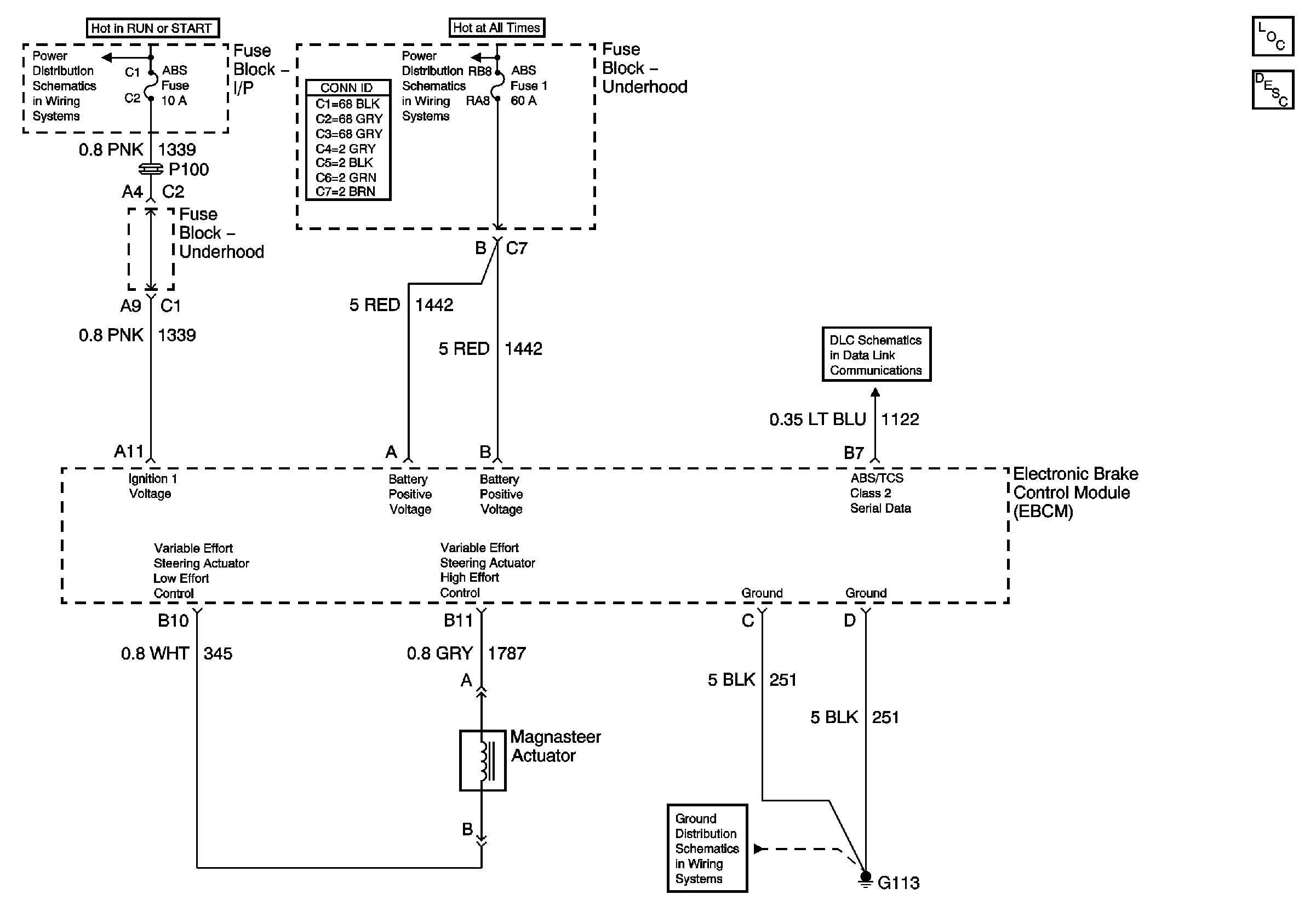
🢒 Steering Assist Schematics
Master Electrical Component List
Variable Effort Steering System Description and Operation
ABS, BTSI
Fuse Block Underhood Power Bussing (Page 1 of 2)
Data Link Connector (DLC)
G100, G111, and G113