GM Service Manual Online
For 1990-2009 cars only
Makes
🢒
Buick
🢒
2002
🢒
Regal
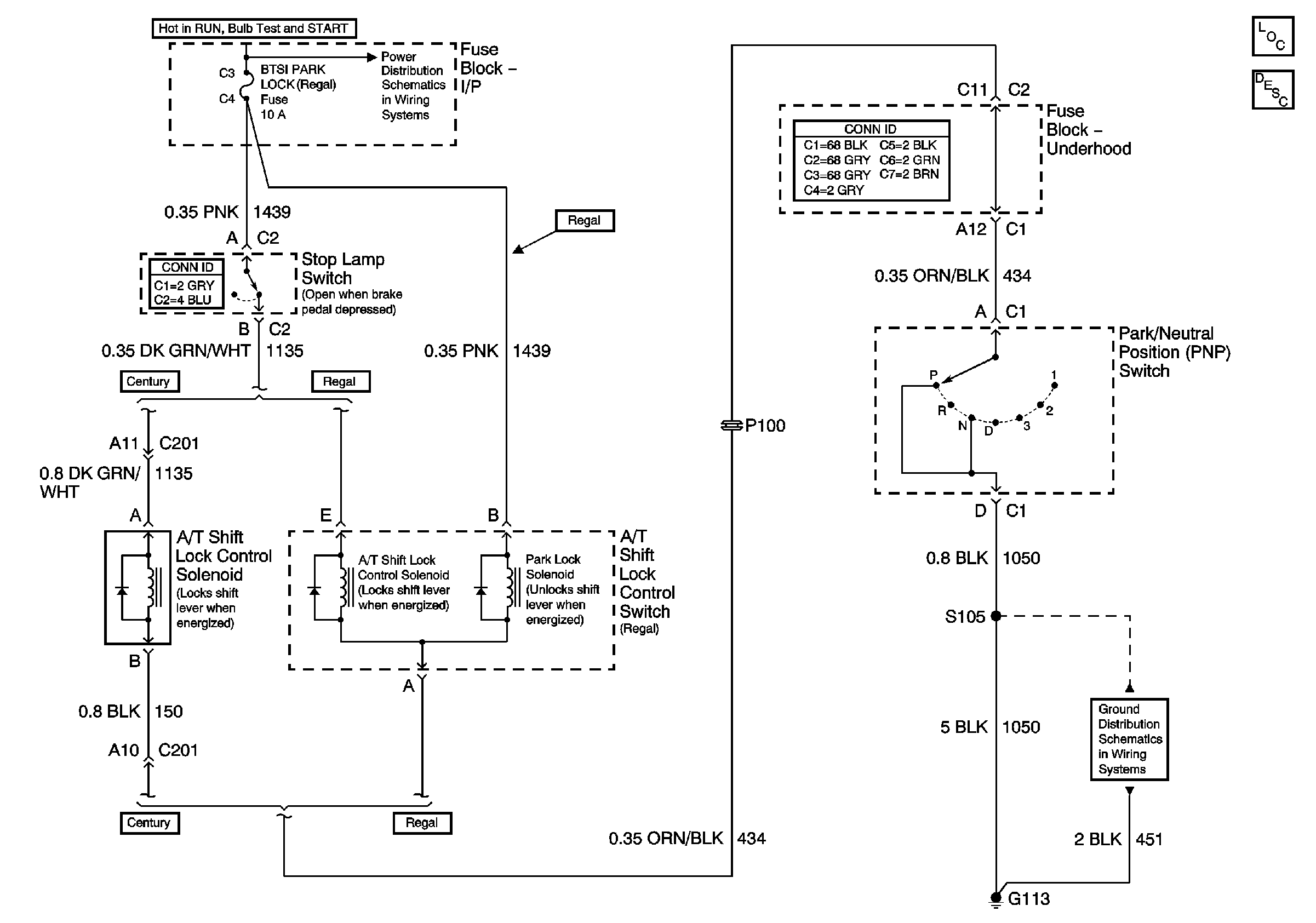
🢒 Shift Lock Control
Shift Lock Control
Master Electrical Component List
Automatic Transmission Shift Lock Control Description and Operation
ABS, BTSI
G113