GM Service Manual Online
For 1990-2009 cars only
Makes
🢒
Buick
🢒
2002
🢒
Regal
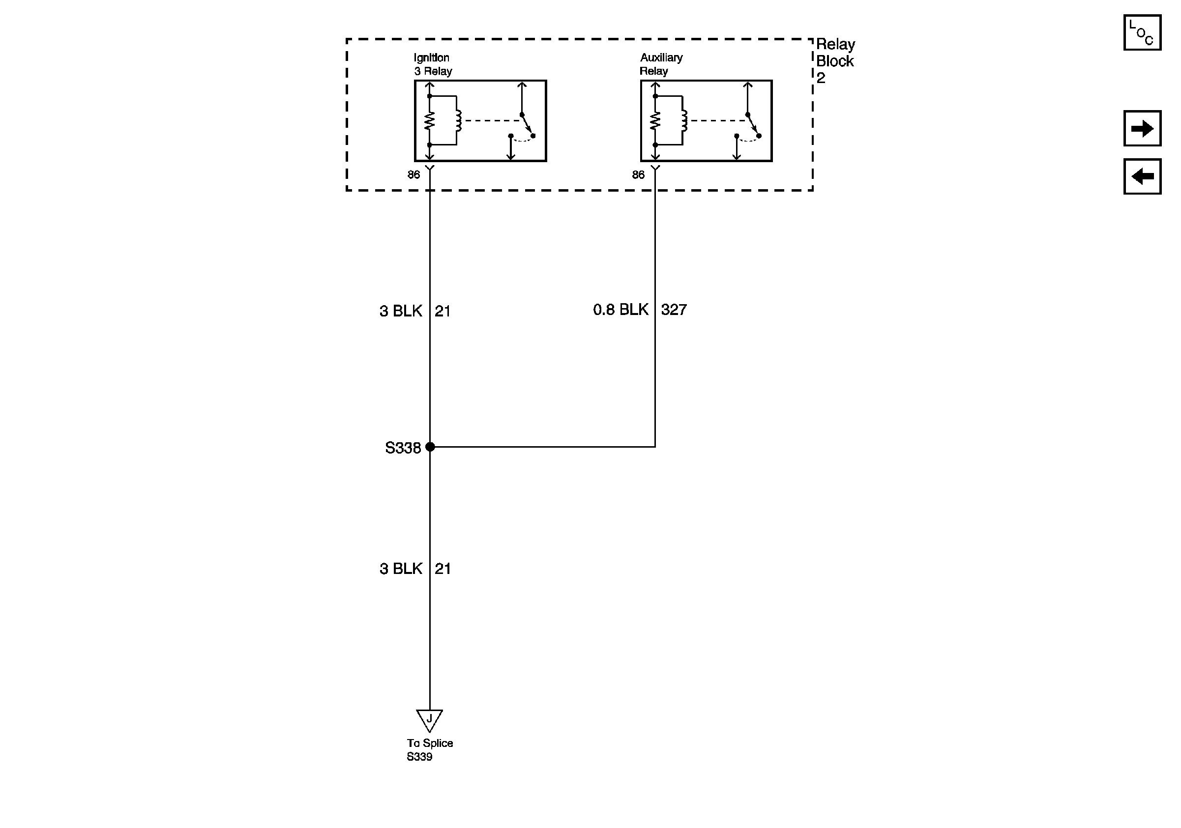
🢒 Ground Distribution Schematics - S338
Ground Distribution Schematics - S338
G105 Continued, S338
Master Electrical Component List
Ground Distribution Schematics - S323, S337, S339, S357 and S358
Ground Distribution Schematics - S330, S345, S349, S359, S360 and S600
Ground Distribution Schematics - S323, S337, S339, S357 and S358