GM Service Manual Online
For 1990-2009 cars only
Makes
🢒
Buick
🢒
2003
🢒
Regal
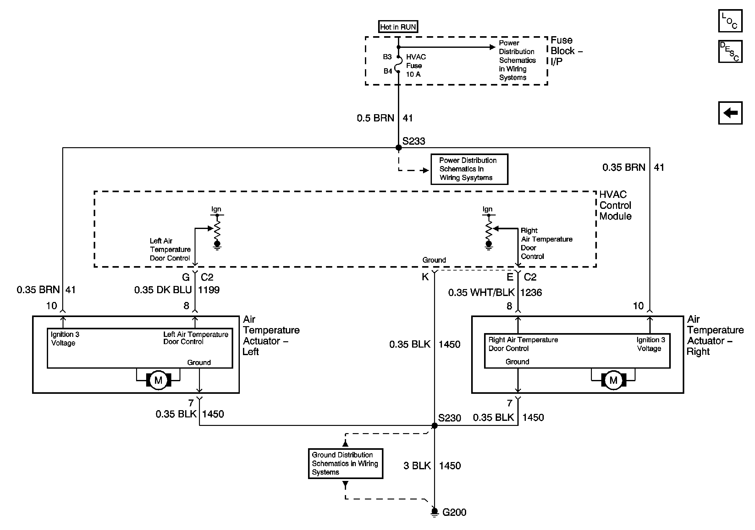
🢒 Temperature Actuators
Temperature Actuators
Temperature Actuators
Master Electrical Component List
Air Temperature Description and Operation
Compressor Controls
Fuse Block-I/P LOW BLOWER, CRUISE, and HVAC Fuses
Fuse Block-I/P LOW BLOWER, CRUISE, and HVAC Fuses
G200, Page 1 of 2