GM Service Manual Online
For 1990-2009 cars only
Makes
🢒
Buick
🢒
2003
🢒
Regal
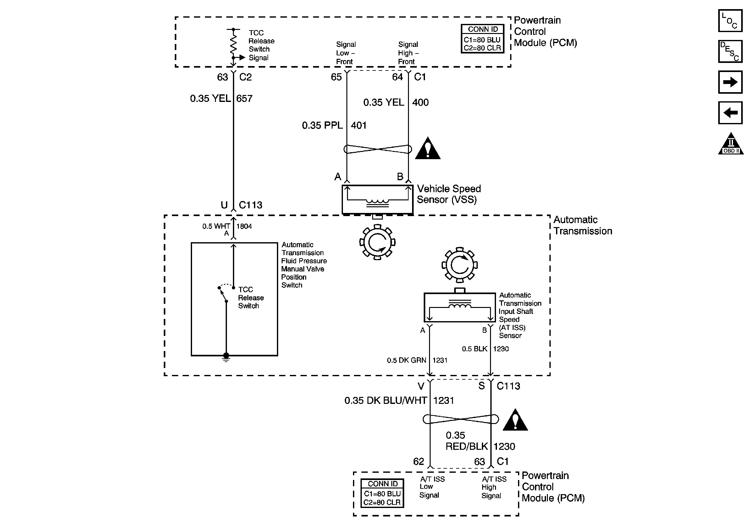
🢒 Fluid Pressure Manual Valve Position Switch, ISS Sensor, and VSS
Fluid Pressure Manual Valve Position Switch, ISS Sensor, and VSS
Fluid Pressure Manual Valve Position Switch, ISS Sensor, and VSS
Master Electrical Component List
Transmission Component and System Description
Internal Mode Switch (IMS)
Solenoid Controls and TFT Sensor
OBD II Symbol Description Notice
Automatic Transmission Schematic Icons
Automatic Transmission Schematic Icons