GM Service Manual Online
For 1990-2009 cars only
Makes
🢒
Buick
🢒
2003
🢒
Regal
🢒 Regal
Regal
Regal
Master Electrical Component List
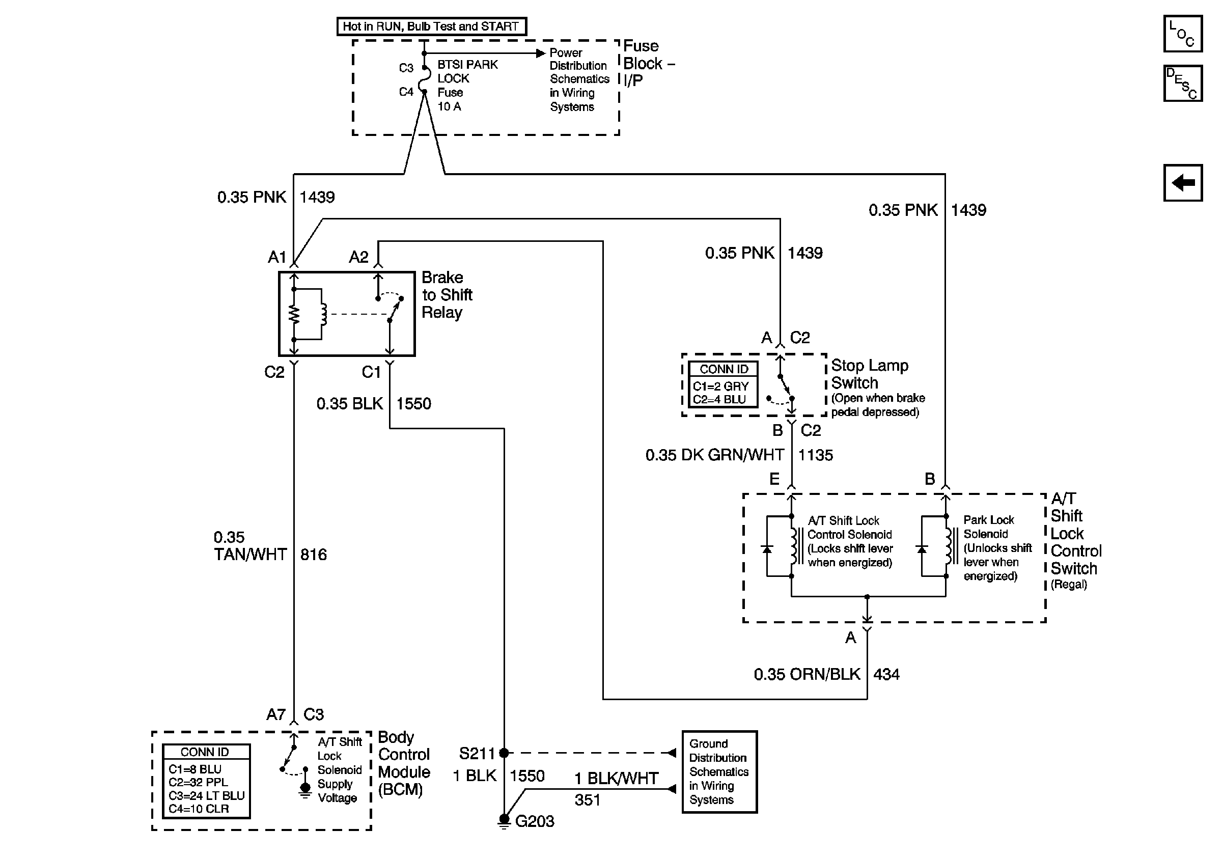
Automatic Transmission Shift Lock Control Description and Operation
Century
Fuse Block-I/P ABS, and BTSI PARK LOCK Fuses
G203, Page 1 of 2