GM Service Manual Online
For 1990-2009 cars only
Makes
🢒
Buick
🢒
2004
🢒
Regal
🢒 Switches
Switches
Switches
Master Electrical Component List
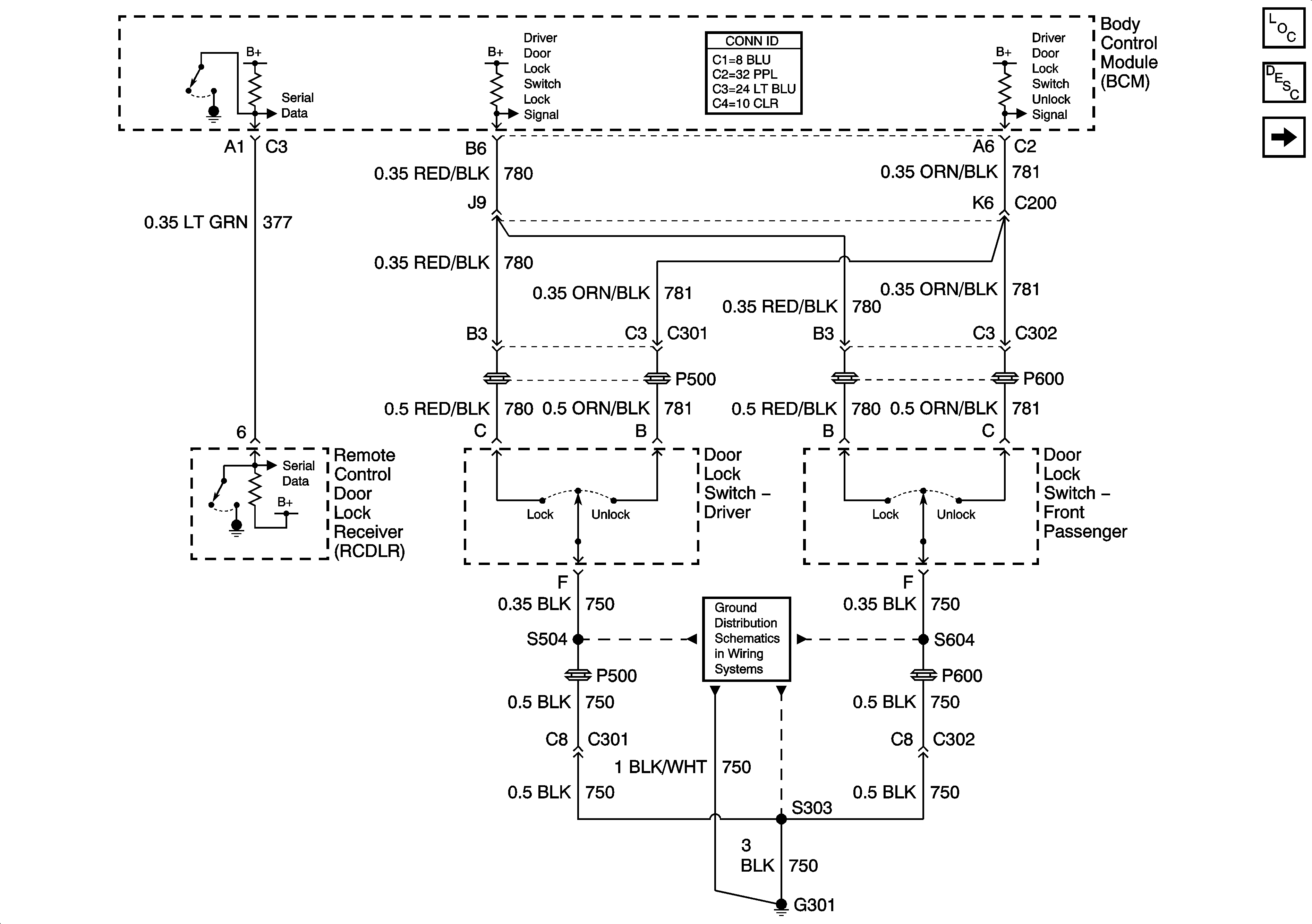
Power Door Locks Description and Operation
Actuators
G301, Page 1 of 2