GM Service Manual Online
For 1990-2009 cars only

Disassembled Views LDK

Figure 1:

Cylinder Head and Components


Object Number: 2074501  Size: LF
(1)Camshaft Position Actuator Solenoid Valve - Intake
(2)Camshaft Position Actuator Solenoid Valve Bolt
(3)Camshaft Position Actuator Solenoid Valve Bolt
(4)Camshaft Position Actuator Solenoid Valve - Exhaust
(5)Upper Intake Manifold Sight Shield Grommet
(6)Ball Stud
(7)Upper Intake Manifold Sight Shield Grommet
(8)Turbocharger Coolant Feed Pipe Fitting
(9)Turbocharger Coolant Feed Hose Gasket
(10)Turbocharger Coolant Feed Hose Clamp
(11)Turbocharger Coolant Feed Hose
(12)Turbocharger Coolant Feed Hose Bolt
(13)Turbocharger Coolant Feed Hose Gasket
(14)Turbocharger Coolant Feed Hose Clamp
(15)Upper Intake Manifold Sight Shield Grommet
(16)Ball Stud
(17)Ignition Coil Bolt
(18)Ignition Coil Bolt Retainer
(19)Ignition Coil
(20)Spark Plug
(21)Camshaft Cover Bolt
(22)Camshaft Cover Bolt Retainer
(23)Oil Fill Cap
(24)Oil Fill Cap Seal
(25)Camshaft Cover
(26)Camshaft Housing Cover Insulator
(27)Camshaft Housing Cover Insulator Bolt
(28)Camshaft Cover Seal
(29)Camshaft Cover Seal
(30)Camshaft Bearing Cap Bolt
(31)Camshaft Bearing Front Cap
(32)Camshaft Bearing Cap
(33)Camshaft Bearing Front Cap
(34)Camshaft Bearing Rear Cap Bolt
(35)Camshaft Bearing Rear Cap - Exhaust
(36)Camshaft Bearing Rear Cap Bolt
(37)Camshaft Bearing Rear Cap - Intake
(38)Power Brake Booster Pump Seal
(39)Power Brake Booster Pump
(40)Power Brake Booster Pump Bolt
(41)Camshaft Position Sensor Bolt
(42)Camshaft Position Sensor
(43)Camshaft Position Sensor O-Ring
(44)Exhaust Camshaft
(45)Intake Camshaft
(46)Roller Finger Follower
(47)Hydraulic Lash Adjuster
(48)Cylinder Head Bolt
(49)Coolant Air Bleed Fitting
(50)Hydraulic Lash Adjuster
(51)Roller Finger Follower
(52)Valve Keys
(53)Valve Stem Seal
(54)Valve Spring
(55)Valve Spring Retainer
(56)Small Cylinder Head Bolt
(57)Cylinder Head
(58)Timing Chain Guide Bolt Access Hole
(59)Exhaust Valve
(60)Intake Valve
(61)Camshaft Position Sensor Bolt
(62)Camshaft Position Sensor - Intake
(63)Camshaft Position Sensor O-Ring
(64)Cylinder Head Gallery Plug
(65)Rear Lift Bracket
(66)Rear Lift Bracket Bolt
(67)Cylinder Head Cover Plate Seal
(68)Cylinder Head Cover Plate
(69)Cylinder Head Cover Plate Bolt
(70)Fuel Injector Hold Down Clamp
(71)Fuel Injector Seal
(72)Fuel Injector
(73)Fuel Injector O-Ring
(74)Fuel Rail
(75)Fuel Rail Pressure Sensor
(76)Fuel Injector Wiring Harness
(77)Fuel Rail Bolt
Figure 2:

Intake Manifold and Components


Object Number: 2063479  Size: LF
(1)Evaporative (EVAP) Emission Purge Solenoid Valve Bolt
(2)EVAP Purge Solenoid Valve
(3)Manifold Absolute Pressure (MAP) Sensor Bolt
(4)MAP Sensor
(5)Fuel Pump Lifter
(6)High Pressure Fuel Pump Gasket
(7)High Pressure Fuel Pump O-Ring
(8)High Pressure Fuel Pump
(9)High Pressure Fuel Pump Bolt
(10)Fuel Feed Line
(11)Fuel Feed Line Bolt
(12)High Pressure Fuel Pump Insulator
(13)High Pressure Fuel Pump Cover
(14)High Pressure Fuel Line
(15)Fuel Injector Insulator
(16)Oil Indicator Tube
(17)Oil Indicator
(18)Intake Manifold Brace
(19)Intake Manifold Brace Stud
(20)Oil Indicator O-Ring
(21)Charger AIR Bypass Tube Clamp
(22)Charger AIR Bypass Tube Assembly
(23)Charger AIR Bypass Valve Tank Assembly Nut
(24)Charger AIR Bypass Valve Tank Assembly, Some Models
(25)Charger AIR Bypass Valve Solenoid Bolt
(26)Charger AIR Bypass Valve Solenoid
(27)Throttle Body Bolt
(28)Throttle Body
(29)Throttle Body Seal
(30)Power Brake Booster Fitting
(31)Intake Manifold
(32)Intake Manifold Gasket
Figure 3:

Exhaust Manifold and Components


Object Number: 2074503  Size: LF
(1)Turbocharger Wastegate Regulator Solenoid Hose
(2)Turbocharger Wastegate Regulator Solenoid Hose Clamp
(3)Turbocharger Wastegate Regulator Solenoid Hose
(4)Turbocharger Wastegate Regulator Solenoid Valve Assembly
(5)Turbocharger Wastegate Regulator Solenoid Valve Bracket
(6)Turbocharger Wastegate Regulator Solenoid Valve Bracket Bolt/Screw
(7)Turbocharger Wastegate Regulator Solenoid Hose
(8)Turbocharger Wastegate Regulator Solenoid Hose Clamp
(9)Turbocharger Oil Feed Pipe
(10)Turbocharger Oil Feed Pipe Bolt
(11)Turbocharger Oil Feed Pipe Gasket
(12)Turbocharger Oil Feed Pipe Gasket
(13)Turbocharger Oil Feed Pipe Bolt
(14)Turbocharger Coolant Return Pipe Gasket
(15)Turbocharger Coolant Return Pipe Bolt
(16)Turbocharger Coolant Return Pipe
(17)Turbocharger Coolant Return Pipe Bolt
(18)Turbocharger Coolant Return Pipe Gasket
(19)Turbocharger Coolant Feed Pipe Gasket
(20)Turbocharger Coolant Feed Pipe Bolt
(21)Turbocharger Coolant Feed Pipe
(22)Turbocharger Coolant Feed Pipe Gasket
(23)Turbocharger Coolant Feed Pipe Bolt
(24)Exhaust Manifold Heat Shield Bolt
(25)Exhaust Manifold Heat Shield Bolt
(26)Exhaust Manifold Heat Shield
(27)Exhaust Manifold Nut
(28)Exhaust Manifold
(29)Exhaust Manifold Gasket
(30)Exhaust Manifold Stud
(31)Oxygen Sensor Fastener
(32)Oxygen Sensor
(33)Oxygen Sensor Gasket
(34)Catalytic Converter Nut
(35)Catalytic Converter
(36)Catalytic Converter Seal
(37)Catalytic Converter Stud
(38)Catalytic Converter Bracket
(39)Catalytic Converter L-Bracket
(40)Catalytic Converter Bolt
(41)Catalytic Converter Bracket Bolt
(42)Catalytic Converter Stud
(43)Turbocharger Air Cooler Outlet Pipe
(44)Turbocharger Air Cooler Outlet Pipe Bolt
(45)Turbocharger Heat Shield
(46)Turbocharger Heat Shield Bolts
(47)Turbocharger Air Cooler Outlet Pipe Seal
(48)Turbocharger Gasket
(49)Turbocharger
(50)Turbocharger Air Bypass Valve Spring
(51)Turbocharger Air Bypass Diaphragm Assembly
(52)Turbocharger Air Bypass Valve Cover
(53)Turbocharger Air Bypass Valve Cover Bolt
(54)Turbocharger Oil Return Pipe Gasket
(55)Turbocharger Oil Return Pipe Bolt
(56)Turbocharger Oil Return Pipe
(57)Turbocharger Oil Return Pipe O-Ring
(58)Turbocharger Brace
Figure 4:

Engine Block and Components


Object Number: 2074504  Size: LF
(1)Water Pump to Engine Block Seal
(2)Water Pump Seal
(3)Water Pump
(4)Water Pump Bolt
(5)Outlet Pipe O-rings
(6)Outlet Pipe
(7)Coolant Thermostat Housing Bolt
(8)Coolant Thermostat Housing
(9)Thermostat Housing to Block Gasket
(10)Coolant Thermostat Housing Seal
(11)Coolant Temperature Sensor
(12)Thermostat
(13)Coolant Inlet
(14) Coolant Inlet Bolt
(15)Water Pipe Support Bracket
(16)Water Pipe Support Bracket Bolt
(17)Water Pipe Support Bracket Bolt Stud
(18)Piston Ring Assembly
(19)Piston Assembly
(20)Connecting Rod Bushing
(21)Connecting Rod
(22)Connecting Rod Bearing
(23)Connecting Rod Cap Bolt
(24)Oil Cooler O-ring
(25)Oil Cooler
(26)Oil Cooler Bolt
(27)Front Lift Bracket
(28)Front Lift Bracket Bolt
(29)Cylinder Head Gasket
(30)Cylinder Bore Liner
(31)Cylinder Head Alignment Pin
(32)Oil Filter Cap
(33)Oil Filter Cap O-ring
(34)Oil Filter
(35)Engine Block Gallery Plug
(36)Engine Block to Transaxle Alignment Pin
(37)Crankshaft Position Sensor
(38)Crankshaft Position Sensor Bolt
(39)Oil Pressure Switch
(40)Piston Oil Nozzle Assembly
(41)Manual Transaxle Flywheel to Crankshaft Bolt
(42)Flywheel - Manual Transaxle
(43)Automatic Transaxle Flywheel to Crankshaft Bolt
(44)Flywheel - Automatic Transaxle
(45)Crankshaft Rear Seal
(46)Engine Block
(47)Crankshaft Thrust Bearing - Upper
(48)Crankshaft Bearing - Upper
(49)Crankshaft
(50)Crankshaft Thrust Bearing - Lower
(51)Crankshaft Bearing - Lower
(52)Lower Crankcase
(53)Lower Crankcase Perimeter Bolt
(54)Oil Level Indicator Plate Bolt
(55)Engine Oil Level Sensor Assembly
(56)Engine Oil Level Sensor Retainer Ring
(57)Engine Oil Pan Alignment Pins
(58)Lower Crankcase Main Bearing Bolt
(59)Engine Oil Pan Drain Plug
(60)Engine Oil Pan Bolt
(61)Engine Oil Pan Long Bolt
(62)Engine Oil Pan
(63)Starter
(64)Starter Bolt
(65)Knock Sensor - Front
(66)Knock Sensor - Rear
Figure 5:

Timing Chain and Components


Object Number: 2141355  Size: LF
(1)Timing Chain Tensioner Body
(2)Timing Chain Tensioner Seal
(3)Adjustable Timing Chain Guide
(4)Adjustable Timing Chain Guide Bolt
(5)Timing Chain
(6)Fixed Timing Chain Guide Bolt
(7)Fixed Timing Chain Guide
(8)Timing Chain Drive Sprocket
(9)Friction Washers, if equipped
(10)Timing Chain Oil Nozzle Bolt
(11)Timing Chain Oil Nozzle
(12)Camshaft Position Actuator Bolt
(13)Intake Camshaft Position Actuator
(14)Camshaft Position Actuator Bolt
(15)Exhaust Camshaft Position Actuator
(16)Upper Timing Chain Guide
(17)Upper Timing Chain Guide Bolt
(18)Balance Shaft Drive Sprocket Bolts
(19)Exhaust Balance Shaft Drive Sprocket
(20)Intake Balance Shaft Drive Sprocket
(21)Exhaust Balance Shaft Bearing Carrier
(22)Intake Balance Shaft Bearing Carrier
(23)Exhaust Balance Shaft
(24)Intake Balance Shaft
(25)Balance Shaft Rear Bearing
(26)Water Pump Drive Sprocket Bolt
(27)Water Pump Drive Sprocket
(28)Balance Shaft Drive Chain Tensioner Assembly Bolt
(29)Balance Shaft Drive Chain Tensioner Assembly
(30)Adjustable Balance Shaft Drive Chain Guide Bolt
(31)Adjustable Balance Shaft Drive Chain Guide
(32)Balance Shaft Drive Chain
(33)Balance Shaft Drive Chain Guide Bolt
(34)Balance Shaft Drive Chain Guide
(35)Balance Shaft Drive Sprocket
(36)Balance Shaft Drive Chain Guide
(37)Balance Shaft Drive Chain Guide Bolt
(38)Engine Front Cover Alignment Pins
(39)Engine Front Cover Gasket
(40)Oil Pump Cover Bolt
(41)Oil Pump Cover
(42)Oil Pump Gear
(43)Oil Pump Inner Rotor
(44)Engine Front Cover
(45)Engine Front Cover Bolt
(46)Crankshaft Front Oil Seal
(47)Crankshaft Balancer
(48)Crankshaft Balancer Bolt
(49)Engine Front Cover Bolt
(50)Oil Pressure Relief Valve
(51)Oil Pressure Relief Valve O-Ring
(52)Water Pump Sprocket Access Cover Bolt
(53)Water Pump Sprocket Access Cover
(54)Water Pump Sprocket Access Cover Gasket
(55)Belt Tensioner Bolt
(56)Belt Tensioner
(57)Belt Tensioner Bolt
(58)Belt Tensioner Pulley Bolt
(59)Belt Tensioner
(60)Power Steering Pump Pulley
(61)Power Steering Pump Bolt
(62)Power Steering Pump Bracket
(63)Power Steering Pump Bracket Bolt

Disassembled Views LTD

Figure 1:

Cylinder Head and Components


Object Number: 1866996  Size: LF
(201)Exhaust Valve
(202)Intake Valve
(203)Timing Chain Guide Bolt Access Hole
(204)Cylinder Head
(205)Cylinder Head Gallery Plug
(206)Hydraulic Lash Adjuster
(207)Roller Finger Follower
(208)Cylinder Head Bolt
(209)Small Cylinder Head Bolt
(210)Valve Stem Seal
(211)Valve Spring
(212)Valve Spring Retainer
(213)Valve Keys
(214)Hydraulic Lash Adjuster
(215)Roller Finger Follower
(216)lntake Camshaft
(219)Camshaft Cap
(220)Exhaust Camshaft
(221)Camshaft Cap
(222)Camshaft Cap Bolt
(300)Coolant Air Bleed Fitting
(413)Engine Oil Fill Cap
(507)Fuel Injector Rotator Cup
(508)Fuel Injector O-ring
(509)Fuel Injector
(510)Fuel Injector O-ring
(511)Fuel Injector Clip
(512)Fuel Rail
(513)Camshaft Cover Gasket
(514)Camshaft Cover
(515)Camshaft Cover Bolt
(707)Front Lift Bracket Bolt
(708)Front Lift Bracket
(709)Rear Lift Bracket
(710)Rear Lift Bracket Bolt
(713)Fuel Injector Wiring Harness
(717)Spark Plug
(718)Camshaft Position Actuator Solenoid Valve - Exhaust
(719)Camshaft Position Actuator Solenoid Valve - Intake
(720)Camshaft Position Actuator Solenoid Valve Bolt
(721)Ignition Coil
(724)Ignition Coil Bolt
(725)Camshaft Position Sensor
(726)Camshaft Position Sensor Bolt
(727)Camshaft Position Sensor
(728)Camshaft Position Sensor Bolt
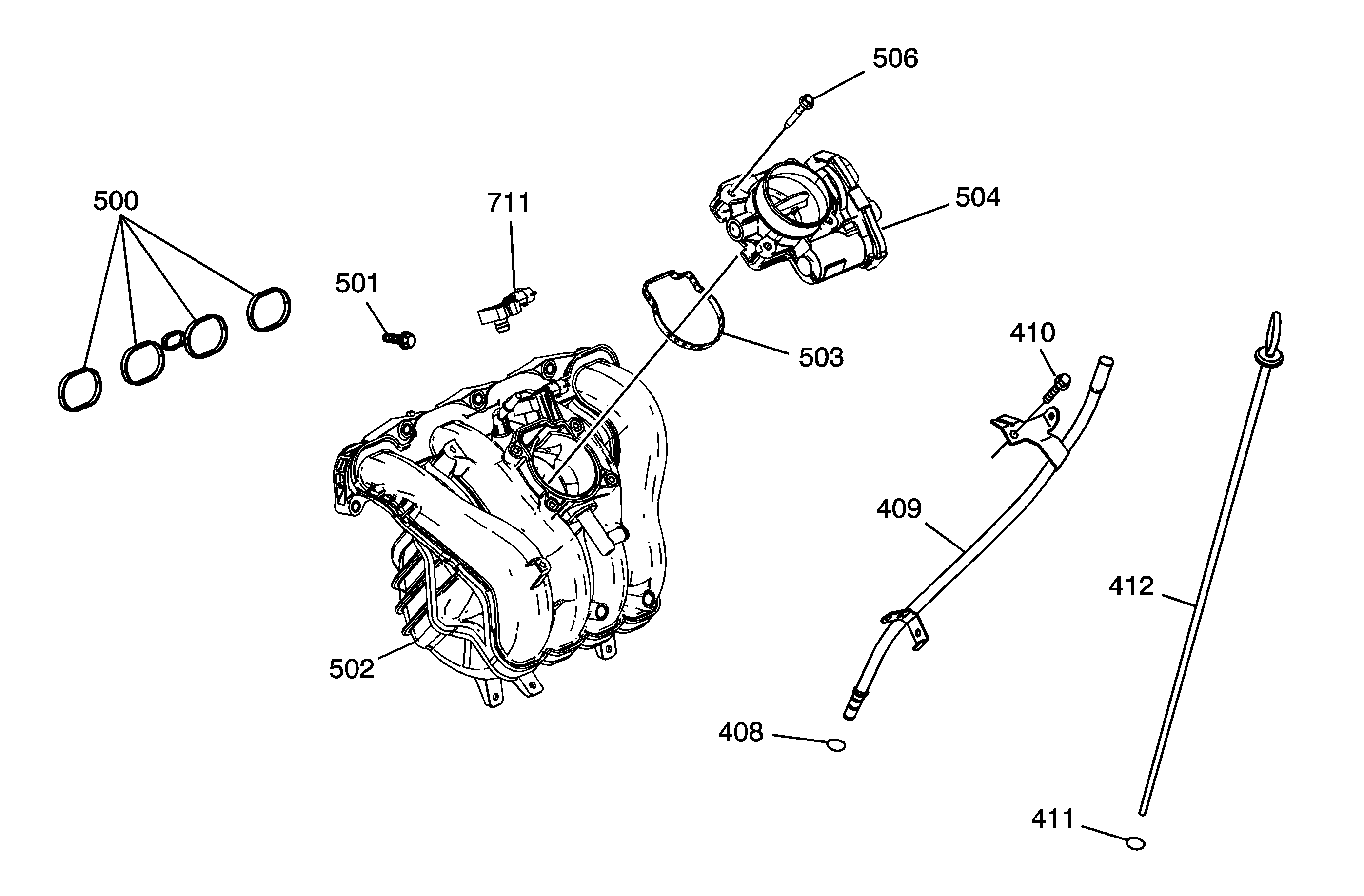
Figure 2:

Intake Manifold and Components


Object Number: 1866997  Size: MF
(408)Oil Indicator Tube O-ring
(409)Oil Indicator Tube
(410)Oil Indicator Tube Bolt
(411)Oil Indicator O-ring
(412)Oil Indicator
(500)Intake Manifold Gasket
(501)Intake Manifold Bolt
(502)Intake Manifold
(503)Throttle Body Seal
(504)Throttle Body
(506)Throttle Body Bolt
(711)Map Sensor
Figure 3:

Exhaust Manifold and Components


Object Number: 1244840  Size: LF
(600)Exhaust Manifold Stud
(601)Exhaust Manifold Gasket
(602)Exhaust Manifold
(603)Exhaust Manifold Nut
(604)Exhaust Manifold Heat Shield
(605)Exhaust Manifold Heat Shield Stud
(712)Oxygen Sensor
Figure 4:

Engine Block and Components


Object Number: 1866998  Size: LF
(100)Engine Block
(101)Crankshaft Bearing - Upper
(102)Crankshaft Thrust Bearing - Upper
(103)Crankshaft
(104)Crankshaft Bearing - Lower
(105)Crankshaft Thrust Bearing - Lower
(106)Lower Crankcase
(107)Lower Crankcase Perimeter Bolt
(108)Lower Crankcase Main Bearing Bolt
(109)Crankshaft Rear Seal
(110)Flywheel - Automatic Transmission
(111)Automatic Transaxle Flywheel to Crankshaft Bolt
(112)Manual Transaxle Flywheel
(113) Manual Transaxle Flywheel Bolt
(114)Engine Block to Transaxle Alignment Pin
(115)Engine Block Gallery Plug
(116)Cylinder Head Alignment Pin
(117)Cylinder Bore Sleeve
(118)Connecting Rod Cap Bolt
(119)Connecting Rod
(120)Connecting Rod Bearing
(121)Piston Assembly
(122)Piston Ring Assembly
(200)Cylinder Head Gasket
(301)Thermostat Housing
(302)Thermostat Housing to Block Gasket
(303)Water Pipe Support Bracket Bolt
(304)Water Pipe Support Bracket Bolt Stud
(305)Water Pipe Support Bracket
(306)Thermostat Gasket
(307)Thermostat
(308)Thermostat Housing Cap
(309)Thermostat Housing Cap Bolt
(310)Water Transfer Pipe
(311)Water Transfer Pipe O-ring Seals
(312)Water Pump
(313)Water Pump to Engine Block Seal
(400)Engine Oil Pan
(401)Engine Oil Pan Alignment Pins
(402)Engine Oil Pan Drain Plug
(403)Engine Oil Pan Bolt
(404)Engine Oil Pan Long Bolt
(405)Oil Filter
(406)Oil Filter Cap O-ring
(407)Oil Filter Cap
(433)Piston Oil Squirter
(700)Oil Pressure Switch
(701)Crankshaft Position Sensor Bolt
(702)Crankshaft Position Sensor
(703)Knock Sensor
(706)Coolant Temperature Sensor
Figure 5:

Timing Chain and Components


Object Number: 2128096  Size: LF
(123)Balance Shaft Rear Bearing
(124)Exhaust Balance Shaft
(125)Intake Balance Shaft
(126)Exhaust Balance Shaft Bearing Carrier
(127)Intake Balance Shaft Bearing Carrier
(128)Exhaust Balance Shaft Drive Sprocket
(129)Intake Balance Shaft Drive Sprocket
(130)Balance Shaft Drive Sprocket Bolts
(223)Upper Timing Chain Guide Bolt
(224)Upper Timing Chain Guide
(225)Exhaust Camshaft Position Actuator
(226)Intake Camshaft Position Actuator
(227)Camshaft Position Actuator Bolt
(228)Timing Chain Oil Nozzle
(229)Timing Chain Oil Nozzle Bolt
(230)Timing Chain Drive Sprocket
(231)Fixed Timing Chain Guide
(232)Fixed Timing Chain Guide Bolt
(233)Timing Chain
(234)Timing Chain Tensioner Washer
(235)Timing Chain Tensioner Body
(236)Timing Chain Tensioner O-ring Seal
(237)Timing Chain Tensioner Plunger
(238)Adjustable Timing Chain Guide
(239)Adjustable Timing Chain Guide Bolt
(240)Balance Shaft Drive Sprocket
(241)Balance Shaft Drive Chain Guide
(242)Balance Shaft Drive Chain Guide Bolt
(243)Balance Shaft Drive Chain Guide
(244)Balance Shaft Drive Chain Guide Bolt
(245)Balance Shaft Drive Chain
(246)Balance Shaft Drive Chain Tensioner Assembly
(247)Balance Shaft Drive Chain Tensioner Assembly Bolt
(248)Adjustable Balance Shaft Drive Chain Guide
(249)Adjustable Balance Shaft Drive Chain Guide Bolt
(314)Water Pump Drive Sprocket
(315)Water Pump Drive Sprocket Bolt
(316)Water Pump Bolt
(317)Engine Front Cover Access Plate Gasket
(318)Engine Front Cover Access Plate
(319)Engine Front Cover Access Plate Bolt
(414)Engine Front Cover Alignment Pins
(415)Engine Front Cover Gasket
(416)Oil Pump Cover Bolt
(417)Oil Pump Cover
(418)Oil Pump Outer Gerotor
(419)Oil Pump Inner Gerotor
(420)Engine Front Cover
(421)Engine Front Cover Bolt
(422)Oil Pressure Relief Valve Spring
(423)Oil Pressure Relief Valve Plunger
(424)Oil Pressure Relief Valve O-ring Seal
(425)Oil Pressure Relief Valve Plug
(426)Crankshaft Front Seal
(427)Crankshaft Damper
(428)Crankshaft Damper Bolt
(429)Friction Washer, some models
(704)Belt Tensioner
(705)Belt Tensioner Bolt