GM Service Manual Online
For 1990-2009 cars only
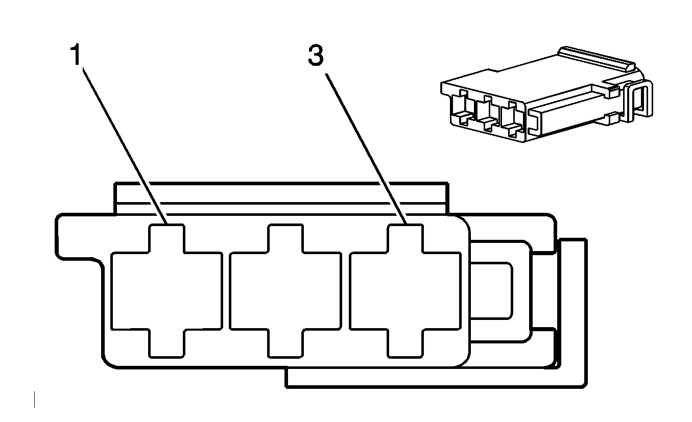
Figure 1:

A10 Inside Rearview Mirror


Object Number: 2180211  Size: CH

Connector Part Information

  • OEM:
  • Service:
  • Description:

Terminal Part Information

  • Terminal/Tray:
  • Core/Insulation Crimp:
  • Release Tool/Test Probe:

A10 Inside Rearview Mirror

Pin

Wire

Circuit

Function

    
    
    
    
Figure 2:

A11 (X1) Radio X1


Object Number: 1974986  Size: CH

Connector Part Information

  • OEM:
  • Service:
  • Description:

Terminal Part Information

  • Terminal/Tray:
  • Core/Insulation Crimp:
  • Release Tool/Test Probe:

A11 (X1) Radio X1

Pin

Wire

Circuit

Function

    
    
    
    
Figure 3:

A11 (X10) Radio X10


Object Number: 2179749  Size: CH

Connector Part Information

  • OEM:
  • Service:
  • Description:

Terminal Part Information

  • Terminal/Tray:
  • Core/Insulation Crimp:
  • Release Tool/Test Probe:

A11 (X10) Radio X10

Pin

Wire

Circuit

Function

    
    
    
    
Figure 4:

A11 (X4) Radio X4


Object Number: 2180227  Size: CH

Connector Part Information

  • OEM:
  • Service:
  • Description:

Terminal Part Information

  • Terminal/Tray:
  • Core/Insulation Crimp:
  • Release Tool/Test Probe:

A11 (X4) Radio X4

Pin

Wire

Circuit

Function

    
    
    
    
Figure 5:

A11 (X8) Radio X8


Object Number: 2179750  Size: CH

Connector Part Information

  • OEM:
  • Service:
  • Description:

Terminal Part Information

  • Terminal/Tray:
  • Core/Insulation Crimp:
  • Release Tool/Test Probe:

A11 (X8) Radio X8

Pin

Wire

Circuit

Function

    
    
    
    
Figure 6:

A12 (X1) Digital Radio Receiver Control Module X1


Object Number: 2180223  Size: CH

Connector Part Information

  • OEM:
  • Service:
  • Description:

Terminal Part Information

  • Terminal/Tray:
  • Core/Insulation Crimp:
  • Release Tool/Test Probe:

A12 (X1) Digital Radio Receiver Control Module X1

Pin

Wire

Circuit

Function

    
    
    
    
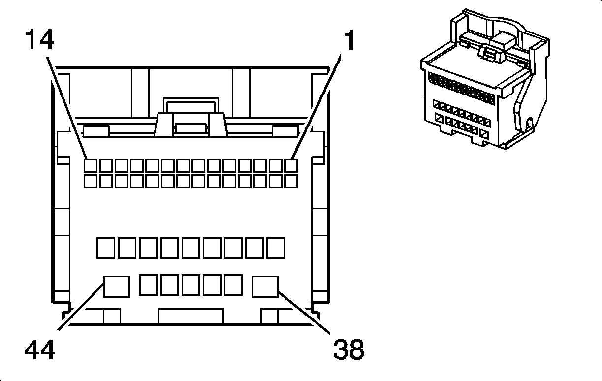
Figure 7:

A22 Radio Control (UAG)


Object Number: 1697500  Size: CH

Connector Part Information

  • OEM:
  • Service:
  • Description:

Terminal Part Information

  • Terminal/Tray:
  • Core/Insulation Crimp:
  • Release Tool/Test Probe:

A22 Radio Control (UAG)

Pin

Wire

Circuit

Function

    
    
    
    
Figure 8:

A22 Radio Control (CID)


Object Number: 2180202  Size: CH

Connector Part Information

  • OEM:
  • Service:
  • Description:

Terminal Part Information

  • Terminal/Tray:
  • Core/Insulation Crimp:
  • Release Tool/Test Probe:

A22 Radio Control (CID)

Pin

Wire

Circuit

Function

    
    
    
    
Figure 9:

A23C Door Latch Assembly - Liftgate


Object Number: 2179791  Size: CH

Connector Part Information

  • OEM:
  • Service:
  • Description:

Terminal Part Information

  • Terminal/Tray:
  • Core/Insulation Crimp:
  • Release Tool/Test Probe:

A23C Door Latch Assembly - Liftgate

Pin

Wire

Circuit

Function

    
    
    
    
Figure 10:

A23D Door Latch Assembly - Driver


Object Number: 2173899  Size: CH

Connector Part Information

  • OEM:
  • Service:
  • Description:

Terminal Part Information

  • Terminal/Tray:
  • Core/Insulation Crimp:
  • Release Tool/Test Probe:

A23D Door Latch Assembly - Driver

Pin

Wire

Circuit

Function

    
    
    
    
Figure 11:

A23LR Door Latch Assembly - Left Rear


Object Number: 2173899  Size: CH

Connector Part Information

  • OEM:
  • Service:
  • Description:

Terminal Part Information

  • Terminal/Tray:
  • Core/Insulation Crimp:
  • Release Tool/Test Probe:

A23LR Door Latch Assembly - Left Rear

Pin

Wire

Circuit

Function

    
    
    
    
Figure 12:

A23P Door Latch Assembly - Passenger


Object Number: 2173899  Size: CH

Connector Part Information

  • OEM:
  • Service:
  • Description:

Terminal Part Information

  • Terminal/Tray:
  • Core/Insulation Crimp:
  • Release Tool/Test Probe:

A23P Door Latch Assembly - Passenger

Pin

Wire

Circuit

Function

    
    
    
    
Figure 13:

A23RR Door Latch Assembly - Right Rear


Object Number: 2173899  Size: CH

Connector Part Information

  • OEM:
  • Service:
  • Description:

Terminal Part Information

  • Terminal/Tray:
  • Core/Insulation Crimp:
  • Release Tool/Test Probe:

A23RR Door Latch Assembly - Right Rear

Pin

Wire

Circuit

Function

    
    
    
    
Figure 14:

A26 HVAC Control


Object Number: 1697500  Size: CH

Connector Part Information

  • OEM:
  • Service:
  • Description:

Terminal Part Information

  • Terminal/Tray:
  • Core/Insulation Crimp:
  • Release Tool/Test Probe:

A26 HVAC Control

Pin

Wire

Circuit

Function

    
    
    
    
Figure 15:

A3L Sunshade - Left


Object Number: 2179758  Size: CH

Connector Part Information

  • OEM:
  • Service:
  • Description:

Terminal Part Information

  • Terminal/Tray:
  • Core/Insulation Crimp:
  • Release Tool/Test Probe:

A3L Sunshade - Left

Pin

Wire

Circuit

Function

    
    
    
    
Figure 16:

A3R Sunshade - Right


Object Number: 2179758  Size: CH

Connector Part Information

  • OEM:
  • Service:
  • Description:

Terminal Part Information

  • Terminal/Tray:
  • Core/Insulation Crimp:
  • Release Tool/Test Probe:

A3R Sunshade - Right

Pin

Wire

Circuit

Function

    
    
    
    
Figure 17:

A9A Outside Rearview Mirror - Driver


Object Number: 2180224  Size: CH

Connector Part Information

  • OEM:
  • Service:
  • Description:

Terminal Part Information

  • Terminal/Tray:
  • Core/Insulation Crimp:
  • Release Tool/Test Probe:

A9A Outside Rearview Mirror - Driver

Pin

Wire

Circuit

Function

    
    
    
    
Figure 18:

A9B Outside Rearview Mirror - Passenger


Object Number: 2180224  Size: CH

Connector Part Information

  • OEM:
  • Service:
  • Description:

Terminal Part Information

  • Terminal/Tray:
  • Core/Insulation Crimp:
  • Release Tool/Test Probe:

A9B Outside Rearview Mirror - Passenger

Pin

Wire

Circuit

Function

    
    
    
    
Figure 19:

B1 A/C Refrigerant Pressure Sensor


Object Number: 2179783  Size: CH

Connector Part Information

  • OEM:
  • Service:
  • Description:

Terminal Part Information

  • Terminal/Tray:
  • Core/Insulation Crimp:
  • Release Tool/Test Probe:

B1 A/C Refrigerant Pressure Sensor

Pin

Wire

Circuit

Function

    
    
    
    
Figure 20:

B107 Accelerator Pedal Position Sensor


Object Number: 2173601  Size: CH

Connector Part Information

  • OEM:
  • Service:
  • Description:

Terminal Part Information

  • Terminal/Tray:
  • Core/Insulation Crimp:
  • Release Tool/Test Probe:

B107 Accelerator Pedal Position Sensor

Pin

Wire

Circuit

Function

    
    
    
    
Figure 21:

B108 Air Quality Sensor


Object Number: 2173551  Size: CH

Connector Part Information

  • OEM:
  • Service:
  • Description:

Terminal Part Information

  • Terminal/Tray:
  • Core/Insulation Crimp:
  • Release Tool/Test Probe:

B108 Air Quality Sensor

Pin

Wire

Circuit

Function

    
    
    
    
Figure 22:

B10B Light/Sunload Sensor - Ambient


Object Number: 2173602  Size: CH

Connector Part Information

  • OEM:
  • Service:
  • Description:

Terminal Part Information

  • Terminal/Tray:
  • Core/Insulation Crimp:
  • Release Tool/Test Probe:

B10B Light/Sunload Sensor - Ambient

Pin

Wire

Circuit

Function

    
    
    
    
Figure 23:

B117 Rain Sensor


Object Number: 2173553  Size: CH

Connector Part Information

  • OEM:
  • Service:
  • Description:

Terminal Part Information

  • Terminal/Tray:
  • Core/Insulation Crimp:
  • Release Tool/Test Probe:

B117 Rain Sensor

Pin

Wire

Circuit

Function

    
    
    
    
Figure 24:

B118B Windshield Washer Fluid Level Switch


Object Number: 2179756  Size: CH

Connector Part Information

  • OEM:
  • Service:
  • Description:

Terminal Part Information

  • Terminal/Tray:
  • Core/Insulation Crimp:
  • Release Tool/Test Probe:

B118B Windshield Washer Fluid Level Switch

Pin

Wire

Circuit

Function

    
    
    
    
Figure 25:

B159L (X1) Glass Breakage Sensor - Left X1


Object Number: 2179747  Size: CH

Connector Part Information

  • OEM:
  • Service:
  • Description:

Terminal Part Information

  • Terminal/Tray:
  • Core/Insulation Crimp:
  • Release Tool/Test Probe:

B159L (X1) Glass Breakage Sensor - Left X1

Pin

Wire

Circuit

Function

    
    
    
    
Figure 26:

B159L (X2) Glass Breakage Sensor - Left X2


Object Number: 2179747  Size: CH

Connector Part Information

  • OEM:
  • Service:
  • Description:

Terminal Part Information

  • Terminal/Tray:
  • Core/Insulation Crimp:
  • Release Tool/Test Probe:

B159L (X2) Glass Breakage Sensor - Left X2

Pin

Wire

Circuit

Function

    
    
    
    
Figure 27:

B159R (X1) Glass Breakage Sensor - Right X1


Object Number: 2179747  Size: CH

Connector Part Information

  • OEM:
  • Service:
  • Description:

Terminal Part Information

  • Terminal/Tray:
  • Core/Insulation Crimp:
  • Release Tool/Test Probe:

B159R (X1) Glass Breakage Sensor - Right X1

Pin

Wire

Circuit

Function

    
    
    
    
Figure 28:

B159R (X2) Glass Breakage Sensor - Right X2


Object Number: 2179747  Size: CH

Connector Part Information

  • OEM:
  • Service:
  • Description:

Terminal Part Information

  • Terminal/Tray:
  • Core/Insulation Crimp:
  • Release Tool/Test Probe:

B159R (X2) Glass Breakage Sensor - Right X2

Pin

Wire

Circuit

Function

    
    
    
    
Figure 29:

B16 Backup Lamp Switch


Object Number: 1243632  Size: CH

Connector Part Information

  • OEM:
  • Service:
  • Description:

Terminal Part Information

  • Terminal/Tray:
  • Core/Insulation Crimp:
  • Release Tool/Test Probe:

B16 Backup Lamp Switch

Pin

Wire

Circuit

Function

    
    
    
    
Figure 30:

B160 Windshield Temperature and Inside Moisture Sensor


Object Number: 2173602  Size: CH

Connector Part Information

  • OEM:
  • Service:
  • Description:

Terminal Part Information

  • Terminal/Tray:
  • Core/Insulation Crimp:
  • Release Tool/Test Probe:

B160 Windshield Temperature and Inside Moisture Sensor

Pin

Wire

Circuit

Function

    
    
    
    
Figure 31:

B161LF Vertical Wheel Acceleration Sensor - Left Front


Object Number: 2180208  Size: CH

Connector Part Information

  • OEM:
  • Service:
  • Description:

Terminal Part Information

  • Terminal/Tray:
  • Core/Insulation Crimp:
  • Release Tool/Test Probe:

B161LF Vertical Wheel Acceleration Sensor - Left Front

Pin

Wire

Circuit

Function

    
    
    
    
Figure 32:

B161RF Vertical Wheel Acceleration Sensor - Right Front


Object Number: 2180208  Size: CH

Connector Part Information

  • OEM:
  • Service:
  • Description:

Terminal Part Information

  • Terminal/Tray:
  • Core/Insulation Crimp:
  • Release Tool/Test Probe:

B161RF Vertical Wheel Acceleration Sensor - Right Frontt

Pin

Wire

Circuit

Function

    
    
    
    
Figure 33:

B162LF Vertical Body Acceleration Sensor - Left Front


Object Number: 1914850  Size: CH

Connector Part Information

  • OEM:
  • Service:
  • Description:

Terminal Part Information

  • Terminal/Tray:
  • Core/Insulation Crimp:
  • Release Tool/Test Probe:

B162LF Vertical Body Acceleration Sensor - Left Front

Pin

Wire

Circuit

Function

    
    
    
    
Figure 34:

B162R Vertical Body Acceleration Sensor - Rear


Object Number: 1331443  Size: CH

Connector Part Information

  • OEM:
  • Service:
  • Description:

Terminal Part Information

  • Terminal/Tray:
  • Core/Insulation Crimp:
  • Release Tool/Test Probe:

B162R Vertical Body Acceleration Sensor - Rear

Pin

Wire

Circuit

Function

    
    
    
    
Figure 35:

B162RF Vertical Body Acceleration Sensor - Right Front


Object Number: 1914850  Size: CH

Connector Part Information

  • OEM:
  • Service:
  • Description:

Terminal Part Information

  • Terminal/Tray:
  • Core/Insulation Crimp:
  • Release Tool/Test Probe:

B162RF Vertical Body Acceleration Sensor - Right Front

Pin

Wire

Circuit

Function

    
    
    
    
Figure 36:

B163B Trailer Attached Switch 2


Object Number: 1664608  Size: CH

Connector Part Information

  • OEM:
  • Service:
  • Description:

Terminal Part Information

  • Terminal/Tray:
  • Core/Insulation Crimp:
  • Release Tool/Test Probe:

B163B Trailer Attached Switch 2

Pin

Wire

Circuit

Function

    
    
    
    
Figure 37:

B20 Brake Fluid Level Switch


Object Number: 2039635  Size: CH

Connector Part Information

  • OEM:
  • Service:
  • Description:

Terminal Part Information

  • Terminal/Tray:
  • Core/Insulation Crimp:
  • Release Tool/Test Probe:

B20 Brake Fluid Level Switch

Pin

Wire

Circuit

Function

    
    
    
    
Figure 38:

B22 Brake Pedal Position Sensor


Object Number: 1243663  Size: CH

Connector Part Information

  • OEM:
  • Service:
  • Description:

Terminal Part Information

  • Terminal/Tray:
  • Core/Insulation Crimp:
  • Release Tool/Test Probe:

B22 Brake Pedal Position Sensor

Pin

Wire

Circuit

Function

    
    
    
    
Figure 39:

B27D Door Handle Switch - Driver


Object Number: 1664592  Size: CH

Connector Part Information

  • OEM:
  • Service:
  • Description:

Terminal Part Information

  • Terminal/Tray:
  • Core/Insulation Crimp:
  • Release Tool/Test Probe:

B27D Door Handle Switch - Driver

Pin

Wire

Circuit

Function

    
    
    
    
Figure 40:

B27LR Door Handle Switch - Left Rear


Object Number: 1664592  Size: CH

Connector Part Information

  • OEM:
  • Service:
  • Description:

Terminal Part Information

  • Terminal/Tray:
  • Core/Insulation Crimp:
  • Release Tool/Test Probe:

B27LR Door Handle Switch - Left Rear

Pin

Wire

Circuit

Function

    
    
    
    
Figure 41:

B27P Door Handle Switch - Passenger


Object Number: 1664592  Size: CH

Connector Part Information

  • OEM:
  • Service:
  • Description:

Terminal Part Information

  • Terminal/Tray:
  • Core/Insulation Crimp:
  • Release Tool/Test Probe:

B27P Door Handle Switch - Passenger

Pin

Wire

Circuit

Function

    
    
    
    
Figure 42:

B27RR Door Handle Switch - Right Rear


Object Number: 1664592  Size: CH

Connector Part Information

  • OEM:
  • Service:
  • Description:

Terminal Part Information

  • Terminal/Tray:
  • Core/Insulation Crimp:
  • Release Tool/Test Probe:

B27RR Door Handle Switch - Right Rear

Pin

Wire

Circuit

Function

    
    
    
    
Figure 43:

B33 Engine Coolant Level Switch


Object Number: 1898384  Size: CH

Connector Part Information

  • OEM:
  • Service:
  • Description:

Terminal Part Information

  • Terminal/Tray:
  • Core/Insulation Crimp:
  • Release Tool/Test Probe:

B33 Engine Coolant Level Switch

Pin

Wire

Circuit

Function

    
    
    
    
Figure 44:

B37 Engine Oil Pressure Switch


Object Number: 516595  Size: CH

Connector Part Information

  • OEM:
  • Service:
  • Description:

Terminal Part Information

  • Terminal/Tray:
  • Core/Insulation Crimp:
  • Release Tool/Test Probe:

B37 Engine Oil Pressure Switch

Pin

Wire

Circuit

Function

    
    
    
    
Figure 45:

B51F Headlamp Leveling Sensor - Front


Object Number: 2179784  Size: CH

Connector Part Information

  • OEM:
  • Service:
  • Description:

Terminal Part Information

  • Terminal/Tray:
  • Core/Insulation Crimp:
  • Release Tool/Test Probe:

B51F Headlamp Leveling Sensor - Front

Pin

Wire

Circuit

Function

    
    
    
    
Figure 46:

B51R Headlamp Leveling Sensor - Rear


Object Number: 2179784  Size: CH

Connector Part Information

  • OEM:
  • Service:
  • Description:

Terminal Part Information

  • Terminal/Tray:
  • Core/Insulation Crimp:
  • Release Tool/Test Probe:

B51R Headlamp Leveling Sensor - Rear

Pin

Wire

Circuit

Function

    
    
    
    
Figure 47:

B59L Front Impact Sensor - Left


Object Number: 2179784  Size: CH

Connector Part Information

  • OEM:
  • Service:
  • Description:

Terminal Part Information

  • Terminal/Tray:
  • Core/Insulation Crimp:
  • Release Tool/Test Probe:

B59L Front Impact Sensor - Left

Pin

Wire

Circuit

Function

    
    
    
    
Figure 48:

B5LF Wheel Speed Sensor - Left Front


Object Number: 2180208  Size: CH

Connector Part Information

  • OEM:
  • Service:
  • Description:

Terminal Part Information

  • Terminal/Tray:
  • Core/Insulation Crimp:
  • Release Tool/Test Probe:

B5LF Wheel Speed Sensor - Left Front

Pin

Wire

Circuit

Function

    
    
    
    
Figure 49:

B5RF Wheel Speed Sensor - Right Front


Object Number: 2180208  Size: CH

Connector Part Information

  • OEM:
  • Service:
  • Description:

Terminal Part Information

  • Terminal/Tray:
  • Core/Insulation Crimp:
  • Release Tool/Test Probe:

B5RF Wheel Speed Sensor - Right Front

Pin

Wire

Circuit

Function

    
    
    
    
Figure 50:

B60 Passenger Presence Detection Sensor


Object Number: 2179775  Size: CH

Connector Part Information

  • OEM:
  • Service:
  • Description:

Terminal Part Information

  • Terminal/Tray:
  • Core/Insulation Crimp:
  • Release Tool/Test Probe:

B60 Passenger Presence Detection Sensor

Pin

Wire

Circuit

Function

    
    
    
    
Figure 51:

B63LF Side Impact Sensor - Left Front


Object Number: 1664592  Size: CH

Connector Part Information

  • OEM:
  • Service:
  • Description:

Terminal Part Information

  • Terminal/Tray:
  • Core/Insulation Crimp:
  • Release Tool/Test Probe:

B63LF Side Impact Sensor - Left Front

Pin

Wire

Circuit

Function

    
    
    
    
Figure 52:

B63RF Side Impact Sensor - Right Front


Object Number: 1664592  Size: CH

Connector Part Information

  • OEM:
  • Service:
  • Description:

Terminal Part Information

  • Terminal/Tray:
  • Core/Insulation Crimp:
  • Release Tool/Test Probe:

B63RF Side Impact Sensor - Right Front

Pin

Wire

Circuit

Function

    
    
    
    
Figure 53:

B68 Knock Sensor


Object Number: 684799  Size: CH

Connector Part Information

  • OEM:
  • Service:
  • Description:

Terminal Part Information

  • Terminal/Tray:
  • Core/Insulation Crimp:
  • Release Tool/Test Probe:

B68 Knock Sensor

Pin

Wire

Circuit

Function

    
    
    
    
Figure 54:

B78E Rear Object Sensor - Left Middle


Object Number: 1664596  Size: CH

Connector Part Information

  • OEM:
  • Service:
  • Description:

Terminal Part Information

  • Terminal/Tray:
  • Core/Insulation Crimp:
  • Release Tool/Test Probe:

B78E Rear Object Sensor - Left Middle

Pin

Wire

Circuit

Function

    
    
    
    
Figure 55:

B78F Rear Object Sensor - Right Middle


Object Number: 1664596  Size: CH

Connector Part Information

  • OEM:
  • Service:
  • Description:

Terminal Part Information

  • Terminal/Tray:
  • Core/Insulation Crimp:
  • Release Tool/Test Probe:

B78F Rear Object Sensor - Right Middle

Pin

Wire

Circuit

Function

    
    
    
    
Figure 56:

B78G Rear Object Sensor - Left Outer


Object Number: 1664596  Size: CH

Connector Part Information

  • OEM:
  • Service:
  • Description:

Terminal Part Information

  • Terminal/Tray:
  • Core/Insulation Crimp:
  • Release Tool/Test Probe:

B78G Rear Object Sensor - Left Outer

Pin

Wire

Circuit

Function

    
    
    
    
Figure 57:

B78H Rear Object Sensor - Right Outer


Object Number: 1664596  Size: CH

Connector Part Information

  • OEM:
  • Service:
  • Description:

Terminal Part Information

  • Terminal/Tray:
  • Core/Insulation Crimp:
  • Release Tool/Test Probe:

B78H Rear Object Sensor - Right Outer

Pin

Wire

Circuit

Function

    
    
    
    
Figure 58:

B80 Park Brake Switch


Object Number: 439818  Size: CH

Connector Part Information

  • OEM:
  • Service:
  • Description:

Terminal Part Information

  • Terminal/Tray:
  • Core/Insulation Crimp:
  • Release Tool/Test Probe:

B80 Park Brake Switch

Pin

Wire

Circuit

Function

    
    
    
    
Figure 59:

B88D Seat Belt Switch - Driver


Object Number: 2173586  Size: CH

Connector Part Information

  • OEM:
  • Service:
  • Description:

Terminal Part Information

  • Terminal/Tray:
  • Core/Insulation Crimp:
  • Release Tool/Test Probe:

B88D Seat Belt Switch - Driver

Pin

Wire

Circuit

Function

    
    
    
    
Figure 60:

B88LR Seat Belt Switch - Left Rear


Object Number: 2173586  Size: CH

Connector Part Information

  • OEM:
  • Service:
  • Description:

Terminal Part Information

  • Terminal/Tray:
  • Core/Insulation Crimp:
  • Release Tool/Test Probe:

B88LR Seat Belt Switch - Left Rear

Pin

Wire

Circuit

Function

    
    
    
    
Figure 61:

B88MR Seat Belt Switch - Middle Rear


Object Number: 2173586  Size: CH

Connector Part Information

  • OEM:
  • Service:
  • Description:

Terminal Part Information

  • Terminal/Tray:
  • Core/Insulation Crimp:
  • Release Tool/Test Probe:

B88MR Seat Belt Switch - Middle Rear

Pin

Wire

Circuit

Function

    
    
    
    
Figure 62:

B88P Seat Belt Switch - Passenger


Object Number: 2173586  Size: CH

Connector Part Information

  • OEM:
  • Service:
  • Description:

Terminal Part Information

  • Terminal/Tray:
  • Core/Insulation Crimp:
  • Release Tool/Test Probe:

B88P Seat Belt Switch - Passenger

Pin

Wire

Circuit

Function

    
    
    
    
Figure 63:

B88RR Seat Belt Switch - Right Rear


Object Number: 2173586  Size: CH

Connector Part Information

  • OEM:
  • Service:
  • Description:

Terminal Part Information

  • Terminal/Tray:
  • Core/Insulation Crimp:
  • Release Tool/Test Probe:

B88RR Seat Belt Switch - Right Rear

Pin

Wire

Circuit

Function

    
    
    
    
Figure 64:

B9 Air Temperature Sensor - Ambient


Object Number: 1243632  Size: CH

Connector Part Information

  • OEM:
  • Service:
  • Description:

Terminal Part Information

  • Terminal/Tray:
  • Core/Insulation Crimp:
  • Release Tool/Test Probe:

B9 Air Temperature Sensor - Ambient

Pin

Wire

Circuit

Function

    
    
    
    
Figure 65:

B99 Steering Position Sensor


Object Number: 1862024  Size: CH

Connector Part Information

  • OEM:
  • Service:
  • Description:

Terminal Part Information

  • Terminal/Tray:
  • Core/Insulation Crimp:
  • Release Tool/Test Probe:

B99 Steering Position Sensor

Pin

Wire

Circuit

Function

    
    
    
    
Figure 66:

E18 (X1) Rear Defogger Grid X1


Object Number: 696936  Size: CH

Connector Part Information

  • OEM:
  • Service:
  • Description:

Terminal Part Information

  • Terminal/Tray:
  • Core/Insulation Crimp:
  • Release Tool/Test Probe:

E18 (X1) Rear Defogger Grid X1

Pin

Wire

Circuit

Function

    
    
    
    
Figure 67:

E18 (X2) Rear Defogger Grid X2


Object Number: 696936  Size: CH

Connector Part Information

  • OEM:
  • Service:
  • Description:

Terminal Part Information

  • Terminal/Tray:
  • Core/Insulation Crimp:
  • Release Tool/Test Probe:

E18 (X2) Rear Defogger Grid X2

Pin

Wire

Circuit

Function

    
    
    
    
Figure 68:

E18 (X3) Rear Defogger Grid X3


Object Number: 696936  Size: CH

Connector Part Information

  • OEM:
  • Service:
  • Description:

Terminal Part Information

  • Terminal/Tray:
  • Core/Insulation Crimp:
  • Release Tool/Test Probe:

E18 (X3) Rear Defogger Grid X3

Pin

Wire

Circuit

Function

    
    
    
    
Figure 69:

E18 (X4) Rear Defogger Grid X4


Object Number: 696936  Size: CH

Connector Part Information

  • OEM:
  • Service:
  • Description:

Terminal Part Information

  • Terminal/Tray:
  • Core/Insulation Crimp:
  • Release Tool/Test Probe:

E18 (X4) Rear Defogger Grid X4

Pin

Wire

Circuit

Function

    
    
    
    
Figure 70:

E1A Accent Lamp - Driver Seat


Object Number: 1282874  Size: CH

Connector Part Information

  • OEM:
  • Service:
  • Description:

Terminal Part Information

  • Terminal/Tray:
  • Core/Insulation Crimp:
  • Release Tool/Test Probe:

E1A Accent Lamp - Driver Seat

Pin

Wire

Circuit

Function

    
    
    
    
Figure 71:

E1B Accent Lamp - Passenger Seat


Object Number: 1282874  Size: CH

Connector Part Information

  • OEM:
  • Service:
  • Description:

Terminal Part Information

  • Terminal/Tray:
  • Core/Insulation Crimp:
  • Release Tool/Test Probe:

E1B Accent Lamp - Passenger Seat

Pin

Wire

Circuit

Function

    
    
    
    
Figure 72:

E1C Accent Lamp - Driver Door Handle


Object Number: 1282874  Size: CH

Connector Part Information

  • OEM:
  • Service:
  • Description:

Terminal Part Information

  • Terminal/Tray:
  • Core/Insulation Crimp:
  • Release Tool/Test Probe:

E1C Accent Lamp - Driver Door Handle

Pin

Wire

Circuit

Function

    
    
    
    
Figure 73:

E1D Accent Lamp - Driver Door


Object Number: 1974969  Size: CH

Connector Part Information

  • OEM:
  • Service:
  • Description:

Terminal Part Information

  • Terminal/Tray:
  • Core/Insulation Crimp:
  • Release Tool/Test Probe:

E1D Accent Lamp - Driver Door

Pin

Wire

Circuit

Function

    
    
    
    
Figure 74:

E1J Accent Lamp - Left Lower I/P


Object Number: 1282874  Size: CH

Connector Part Information

  • OEM:
  • Service:
  • Description:

Terminal Part Information

  • Terminal/Tray:
  • Core/Insulation Crimp:
  • Release Tool/Test Probe:

E1J Accent Lamp - Left Lower I/P

Pin

Wire

Circuit

Function

    
    
    
    
Figure 75:

E1K Accent Lamp - Right Lower I/P


Object Number: 1282874  Size: CH

Connector Part Information

  • OEM:
  • Service:
  • Description:

Terminal Part Information

  • Terminal/Tray:
  • Core/Insulation Crimp:
  • Release Tool/Test Probe:

E1K Accent Lamp - Right Lower I/P

Pin

Wire

Circuit

Function

    
    
    
    
Figure 76:

E1M Accent Lamp - Passenger Door Handle


Object Number: 1282874  Size: CH

Connector Part Information

  • OEM:
  • Service:
  • Description:

Terminal Part Information

  • Terminal/Tray:
  • Core/Insulation Crimp:
  • Release Tool/Test Probe:

E1M Accent Lamp - Passenger Door Handle

Pin

Wire

Circuit

Function

    
    
    
    
Figure 77:

E1P Accent Light - Passenger Door


Object Number: 1974969  Size: CH

Connector Part Information

  • OEM:
  • Service:
  • Description:

Terminal Part Information

  • Terminal/Tray:
  • Core/Insulation Crimp:
  • Release Tool/Test Probe:

E1P Accent Light - Passenger Door

Pin

Wire

Circuit

Function

    
    
    
    
Figure 78:

E27 Instrument Panel Compartment Lamp


Object Number: 1282874  Size: CH

Connector Part Information

  • OEM:
  • Service:
  • Description:

Terminal Part Information

  • Terminal/Tray:
  • Core/Insulation Crimp:
  • Release Tool/Test Probe:

E27 Instrument Panel Compartment Lamp

Pin

Wire

Circuit

Function

    
    
    
    
Figure 79:

E29LF Fog Lamp - Left Front


Object Number: 1413064  Size: CH

Connector Part Information

  • OEM:
  • Service:
  • Description:

Terminal Part Information

  • Terminal/Tray:
  • Core/Insulation Crimp:
  • Release Tool/Test Probe:

E29LF Fog Lamp - Left Front

Pin

Wire

Circuit

Function

    
    
    
    
Figure 80:

E29RF Fog Lamp - Right Front


Object Number: 1413064  Size: CH

Connector Part Information

  • OEM:
  • Service:
  • Description:

Terminal Part Information

  • Terminal/Tray:
  • Core/Insulation Crimp:
  • Release Tool/Test Probe:

E29RF Fog Lamp - Right Front

Pin

Wire

Circuit

Function

    
    
    
    
Figure 81:

E37A Dome/Reading Lamps


Object Number: 2180199  Size: CH

Connector Part Information

  • OEM:
  • Service:
  • Description:

Terminal Part Information

  • Terminal/Tray:
  • Core/Insulation Crimp:
  • Release Tool/Test Probe:

E37A Dome/Reading Lamps

Pin

Wire

Circuit

Function

    
    
    
    
Figure 82:

E37B Dome/Reading Lamps - 2nd Row


Object Number: 2180199  Size: CH

Connector Part Information

  • OEM:
  • Service:
  • Description:

Terminal Part Information

  • Terminal/Tray:
  • Core/Insulation Crimp:
  • Release Tool/Test Probe:

E37B Dome/Reading Lamps - 2nd Row

Pin

Wire

Circuit

Function

    
    
    
    
Figure 83:

E40 (X1) Electrical Auxiliary Heater X1


Object Number: 872587  Size: CH

Connector Part Information

  • OEM:
  • Service:
  • Description:

Terminal Part Information

  • Terminal/Tray:
  • Core/Insulation Crimp:
  • Release Tool/Test Probe:

E40 (X1) Electrical Auxiliary Heater X1

Pin

Wire

Circuit

Function

    
    
    
    
Figure 84:

E40 (X2) Electrical Auxiliary Heater X2


Object Number: 2179761  Size: CH

Connector Part Information

  • OEM:
  • Service:
  • Description:

Terminal Part Information

  • Terminal/Tray:
  • Core/Insulation Crimp:
  • Release Tool/Test Probe:

E40 (X2) Electrical Auxiliary Heater X2

Pin

Wire

Circuit

Function

    
    
    
    
Figure 85:

E4Y Turn Signal Repeater Lamp - Left


Object Number: 2179763  Size: CH

Connector Part Information

  • OEM:
  • Service:
  • Description:

Terminal Part Information

  • Terminal/Tray:
  • Core/Insulation Crimp:
  • Release Tool/Test Probe:

E4Y Turn Signal Repeater Lamp - Left

Pin

Wire

Circuit

Function

    
    
    
    
Figure 86:

E4Z Turn Signal Repeater Lamp - Right


Object Number: 2179763  Size: CH

Connector Part Information

  • OEM:
  • Service:
  • Description:

Terminal Part Information

  • Terminal/Tray:
  • Core/Insulation Crimp:
  • Release Tool/Test Probe:

E4Z Turn Signal Repeater Lamp - Right

Pin

Wire

Circuit

Function

    
    
    
    
Figure 87:

E6 Center High Mounted Stop Lamp (HB)


Object Number: 1974969  Size: CH

Connector Part Information

  • OEM:
  • Service:
  • Description:

Terminal Part Information

  • Terminal/Tray:
  • Core/Insulation Crimp:
  • Release Tool/Test Probe:

E6 Center High Mounted Stop Lamp (HB)

Pin

Wire

Circuit

Function

    
    
    
    
Figure 88:

E6 Center High Mounted Stop Lamp (KW)


Object Number: 1869767  Size: CH

Connector Part Information

  • OEM:
  • Service:
  • Description:

Terminal Part Information

  • Terminal/Tray:
  • Core/Insulation Crimp:
  • Release Tool/Test Probe:

E6 Center High Mounted Stop Lamp (KW)

Pin

Wire

Circuit

Function

    
    
    
    
Figure 89:

E7L License Plate Lamp - Left


Object Number: 1243632  Size: CH

Connector Part Information

  • OEM:
  • Service:
  • Description:

Terminal Part Information

  • Terminal/Tray:
  • Core/Insulation Crimp:
  • Release Tool/Test Probe:

E7L License Plate Lamp - Left

Pin

Wire

Circuit

Function

    
    
    
    
Figure 90:

E7R License Plate Lamp - Right


Object Number: 1243632  Size: CH

Connector Part Information

  • OEM:
  • Service:
  • Description:

Terminal Part Information

  • Terminal/Tray:
  • Core/Insulation Crimp:
  • Release Tool/Test Probe:

E7R License Plate Lamp - Right

Pin

Wire

Circuit

Function

    
    
    
    
Figure 91:

E8S Rear Compartment Courtesy Lamp


Object Number: 1282874  Size: CH

Connector Part Information

  • OEM:
  • Service:
  • Description:

Terminal Part Information

  • Terminal/Tray:
  • Core/Insulation Crimp:
  • Release Tool/Test Probe:

E8S Rear Compartment Courtesy Lamp

Pin

Wire

Circuit

Function

    
    
    
    
Figure 92:

F105 Passenger Instrument Panel Air Bag


Object Number: 2152682  Size: CH

Connector Part Information

  • OEM:
  • Service:
  • Description:

Terminal Part Information

  • Terminal/Tray:
  • Core/Insulation Crimp:
  • Release Tool/Test Probe:

F105 Passenger Instrument Panel Air Bag

Pin

Wire

Circuit

Function

    
    
    
    
Figure 93:

F106LR Side Air Bag - Left Rear


Object Number: 2152682  Size: CH

Connector Part Information

  • OEM:
  • Service:
  • Description:

Terminal Part Information

  • Terminal/Tray:
  • Core/Insulation Crimp:
  • Release Tool/Test Probe:

F106LR Side Air Bag - Left Rear

Pin

Wire

Circuit

Function

    
    
    
    
Figure 94:

F106RR Side Air Bag - Right Rear


Object Number: 2152682  Size: CH

Connector Part Information

  • OEM:
  • Service:
  • Description:

Terminal Part Information

  • Terminal/Tray:
  • Core/Insulation Crimp:
  • Release Tool/Test Probe:

F106RR Side Air Bag - Right Rear

Pin

Wire

Circuit

Function

    
    
    
    
Figure 95:

G10 Cooling Fan Motor


Object Number: 2173572  Size: CH

Connector Part Information

  • OEM:
  • Service:
  • Description:

Terminal Part Information

  • Terminal/Tray:
  • Core/Insulation Crimp:
  • Release Tool/Test Probe:

G10 Cooling Fan Motor

Pin

Wire

Circuit

Function

    
    
    
    
Figure 96:

G10R Cooling Fan Motor - Right


Object Number: 2179786  Size: CH

Connector Part Information

  • OEM:
  • Service:
  • Description:

Terminal Part Information

  • Terminal/Tray:
  • Core/Insulation Crimp:
  • Release Tool/Test Probe:

G10R Cooling Fan Motor - Right

Pin

Wire

Circuit

Function

    
    
    
    
Figure 97:

G13 (X2) Generator X2


Object Number: 1522871  Size: CH

Connector Part Information

  • OEM:
  • Service:
  • Description:

Terminal Part Information

  • Terminal/Tray:
  • Core/Insulation Crimp:
  • Release Tool/Test Probe:

G13 (X2) Generator X2

Pin

Wire

Circuit

Function

    
    
    
    
Figure 98:

G16 Headlamp Washer Fluid Pump


Object Number: 2179769  Size: CH

Connector Part Information

  • OEM:
  • Service:
  • Description:

Terminal Part Information

  • Terminal/Tray:
  • Core/Insulation Crimp:
  • Release Tool/Test Probe:

G16 Headlamp Washer Fluid Pump

Pin

Wire

Circuit

Function

    
    
    
    
Figure 99:

G25D Seat Lumbar Adjuster Pump - Driver


Object Number: 2173553  Size: CH

Connector Part Information

  • OEM:
  • Service:
  • Description:

Terminal Part Information

  • Terminal/Tray:
  • Core/Insulation Crimp:
  • Release Tool/Test Probe:

G25D Seat Lumbar Adjuster Pump - Driver

Pin

Wire

Circuit

Function

    
    
    
    
Figure 100:

G25P Seat Lumbar Adjuster Pump - Passenger


Object Number: 2173553  Size: CH

Connector Part Information

  • OEM:
  • Service:
  • Description:

Terminal Part Information

  • Terminal/Tray:
  • Core/Insulation Crimp:
  • Release Tool/Test Probe:

G25P Seat Lumbar Adjuster Pump - Passenger

Pin

Wire

Circuit

Function

    
    
    
    
Figure 101:

K17 Electronic Brake Control Module (EBCM)


Object Number: 2180242  Size: CH

Connector Part Information

  • OEM:
  • Service:
  • Description:

Terminal Part Information

  • Terminal/Tray:
  • Core/Insulation Crimp:
  • Release Tool/Test Probe:

K17 Electronic Brake Control Module (EBCM)

Pin

Wire

Circuit

Function

    
    
    
    
Figure 102:

K19 Suspension Control Module


Object Number: 2180240  Size: CH

Connector Part Information

  • OEM:
  • Service:
  • Description:

Terminal Part Information

  • Terminal/Tray:
  • Core/Insulation Crimp:
  • Release Tool/Test Probe:

K19 Suspension Control Module

Pin

Wire

Circuit

Function

    
    
    
    
Figure 103:

K26 (X2) Headlamp Control Module X2


Object Number: 2180198  Size: CH

Connector Part Information

  • OEM:
  • Service:
  • Description:

Terminal Part Information

  • Terminal/Tray:
  • Core/Insulation Crimp:
  • Release Tool/Test Probe:

K26 (X2) Headlamp Control Module X2

Pin

Wire

Circuit

Function

    
    
    
    
Figure 104:

K27 Fuel Pump Control Module


Object Number: 1711002  Size: CH

Connector Part Information

  • OEM:
  • Service:
  • Description:

Terminal Part Information

  • Terminal/Tray:
  • Core/Insulation Crimp:
  • Release Tool/Test Probe:

K27 Fuel Pump Control Module

Pin

Wire

Circuit

Function

    
    
    
    
Figure 105:

K29 (X2) Seat Heating Control Module X2


Object Number: 1566781  Size: CH

Connector Part Information

  • OEM:
  • Service:
  • Description:

Terminal Part Information

  • Terminal/Tray:
  • Core/Insulation Crimp:
  • Release Tool/Test Probe:

K29 (X2) Seat Heating Control Module X2

Pin

Wire

Circuit

Function

    
    
    
    
Figure 106:

K29 (X3) Seat Heating Control Module X3


Object Number: 1664569  Size: CH

Connector Part Information

  • OEM:
  • Service:
  • Description:

Terminal Part Information

  • Terminal/Tray:
  • Core/Insulation Crimp:
  • Release Tool/Test Probe:

K29 (X3) Seat Heating Control Module X3

Pin

Wire

Circuit

Function

    
    
    
    
Figure 107:

K33 (X1) HVAC Control Module X1


Object Number: 2180227  Size: CH

Connector Part Information

  • OEM:
  • Service:
  • Description:

Terminal Part Information

  • Terminal/Tray:
  • Core/Insulation Crimp:
  • Release Tool/Test Probe:

K33 (X1) HVAC Control Module X1

Pin

Wire

Circuit

Function

    
    
    
    
Figure 108:

K33 (X2) HVAC Control Module X2


Object Number: 2180227  Size: CH

Connector Part Information

  • OEM:
  • Service:
  • Description:

Terminal Part Information

  • Terminal/Tray:
  • Core/Insulation Crimp:
  • Release Tool/Test Probe:

K33 (X2) HVAC Control Module X2

Pin

Wire

Circuit

Function

    
    
    
    
Figure 109:

K36 (X1) Inflatable Restraint Sensing and Diagnostic Module X1


Object Number: 2180230  Size: CH

Connector Part Information

  • OEM:
  • Service:
  • Description:

Terminal Part Information

  • Terminal/Tray:
  • Core/Insulation Crimp:
  • Release Tool/Test Probe:

K36 (X1) Inflatable Restraint Sensing and Diagnostic Module X1

Pin

Wire

Circuit

Function

    
    
    
    
Figure 110:

K36 (X2) Inflatable Restraint Sensing and Diagnostic Module X2


Object Number: 2180230  Size: CH

Connector Part Information

  • OEM:
  • Service:
  • Description:

Terminal Part Information

  • Terminal/Tray:
  • Core/Insulation Crimp:
  • Release Tool/Test Probe:

K36 (X2) Inflatable Restraint Sensing and Diagnostic Module X2

Pin

Wire

Circuit

Function

    
    
    
    
Figure 111:

K38 Ultrasonic Intrusion Sensor Module


Object Number: 2173602  Size: CH

Connector Part Information

  • OEM:
  • Service:
  • Description:

Terminal Part Information

  • Terminal/Tray:
  • Core/Insulation Crimp:
  • Release Tool/Test Probe:

K38 Ultrasonic Intrusion Sensor Module

Pin

Wire

Circuit

Function

    
    
    
    
Figure 112:

K39 (X2) Liftgate Control Module X2


Object Number: 813079  Size: CH

Connector Part Information

  • OEM:
  • Service:
  • Description:

Terminal Part Information

  • Terminal/Tray:
  • Core/Insulation Crimp:
  • Release Tool/Test Probe:

K39 (X2) Liftgate Control Module X2

Pin

Wire

Circuit

Function

    
    
    
    
Figure 113:

K40 (X3) Seat Memory Control Module X3


Object Number: 1566781  Size: CH

Connector Part Information

  • OEM:
  • Service:
  • Description:

Terminal Part Information

  • Terminal/Tray:
  • Core/Insulation Crimp:
  • Release Tool/Test Probe:

K40 (X3) Seat Memory Control Module X3

Pin

Wire

Circuit

Function

    
    
    
    
Figure 114:

K40 (X5) Seat Memory Control Module X5


Object Number: 1653389  Size: CH

Connector Part Information

  • OEM:
  • Service:
  • Description:

Terminal Part Information

  • Terminal/Tray:
  • Core/Insulation Crimp:
  • Release Tool/Test Probe:

K40 (X5) Seat Memory Control Module X5

Pin

Wire

Circuit

Function

    
    
    
    
Figure 115:

K41 (X1) Parking Assist Control Module X1


Object Number: 1653389  Size: CH

Connector Part Information

  • OEM:
  • Service:
  • Description:

Terminal Part Information

  • Terminal/Tray:
  • Core/Insulation Crimp:
  • Release Tool/Test Probe:

K41 (X1) Parking Assist Control Module X1

Pin

Wire

Circuit

Function

    
    
    
    
Figure 116:

K41 (X3) Parking Assist Control Module X3


Object Number: 1664569  Size: CH

Connector Part Information

  • OEM:
  • Service:
  • Description:

Terminal Part Information

  • Terminal/Tray:
  • Core/Insulation Crimp:
  • Release Tool/Test Probe:

K41 (X3) Parking Assist Control Module X3

Pin

Wire

Circuit

Function

    
    
    
    
Figure 117:

K43 Power Steering Control Module


Object Number: 1664575  Size: CH

Connector Part Information

  • OEM:
  • Service:
  • Description:

Terminal Part Information

  • Terminal/Tray:
  • Core/Insulation Crimp:
  • Release Tool/Test Probe:

K43 Power Steering Control Module

Pin

Wire

Circuit

Function

    
    
    
    
Figure 118:

K46 (X1) Radio Antenna Module X1


Object Number: 2173598  Size: CH

Connector Part Information

  • OEM:
  • Service:
  • Description:

Terminal Part Information

  • Terminal/Tray:
  • Core/Insulation Crimp:
  • Release Tool/Test Probe:

K46 (X1) Radio Antenna Module X1

Pin

Wire

Circuit

Function

    
    
    
    
Figure 119:

K46 (X2) Radio Antenna Module X2 (NB/KW)


Object Number: 2179750  Size: CH

Connector Part Information

  • OEM:
  • Service:
  • Description:

Terminal Part Information

  • Terminal/Tray:
  • Core/Insulation Crimp:
  • Release Tool/Test Probe:

K46 (X2) Radio Antenna Module X2 (NB/KW)

Pin

Wire

Circuit

Function

    
    
    
    
Figure 120:

K46 (X2) Radio Antenna Module X2 (HB)


Object Number: 2179752  Size: CH

Connector Part Information

  • OEM:
  • Service:
  • Description:

Terminal Part Information

  • Terminal/Tray:
  • Core/Insulation Crimp:
  • Release Tool/Test Probe:

K46 (X2) Radio Antenna Module X2 (HB)

Pin

Wire

Circuit

Function

    
    
    
    
Figure 121:

K47 (X1) Rear Differential Clutch Control Module X1


Object Number: 2180214  Size: CH

Connector Part Information

  • OEM:
  • Service:
  • Description:

Terminal Part Information

  • Terminal/Tray:
  • Core/Insulation Crimp:
  • Release Tool/Test Probe:

K47 (X1) Rear Differential Clutch Control Module X1

Pin

Wire

Circuit

Function

    
    
    
    
Figure 122:

K60 Steering Column Lock Control Module


Object Number: 2173871  Size: CH

Connector Part Information

  • OEM:
  • Service:
  • Description:

Terminal Part Information

  • Terminal/Tray:
  • Core/Insulation Crimp:
  • Release Tool/Test Probe:

K60 Steering Column Lock Control Module

Pin

Wire

Circuit

Function

    
    
    
    
Figure 123:

K61 Sunroof Control Module


Object Number: 2173946  Size: CH

Connector Part Information

  • OEM:
  • Service:
  • Description:

Terminal Part Information

  • Terminal/Tray:
  • Core/Insulation Crimp:
  • Release Tool/Test Probe:

K61 Sunroof Control Module

Pin

Wire

Circuit

Function

    
    
    
    
Figure 124:

K62 Sunroof Sunshade Motor Module


Object Number: 2173946  Size: CH

Connector Part Information

  • OEM:
  • Service:
  • Description:

Terminal Part Information

  • Terminal/Tray:
  • Core/Insulation Crimp:
  • Release Tool/Test Probe:

K62 Sunroof Sunshade Motor Module

Pin

Wire

Circuit

Function

    
    
    
    
Figure 125:

K64 Theft Deterrent Module (TDM)


Object Number: 2179789  Size: CH

Connector Part Information

  • OEM:
  • Service:
  • Description:

Terminal Part Information

  • Terminal/Tray:
  • Core/Insulation Crimp:
  • Release Tool/Test Probe:

K64 Theft Deterrent Module (TDM)

Pin

Wire

Circuit

Function

    
    
    
    
Figure 126:

K65 Tire Pressure Indicator Module


Object Number: 2179790  Size: CH

Connector Part Information

  • OEM:
  • Service:
  • Description:

Terminal Part Information

  • Terminal/Tray:
  • Core/Insulation Crimp:
  • Release Tool/Test Probe:

K65 Tire Pressure Indicator Module

Pin

Wire

Circuit

Function

    
    
    
    
Figure 127:

K68 (X2) Trailer Lighting Converter X2


Object Number: 2179787  Size: CH

Connector Part Information

  • OEM:
  • Service:
  • Description:

Terminal Part Information

  • Terminal/Tray:
  • Core/Insulation Crimp:
  • Release Tool/Test Probe:

K68 (X2) Trailer Lighting Converter X2

Pin

Wire

Circuit

Function

    
    
    
    
Figure 128:

K74 Vehicle Direction Camera Control Module


Object Number: 1862241  Size: CH

Connector Part Information

  • OEM:
  • Service:
  • Description:

Terminal Part Information

  • Terminal/Tray:
  • Core/Insulation Crimp:
  • Release Tool/Test Probe:

K74 Vehicle Direction Camera Control Module

Pin

Wire

Circuit

Function

    
    
    
    
Figure 129:

K77 (X1) Remote Control Door Lock Receiver X1


Object Number: 1715223  Size: CH

Connector Part Information

  • OEM:
  • Service:
  • Description:

Terminal Part Information

  • Terminal/Tray:
  • Core/Insulation Crimp:
  • Release Tool/Test Probe:

K77 (X1) Remote Control Door Lock Receiver X1

Pin

Wire

Circuit

Function

    
    
    
    
Figure 130:

K77 (X2) Remote Control Door Lock Receiver X2


Object Number: 1798802  Size: CH

Connector Part Information

  • OEM:
  • Service:
  • Description:

Terminal Part Information

  • Terminal/Tray:
  • Core/Insulation Crimp:
  • Release Tool/Test Probe:

K77 (X2) Remote Control Door Lock Receiver X2

Pin

Wire

Circuit

Function

    
    
    
    
Figure 131:

K77 (X4) Remote Control Door Lock Receiver X4


Object Number: 2180227  Size: CH

Connector Part Information

  • OEM:
  • Service:
  • Description:

Terminal Part Information

  • Terminal/Tray:
  • Core/Insulation Crimp:
  • Release Tool/Test Probe:

K77 (X4) Remote Control Door Lock Receiver X4

Pin

Wire

Circuit

Function

    
    
    
    
Figure 132:

K8 (X2) Blower Motor Control Module X2


Object Number: 1798802  Size: CH

Connector Part Information

  • OEM:
  • Service:
  • Description:

Terminal Part Information

  • Terminal/Tray:
  • Core/Insulation Crimp:
  • Release Tool/Test Probe:

K8 (X2) Blower Motor Control Module X2

Pin

Wire

Circuit

Function

    
    
    
    
Figure 133:

K80 (X1) Heated Washer Nozzle Module X1


Object Number: 2180413  Size: CH

Connector Part Information

  • OEM:
  • Service:
  • Description:

Terminal Part Information

  • Terminal/Tray:
  • Core/Insulation Crimp:
  • Release Tool/Test Probe:

K80 (X1) Heated Washer Nozzle Module X1

Pin

Wire

Circuit

Function

    
    
    
    
Figure 134:

K82 (X1) Mobile Telephone Control Module X1


Object Number: 2180223  Size: CH

Connector Part Information

  • OEM:
  • Service:
  • Description:

Terminal Part Information

  • Terminal/Tray:
  • Core/Insulation Crimp:
  • Release Tool/Test Probe:

K82 (X1) Mobile Telephone Control Module X1

Pin

Wire

Circuit

Function

    
    
    
    
Figure 135:

K83 Parking Brake Control Module


Object Number: 2180225  Size: CH

Connector Part Information

  • OEM:
  • Service:
  • Description:

Terminal Part Information

  • Terminal/Tray:
  • Core/Insulation Crimp:
  • Release Tool/Test Probe:

K83 Parking Brake Control Module

Pin

Wire

Circuit

Function

    
    
    
    
Figure 136:

K84 Remote Function Receiver Module


Object Number: 872587  Size: CH

Connector Part Information

  • OEM:
  • Service:
  • Description:

Terminal Part Information

  • Terminal/Tray:
  • Core/Insulation Crimp:
  • Release Tool/Test Probe:

K84 Remote Function Receiver Module

Pin

Wire

Circuit

Function

    
    
    
    
Figure 137:

K9 (X1) Body Control Module X1


Object Number: 2180233  Size: CH

Connector Part Information

  • OEM:
  • Service:
  • Description:

Terminal Part Information

  • Terminal/Tray:
  • Core/Insulation Crimp:
  • Release Tool/Test Probe:

K9 (X1) Body Control Module X1

Pin

Wire

Circuit

Function

    
    
    
    
Figure 138:

K9 (X2) Body Control Module X2


Object Number: 2180237  Size: CH

Connector Part Information

  • OEM:
  • Service:
  • Description:

Terminal Part Information

  • Terminal/Tray:
  • Core/Insulation Crimp:
  • Release Tool/Test Probe:

K9 (X2) Body Control Module X2

Pin

Wire

Circuit

Function

    
    
    
    
Figure 139:

K9 (X3) Body Control Module X3


Object Number: 2180231  Size: CH

Connector Part Information

  • OEM:
  • Service:
  • Description:

Terminal Part Information

  • Terminal/Tray:
  • Core/Insulation Crimp:
  • Release Tool/Test Probe:

K9 (X3) Body Control Module X3

Pin

Wire

Circuit

Function

    
    
    
    
Figure 140:

K9 (X4) Body Control Module X4


Object Number: 2180234  Size: CH

Connector Part Information

  • OEM:
  • Service:
  • Description:

Terminal Part Information

  • Terminal/Tray:
  • Core/Insulation Crimp:
  • Release Tool/Test Probe:

K9 (X4) Body Control Module X4

Pin

Wire

Circuit

Function

    
    
    
    
Figure 141:

K9 (X5) Body Control Module X5


Object Number: 2180235  Size: CH

Connector Part Information

  • OEM:
  • Service:
  • Description:

Terminal Part Information

  • Terminal/Tray:
  • Core/Insulation Crimp:
  • Release Tool/Test Probe:

K9 (X5) Body Control Module X5

Pin

Wire

Circuit

Function

    
    
    
    
Figure 142:

K9 (X6) Body Control Module X6


Object Number: 2180239  Size: CH

Connector Part Information

  • OEM:
  • Service:
  • Description:

Terminal Part Information

  • Terminal/Tray:
  • Core/Insulation Crimp:
  • Release Tool/Test Probe:

K9 (X6) Body Control Module X6

Pin

Wire

Circuit

Function

    
    
    
    
Figure 143:

K9 (X7) Body Control Module X7


Object Number: 2180236  Size: CH

Connector Part Information

  • OEM:
  • Service:
  • Description:

Terminal Part Information

  • Terminal/Tray:
  • Core/Insulation Crimp:
  • Release Tool/Test Probe:

K9 (X7) Body Control Module X7

Pin

Wire

Circuit

Function

    
    
    
    
Figure 144:

KR20E Cooling Fan Speed Control Relay


Object Number: 2180204  Size: CH

Connector Part Information

  • OEM:
  • Service:
  • Description:

Terminal Part Information

  • Terminal/Tray:
  • Core/Insulation Crimp:
  • Release Tool/Test Probe:

KR20E Cooling Fan Speed Control Relay

Pin

Wire

Circuit

Function

    
    
    
    
Figure 145:

M27 Fuel Door Unlatch Actuator


Object Number: 1898384  Size: CH

Connector Part Information

  • OEM:
  • Service:
  • Description:

Terminal Part Information

  • Terminal/Tray:
  • Core/Insulation Crimp:
  • Release Tool/Test Probe:

M27 Fuel Door Unlatch Actuator

Pin

Wire

Circuit

Function

    
    
    
    
Figure 146:

M44 Rear Window Sunshade Motor


Object Number: 2039656  Size: CH

Connector Part Information

  • OEM:
  • Service:
  • Description:

Terminal Part Information

  • Terminal/Tray:
  • Core/Insulation Crimp:
  • Release Tool/Test Probe:

M44 Rear Window Sunshade Motor

Pin

Wire

Circuit

Function

    
    
    
    
Figure 147:

M45 Rear Window Wiper Motor


Object Number: 808704  Size: CH

Connector Part Information

  • OEM:
  • Service:
  • Description:

Terminal Part Information

  • Terminal/Tray:
  • Core/Insulation Crimp:
  • Release Tool/Test Probe:

M45 Rear Window Wiper Motor

Pin

Wire

Circuit

Function

    
    
    
    
Figure 148:

M72 Variable Power Steering Solenoid Valve


Object Number: 2179762  Size: CH

Connector Part Information

  • OEM:
  • Service:
  • Description:

Terminal Part Information

  • Terminal/Tray:
  • Core/Insulation Crimp:
  • Release Tool/Test Probe:

M72 Variable Power Steering Solenoid Valve

Pin

Wire

Circuit

Function

    
    
    
    
Figure 149:

M74D Window Motor - Driver


Object Number: 2173867  Size: CH

Connector Part Information

  • OEM:
  • Service:
  • Description:

Terminal Part Information

  • Terminal/Tray:
  • Core/Insulation Crimp:
  • Release Tool/Test Probe:

M74D Window Motor - Driver

Pin

Wire

Circuit

Function

    
    
    
    
Figure 150:

M74LR Window Motor - Left Rear


Object Number: 2173867  Size: CH

Connector Part Information

  • OEM:
  • Service:
  • Description:

Terminal Part Information

  • Terminal/Tray:
  • Core/Insulation Crimp:
  • Release Tool/Test Probe:

M74LR Window Motor - Left Rear

Pin

Wire

Circuit

Function

    
    
    
    
Figure 151:

M74RR Window Motor - Right Rear


Object Number: 2173867  Size: CH

Connector Part Information

  • OEM:
  • Service:
  • Description:

Terminal Part Information

  • Terminal/Tray:
  • Core/Insulation Crimp:
  • Release Tool/Test Probe:

M74RR Window Motor - Right Rear

Pin

Wire

Circuit

Function

    
    
    
    
Figure 152:

M75 Windshield Wiper Motor


Object Number: 684908  Size: CH

Connector Part Information

  • OEM:
  • Service:
  • Description:

Terminal Part Information

  • Terminal/Tray:
  • Core/Insulation Crimp:
  • Release Tool/Test Probe:

M75 Windshield Wiper Motor

Pin

Wire

Circuit

Function

    
    
    
    
Figure 153:

P12 Horn


Object Number: 2179765  Size: CH

Connector Part Information

  • OEM:
  • Service:
  • Description:

Terminal Part Information

  • Terminal/Tray:
  • Core/Insulation Crimp:
  • Release Tool/Test Probe:

P12 Horn

Pin

Wire

Circuit

Function

    
    
    
    
Figure 154:

P16 Instrument Cluster


Object Number: 627214  Size: CH

Connector Part Information

  • OEM:
  • Service:
  • Description:

Terminal Part Information

  • Terminal/Tray:
  • Core/Insulation Crimp:
  • Release Tool/Test Probe:

P16 Instrument Cluster

Pin

Wire

Circuit

Function

    
    
    
    
Figure 155:

P19A Speaker - Center Console


Object Number: 2173586  Size: CH

Connector Part Information

  • OEM:
  • Service:
  • Description:

Terminal Part Information

  • Terminal/Tray:
  • Core/Insulation Crimp:
  • Release Tool/Test Probe:

P19A Speaker - Center Console

Pin

Wire

Circuit

Function

    
    
    
    
Figure 156:

P19AD Speaker - Left Surround


Object Number: 2179775  Size: CH

Connector Part Information

  • OEM:
  • Service:
  • Description:

Terminal Part Information

  • Terminal/Tray:
  • Core/Insulation Crimp:
  • Release Tool/Test Probe:

P19AD Speaker - Left Surround

Pin

Wire

Circuit

Function

    
    
    
    
Figure 157:

P19AE Speaker - Right Surround


Object Number: 2179775  Size: CH

Connector Part Information

  • OEM:
  • Service:
  • Description:

Terminal Part Information

  • Terminal/Tray:
  • Core/Insulation Crimp:
  • Release Tool/Test Probe:

P19AE Speaker - Right Surround

Pin

Wire

Circuit

Function

    
    
    
    
Figure 158:

P19H Speaker - Left Front Tweeter


Object Number: 2173598  Size: CH

Connector Part Information

  • OEM:
  • Service:
  • Description:

Terminal Part Information

  • Terminal/Tray:
  • Core/Insulation Crimp:
  • Release Tool/Test Probe:

P19H Speaker - Left Front Tweeter

Pin

Wire

Circuit

Function

    
    
    
    
Figure 159:

P19K Speaker - Left Rear (UQS)


Object Number: 2152681  Size: CH

Connector Part Information

  • OEM:
  • Service:
  • Description:

Terminal Part Information

  • Terminal/Tray:
  • Core/Insulation Crimp:
  • Release Tool/Test Probe:

P19K Speaker - Left Rear (UQS)

Pin

Wire

Circuit

Function

    
    
    
    
Figure 160:

P19K Speaker - Left Rear (U65)


Object Number: 2179780  Size: CH

Connector Part Information

  • OEM:
  • Service:
  • Description:

Terminal Part Information

  • Terminal/Tray:
  • Core/Insulation Crimp:
  • Release Tool/Test Probe:

P19K Speaker - Left Rear (U65)

Pin

Wire

Circuit

Function

    
    
    
    
Figure 161:

P19K Speaker - Left Rear (UW6)


Object Number: 2179782  Size: CH

Connector Part Information

  • OEM:
  • Service:
  • Description:

Terminal Part Information

  • Terminal/Tray:
  • Core/Insulation Crimp:
  • Release Tool/Test Probe:

P19K Speaker - Left Rear (UW6)

Pin

Wire

Circuit

Function

    
    
    
    
Figure 162:

P19U Speaker - Right Front (UQS)


Object Number: 2152681  Size: CH

Connector Part Information

  • OEM:
  • Service:
  • Description:

Terminal Part Information

  • Terminal/Tray:
  • Core/Insulation Crimp:
  • Release Tool/Test Probe:

P19U Speaker - Right Front (UQS)

Pin

Wire

Circuit

Function

    
    
    
    
Figure 163:

P19U Speaker - Right Front (U65)


Object Number: 2179780  Size: CH

Connector Part Information

  • OEM:
  • Service:
  • Description:

Terminal Part Information

  • Terminal/Tray:
  • Core/Insulation Crimp:
  • Release Tool/Test Probe:

P19U Speaker - Right Front (U65)

Pin

Wire

Circuit

Function

    
    
    
    
Figure 164:

P19U Speaker - Right Front (UW4)


Object Number: 2179782  Size: CH

Connector Part Information

  • OEM:
  • Service:
  • Description:

Terminal Part Information

  • Terminal/Tray:
  • Core/Insulation Crimp:
  • Release Tool/Test Probe:

P19U Speaker - Right Front (UW4)

Pin

Wire

Circuit

Function

    
    
    
    
Figure 165:

P19V Speaker - Right Front Tweeter


Object Number: 2173598  Size: CH

Connector Part Information

  • OEM:
  • Service:
  • Description:

Terminal Part Information

  • Terminal/Tray:
  • Core/Insulation Crimp:
  • Release Tool/Test Probe:

P19V Speaker - Right Front Tweeter

Pin

Wire

Circuit

Function

    
    
    
    
Figure 166:

P19X Speaker - Right Rear (UQS)


Object Number: 2152681  Size: CH

Connector Part Information

  • OEM:
  • Service:
  • Description:

Terminal Part Information

  • Terminal/Tray:
  • Core/Insulation Crimp:
  • Release Tool/Test Probe:

P19X Speaker - Right Rear (UQS)

Pin

Wire

Circuit

Function

    
    
    
    
Figure 167:

P19X Speaker - Right Rear (U65)


Object Number: 2179780  Size: CH

Connector Part Information

  • OEM:
  • Service:
  • Description:

Terminal Part Information

  • Terminal/Tray:
  • Core/Insulation Crimp:
  • Release Tool/Test Probe:

P19X Speaker - Right Rear (U65)

Pin

Wire

Circuit

Function

    
    
    
    
Figure 168:

P19X Speaker - Right Rear (UW6)


Object Number: 2179782  Size: CH

Connector Part Information

  • OEM:
  • Service:
  • Description:

Terminal Part Information

  • Terminal/Tray:
  • Core/Insulation Crimp:
  • Release Tool/Test Probe:

P19X Speaker - Right Rear (UW6)

Pin

Wire

Circuit

Function

    
    
    
    
Figure 169:

P24 Park Assist Display


Object Number: 2180197  Size: CH

Connector Part Information

  • OEM:
  • Service:
  • Description:

Terminal Part Information

  • Terminal/Tray:
  • Core/Insulation Crimp:
  • Release Tool/Test Probe:

P24 Park Assist Display

Pin

Wire

Circuit

Function

    
    
    
    
Figure 170:

P25 Power Sounder


Object Number: 2179790  Size: CH

Connector Part Information

  • OEM:
  • Service:
  • Description:

Terminal Part Information

  • Terminal/Tray:
  • Core/Insulation Crimp:
  • Release Tool/Test Probe:

P25 Power Sounder

Pin

Wire

Circuit

Function

    
    
    
    
Figure 171:

P4 Alarm Siren


Object Number: 2179754  Size: CH

Connector Part Information

  • OEM:
  • Service:
  • Description:

Terminal Part Information

  • Terminal/Tray:
  • Core/Insulation Crimp:
  • Release Tool/Test Probe:

P4 Alarm Siren

Pin

Wire

Circuit

Function

    
    
    
    
Figure 172:

P7 (X1) Display X1


Object Number: 1716517  Size: CH

Connector Part Information

  • OEM:
  • Service:
  • Description:

Terminal Part Information

  • Terminal/Tray:
  • Core/Insulation Crimp:
  • Release Tool/Test Probe:

P7 (X1) Display X1

Pin

Wire

Circuit

Function

    
    
    
    
Figure 173:

P7 Display (UAG)


Object Number: 1716517  Size: CH

Connector Part Information

  • OEM:
  • Service:
  • Description:

Terminal Part Information

  • Terminal/Tray:
  • Core/Insulation Crimp:
  • Release Tool/Test Probe:

P7 Display (UAG)

Pin

Wire

Circuit

Function

    
    
    
    
Figure 174:

Q12 Evaporative Emission (EVAP) Purge Solenoid Valve


Object Number: 684795  Size: CH

Connector Part Information

  • OEM:
  • Service:
  • Description:

Terminal Part Information

  • Terminal/Tray:
  • Core/Insulation Crimp:
  • Release Tool/Test Probe:

Q12 Evaporative Emission (EVAP) Purge Solenoid Valve

Pin

Wire

Circuit

Function

    
    
    
    
Figure 175:

Q2 A/C Compressor Clutch


Object Number: 537107  Size: CH

Connector Part Information

  • OEM:
  • Service:
  • Description:

Terminal Part Information

  • Terminal/Tray:
  • Core/Insulation Crimp:
  • Release Tool/Test Probe:

Q2 A/C Compressor Clutch

Pin

Wire

Circuit

Function

    
    
    
    
Figure 176:

Q37LF Damper Actuator - Left Front


Object Number: 2180208  Size: CH

Connector Part Information

  • OEM:
  • Service:
  • Description:

Terminal Part Information

  • Terminal/Tray:
  • Core/Insulation Crimp:
  • Release Tool/Test Probe:

Q37LF Damper Actuator - Left Front

Pin

Wire

Circuit

Function

    
    
    
    
Figure 177:

Q37LR Damper Actuator - Left Rear


Object Number: 1855214  Size: CH

Connector Part Information

  • OEM:
  • Service:
  • Description:

Terminal Part Information

  • Terminal/Tray:
  • Core/Insulation Crimp:
  • Release Tool/Test Probe:

Q37LR Damper Actuator - Left Rear

Pin

Wire

Circuit

Function

    
    
    
    
Figure 178:

Q37RF Damper Actuator - Right Front


Object Number: 2180208  Size: CH

Connector Part Information

  • OEM:
  • Service:
  • Description:

Terminal Part Information

  • Terminal/Tray:
  • Core/Insulation Crimp:
  • Release Tool/Test Probe:

Q37RF Damper Actuator - Right Front

Pin

Wire

Circuit

Function

    
    
    
    
Figure 179:

Q37RR Damper Actuator - Right Rear


Object Number: 1855214  Size: CH

Connector Part Information

  • OEM:
  • Service:
  • Description:

Terminal Part Information

  • Terminal/Tray:
  • Core/Insulation Crimp:
  • Release Tool/Test Probe:

Q37RR Damper Actuator - Right Rear

Pin

Wire

Circuit

Function

    
    
    
    
Figure 180:

Q6F Camshaft Position Actuator Solenoid Valve - Intake


Object Number: 646403  Size: CH

Connector Part Information

  • OEM:
  • Service:
  • Description:

Terminal Part Information

  • Terminal/Tray:
  • Core/Insulation Crimp:
  • Release Tool/Test Probe:

Q6F Camshaft Position Actuator Solenoid Valve - Intake

Pin

Wire

Circuit

Function

    
    
    
    
Figure 181:

R6 Data Link Resistor


Object Number: 1664608  Size: CH

Connector Part Information

  • OEM:
  • Service:
  • Description:

Terminal Part Information

  • Terminal/Tray:
  • Core/Insulation Crimp:
  • Release Tool/Test Probe:

R6 Data Link Resistor

Pin

Wire

Circuit

Function

    
    
    
    
Figure 182:

S26 Hazard Lamps Switch


Object Number: 2180216  Size: CH

Connector Part Information

  • OEM:
  • Service:
  • Description:

Terminal Part Information

  • Terminal/Tray:
  • Core/Insulation Crimp:
  • Release Tool/Test Probe:

S26 Hazard Lamps Switch

Pin

Wire

Circuit

Function

    
    
    
    
Figure 183:

S3 (X1) Automatic Transmission Shift Lever X1


Object Number: 1862240  Size: CH

Connector Part Information

  • OEM:
  • Service:
  • Description:

Terminal Part Information

  • Terminal/Tray:
  • Core/Insulation Crimp:
  • Release Tool/Test Probe:

S3 (X1) Automatic Transmission Shift Lever X1

Pin

Wire

Circuit

Function

    
    
    
    
Figure 184:

S3 (X2) Automatic Transmission Shift Lever X2


Object Number: 2179793  Size: CH

Connector Part Information

  • OEM:
  • Service:
  • Description:

Terminal Part Information

  • Terminal/Tray:
  • Core/Insulation Crimp:
  • Release Tool/Test Probe:

S3 (X2) Automatic Transmission Shift Lever X2

Pin

Wire

Circuit

Function

    
    
    
    
Figure 185:

S30 Headlamp Switch


Object Number: 2180216  Size: CH

Connector Part Information

  • OEM:
  • Service:
  • Description:

Terminal Part Information

  • Terminal/Tray:
  • Core/Insulation Crimp:
  • Release Tool/Test Probe:

S30 Headlamp Switch

Pin

Wire

Circuit

Function

    
    
    
    
Figure 186:

S38 Ignition Mode Switch


Object Number: 2180202  Size: CH

Connector Part Information

  • OEM:
  • Service:
  • Description:

Terminal Part Information

  • Terminal/Tray:
  • Core/Insulation Crimp:
  • Release Tool/Test Probe:

S38 Ignition Mode Switch

Pin

Wire

Circuit

Function

    
    
    
    
Figure 187:

S39 (X1) Ignition Switch X1


Object Number: 1664548  Size: CH

Connector Part Information

  • OEM:
  • Service:
  • Description:

Terminal Part Information

  • Terminal/Tray:
  • Core/Insulation Crimp:
  • Release Tool/Test Probe:

S39 (X1) Ignition Switch X1

Pin

Wire

Circuit

Function

    
    
    
    
Figure 188:

S39 (X2) Ignition Switch X2


Object Number: 2173598  Size: CH

Connector Part Information

  • OEM:
  • Service:
  • Description:

Terminal Part Information

  • Terminal/Tray:
  • Core/Insulation Crimp:
  • Release Tool/Test Probe:

S39 (X2) Ignition Switch X2

Pin

Wire

Circuit

Function

    
    
    
    
Figure 189:

S40 Passenger Air Bag Disable Switch


Object Number: 2179793  Size: CH

Connector Part Information

  • OEM:
  • Service:
  • Description:

Terminal Part Information

  • Terminal/Tray:
  • Core/Insulation Crimp:
  • Release Tool/Test Probe:

S40 Passenger Air Bag Disable Switch

Pin

Wire

Circuit

Function

    
    
    
    
Figure 190:

S43 Ultrasonic Intrusion Sensor Disable Switch


Object Number: 2173576  Size: CH

Connector Part Information

  • OEM:
  • Service:
  • Description:

Terminal Part Information

  • Terminal/Tray:
  • Core/Insulation Crimp:
  • Release Tool/Test Probe:

S43 Ultrasonic Intrusion Sensor Disable Switch

Pin

Wire

Circuit

Function

    
    
    
    
Figure 191:

S45B Liftgate Control Switch - Interior


Object Number: 2179790  Size: CH

Connector Part Information

  • OEM:
  • Service:
  • Description:

Terminal Part Information

  • Terminal/Tray:
  • Core/Insulation Crimp:
  • Release Tool/Test Probe:

S45B Liftgate Control Switch - Interior

Pin

Wire

Circuit

Function

    
    
    
    
Figure 192:

S52 Mirror Switch


Object Number: 1710983  Size: CH

Connector Part Information

  • OEM:
  • Service:
  • Description:

Terminal Part Information

  • Terminal/Tray:
  • Core/Insulation Crimp:
  • Release Tool/Test Probe:

S52 Mirror Switch

Pin

Wire

Circuit

Function

    
    
    
    
Figure 193:

S58A Rear Compartment Lid Unlatch Switch - Exterior


Object Number: 872587  Size: CH

Connector Part Information

  • OEM:
  • Service:
  • Description:

Terminal Part Information

  • Terminal/Tray:
  • Core/Insulation Crimp:
  • Release Tool/Test Probe:

S58A Rear Compartment Lid Unlatch Switch - Exterior

Pin

Wire

Circuit

Function

    
    
    
    
Figure 194:

S58B Rear Compartment Lid Unlatch Switch - Interior


Object Number: 2179793  Size: CH

Connector Part Information

  • OEM:
  • Service:
  • Description:

Terminal Part Information

  • Terminal/Tray:
  • Core/Insulation Crimp:
  • Release Tool/Test Probe:

S58B Rear Compartment Lid Unlatch Switch - Interior

Pin

Wire

Circuit

Function

    
    
    
    
Figure 195:

S64D (X2) Seat Switch - Driver X2


Object Number: 62432  Size: CH

Connector Part Information

  • OEM:
  • Service:
  • Description:

Terminal Part Information

  • Terminal/Tray:
  • Core/Insulation Crimp:
  • Release Tool/Test Probe:

S64D (X2) Seat Switch - Driver X2

Pin

Wire

Circuit

Function

    
    
    
    
Figure 196:

S64P (X2) Seat Switch - Passenger X2


Object Number: 62432  Size: CH

Connector Part Information

  • OEM:
  • Service:
  • Description:

Terminal Part Information

  • Terminal/Tray:
  • Core/Insulation Crimp:
  • Release Tool/Test Probe:

S64P (X2) Seat Switch - Passenger X2

Pin

Wire

Circuit

Function

    
    
    
    
Figure 197:

S72 Sunroof Switch


Object Number: 2179793  Size: CH

Connector Part Information

  • OEM:
  • Service:
  • Description:

Terminal Part Information

  • Terminal/Tray:
  • Core/Insulation Crimp:
  • Release Tool/Test Probe:

S72 Sunroof Switch

Pin

Wire

Circuit

Function

    
    
    
    
Figure 198:

S78 Turn Signal/Multi-Function Switch


Object Number: 2180217  Size: CH

Connector Part Information

  • OEM:
  • Service:
  • Description:

Terminal Part Information

  • Terminal/Tray:
  • Core/Insulation Crimp:
  • Release Tool/Test Probe:

S78 Turn Signal/Multi-Function Switch

Pin

Wire

Circuit

Function

    
    
    
    
Figure 199:

S79D Window Switch - Driver


Object Number: 2180202  Size: CH

Connector Part Information

  • OEM:
  • Service:
  • Description:

Terminal Part Information

  • Terminal/Tray:
  • Core/Insulation Crimp:
  • Release Tool/Test Probe:

S79D Window Switch - Driver

Pin

Wire

Circuit

Function

    
    
    
    
Figure 200:

S79LR Window Switch - Left Rear


Object Number: 2180202  Size: CH

Connector Part Information

  • OEM:
  • Service:
  • Description:

Terminal Part Information

  • Terminal/Tray:
  • Core/Insulation Crimp:
  • Release Tool/Test Probe:

S79LR Window Switch - Left Rear

Pin

Wire

Circuit

Function

    
    
    
    
Figure 201:

S79P (X1) Window Switch - Passenger X1


Object Number: 1653389  Size: CH

Connector Part Information

  • OEM:
  • Service:
  • Description:

Terminal Part Information

  • Terminal/Tray:
  • Core/Insulation Crimp:
  • Release Tool/Test Probe:

S79P (X1) Window Switch - Passenger X1

Pin

Wire

Circuit

Function

    
    
    
    
Figure 202:

S79P (X2) Window Switch - Passenger X2


Object Number: 2180216  Size: CH

Connector Part Information

  • OEM:
  • Service:
  • Description:

Terminal Part Information

  • Terminal/Tray:
  • Core/Insulation Crimp:
  • Release Tool/Test Probe:

S79P (X2) Window Switch - Passenger X2

Pin

Wire

Circuit

Function

    
    
    
    
Figure 203:

S79RR Window Switch - Right Rear


Object Number: 2180202  Size: CH

Connector Part Information

  • OEM:
  • Service:
  • Description:

Terminal Part Information

  • Terminal/Tray:
  • Core/Insulation Crimp:
  • Release Tool/Test Probe:

S79RR Window Switch - Right Rear

Pin

Wire

Circuit

Function

    
    
    
    
Figure 204:

S80 Window Wiper/Washer Switch - Rear


Object Number: 2180217  Size: CH

Connector Part Information

  • OEM:
  • Service:
  • Description:

Terminal Part Information

  • Terminal/Tray:
  • Core/Insulation Crimp:
  • Release Tool/Test Probe:

S80 Window Wiper/Washer Switch - Rear

Pin

Wire

Circuit

Function

    
    
    
    
Figure 205:

S88 Sunroof Ventilation Switch


Object Number: 2173576  Size: CH

Connector Part Information

  • OEM:
  • Service:
  • Description:

Terminal Part Information

  • Terminal/Tray:
  • Core/Insulation Crimp:
  • Release Tool/Test Probe:

S88 Sunroof Ventilation Switch

Pin

Wire

Circuit

Function

    
    
    
    
Figure 206:

S90 Sunroof Sunshade Switch


Object Number: 2173576  Size: CH

Connector Part Information

  • OEM:
  • Service:
  • Description:

Terminal Part Information

  • Terminal/Tray:
  • Core/Insulation Crimp:
  • Release Tool/Test Probe:

S90 Sunroof Sunshade Switch

Pin

Wire

Circuit

Function

    
    
    
    
Figure 207:

S91 Park Brake Control Switch


Object Number: 2180203  Size: CH

Connector Part Information

  • OEM:
  • Service:
  • Description:

Terminal Part Information

  • Terminal/Tray:
  • Core/Insulation Crimp:
  • Release Tool/Test Probe:

S91 Park Brake Control Switch

Pin

Wire

Circuit

Function

    
    
    
    
Figure 208:

T10E Keyless Entry Antenna - Rear Compartment


Object Number: 872587  Size: CH

Connector Part Information

  • OEM:
  • Service:
  • Description:

Terminal Part Information

  • Terminal/Tray:
  • Core/Insulation Crimp:
  • Release Tool/Test Probe:

T10E Keyless Entry Antenna - Rear Compartment

Pin

Wire

Circuit

Function

    
    
    
    
Figure 209:

T10G Keyless Entry Antenna - Outside Rear


Object Number: 1869767  Size: CH

Connector Part Information

  • OEM:
  • Service:
  • Description:

Terminal Part Information

  • Terminal/Tray:
  • Core/Insulation Crimp:
  • Release Tool/Test Probe:

T10G Keyless Entry Antenna - Outside Rear

Pin

Wire

Circuit

Function

    
    
    
    
Figure 210:

T10J Keyless Entry Antenna - Center Console Front


Object Number: 1869767  Size: CH

Connector Part Information

  • OEM:
  • Service:
  • Description:

Terminal Part Information

  • Terminal/Tray:
  • Core/Insulation Crimp:
  • Release Tool/Test Probe:

T10J Keyless Entry Antenna - Center Console Front

Pin

Wire

Circuit

Function

    
    
    
    
Figure 211:

T10K Keyless Entry Antenna - Center Console Rear


Object Number: 1869767  Size: CH

Connector Part Information

  • OEM:
  • Service:
  • Description:

Terminal Part Information

  • Terminal/Tray:
  • Core/Insulation Crimp:
  • Release Tool/Test Probe:

T10K Keyless Entry Antenna - Center Console Rear

Pin

Wire

Circuit

Function

    
    
    
    
Figure 212:

T10M Keyless Entry Antenna - Driver Door Handle


Object Number: 2179794  Size: CH

Connector Part Information

  • OEM:
  • Service:
  • Description:

Terminal Part Information

  • Terminal/Tray:
  • Core/Insulation Crimp:
  • Release Tool/Test Probe:

T10M Keyless Entry Antenna - Driver Door Handle

Pin

Wire

Circuit

Function

    
    
    
    
Figure 213:

T10N Keyless Entry Antenna - Passenger Door Handle


Object Number: 2179794  Size: CH

Connector Part Information

  • OEM:
  • Service:
  • Description:

Terminal Part Information

  • Terminal/Tray:
  • Core/Insulation Crimp:
  • Release Tool/Test Probe:

T10N Keyless Entry Antenna - Passenger Door Handle

Pin

Wire

Circuit

Function

    
    
    
    
Figure 214:

T3 (X1) Audio Amplifier X1


Object Number: 1653389  Size: CH

Connector Part Information

  • OEM:
  • Service:
  • Description:

Terminal Part Information

  • Terminal/Tray:
  • Core/Insulation Crimp:
  • Release Tool/Test Probe:

T3 (X1) Audio Amplifier X1

Pin

Wire

Circuit

Function

    
    
    
    
Figure 215:

T3 (X2) Audio Amplifier X2


Object Number: 1566781  Size: CH

Connector Part Information

  • OEM:
  • Service:
  • Description:

Terminal Part Information

  • Terminal/Tray:
  • Core/Insulation Crimp:
  • Release Tool/Test Probe:

T3 (X2) Audio Amplifier X2

Pin

Wire

Circuit

Function

    
    
    
    
Figure 216:

T4E Cellular Phone and Navigation Antenna


Object Number: 2179770  Size: CH

Connector Part Information

  • OEM:
  • Service:
  • Description:

Terminal Part Information

  • Terminal/Tray:
  • Core/Insulation Crimp:
  • Release Tool/Test Probe:

T4E Cellular Phone and Navigation Antenna

Pin

Wire

Circuit

Function