GM Service Manual Online
For 1990-2009 cars only

HVAC Air Delivery/Temperature Control Schematics C60

Figure 1:
Object Number: 477197  Size: FS
Fuse Block and HVAC Components
Fuse Block, BCM, Cluster, Radio and DLC
Fuse Block, BCM, Cluster, Radio and DLC
HVAC Components
HVAC Air Delivery/Temperature Control Circuit Description
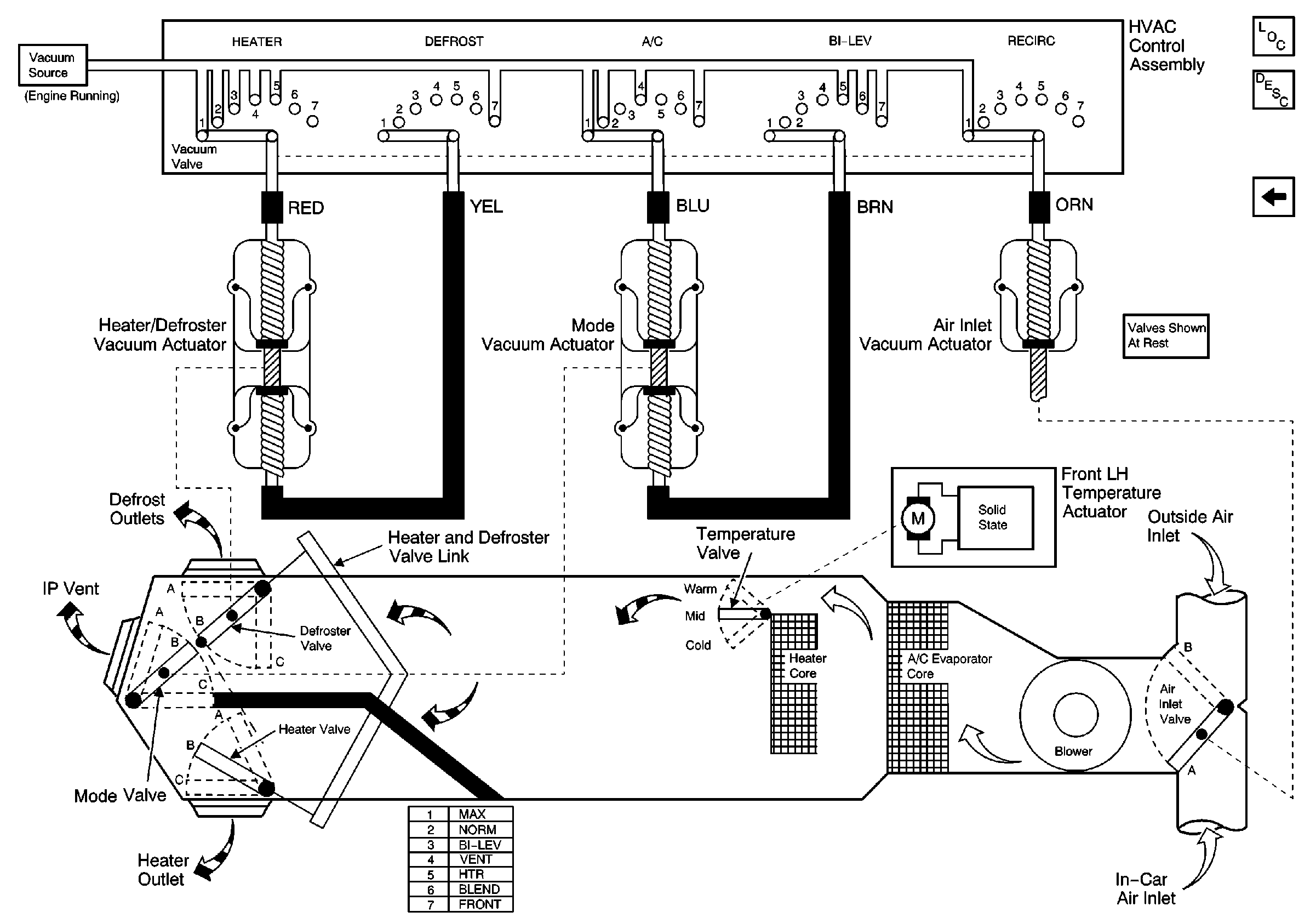
Air Delivery - Vacuum Controls
G200 ( 1 of 2)
Figure 2:

Air Delivery -- Vacuum Controls


Object Number: 482459  Size: FS
HVAC Components
HVAC Air Delivery/Temperature Control Circuit Description
00 Buick China Temperature Control C60

HVAC Air Delivery/Temperature Control Schematics CJ4

Figure 1:

Power/Ground Distribution, Ambient Temperature Sensor, Front and Rear Control Assemblies, and Serial Data


Object Number: 482450  Size: FS
Fuse Block and HVAC Components
Fuse Block and HVAC Components
Fuse Block, BCM, Cluster, Radio and DLC
Fuse Block, BCM, Cluster, Radio and DLC
HVAC Components
HVAC Air Delivery/Temperature Control Circuit Description
Rear Air Delivery Controls
DLC Schematic
G200 ( 1 of 2)
G200 ( 2 of 2)
Fuse Block and HVAC Components
Figure 2:

Rear Air Delivery Controls


Object Number: 482453  Size: FS
Fuse Block and HVAC Components
Fuse Block and HVAC Components
HVAC Components
HVAC Air Delivery/Temperature Control Circuit Description
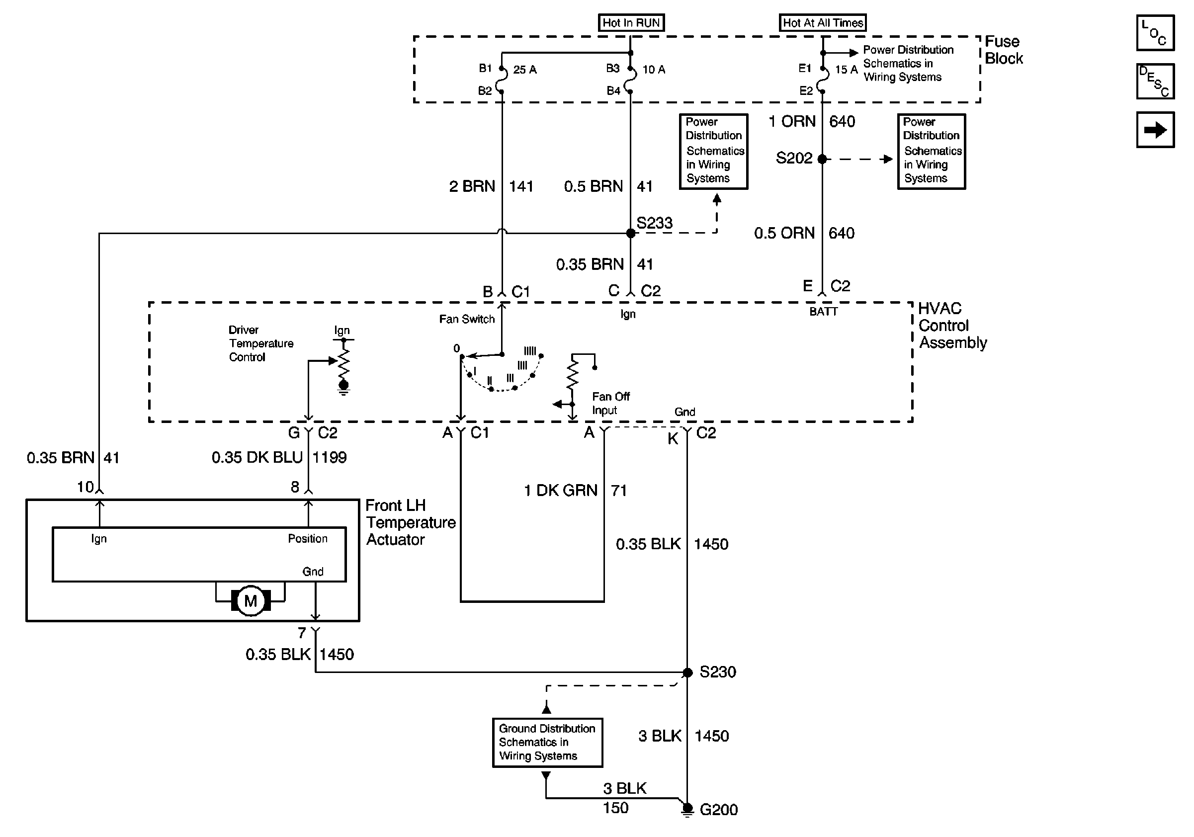
Air Delivery - Electric Controls
Power/Ground Distribution, Ambient Temperature Sensor, Front and Rear Control Assemblies, and Serial Data
G200 ( 2 of 2)
G200 ( 1 of 2)
Figure 3:

Air Delivery -- Electric Controls


Object Number: 484069  Size: FS
Fuse Block and HVAC Components
Fuse Block and HVAC Components
HVAC Components
HVAC Air Delivery/Temperature Control Circuit Description
Air Delivery - Vacuum Controls
Rear Air Delivery Controls
Figure 4:

Air Delivery -- Vacuum Controls


Object Number: 482460  Size: FS
HVAC Components
HVAC Air Delivery/Temperature Control Circuit Description
Air Delivery - Electric Controls