GM Service Manual Online
For 1990-2009 cars only
Makes
🢒
Buick
🢒
2001
🢒
Regal (China)
🢒
Engine
🢒
Engine Controls - 2.5L (LB8) and 3.0L (LW9)
🢒 Body Control System Schematics
Figure
1:
BCM Power and Ground
Figure
2:
BCM Inputs/Outputs
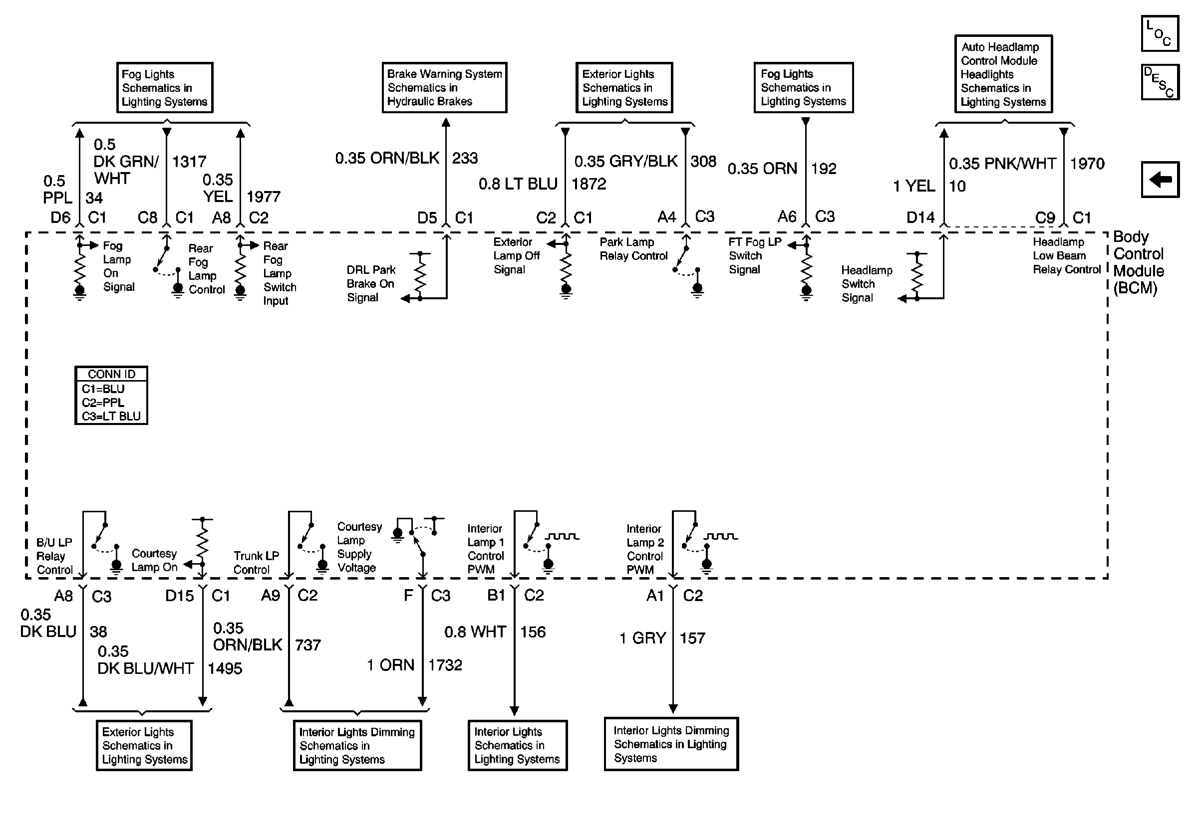
Figure
3:
BCM Inputs/Outputs (Lighting)