| Table 1: | Electronic Brake Control Module (EBCM) |
| Table 2: | Wheel Speed Sensor, LF |
| Table 3: | Wheel Speed Sensor, LR |
| Table 4: | Wheel Speed Sensor, RF |
| Table 5: | Wheel Speed Sensor, RR |
| |||||||||||
|---|---|---|---|---|---|---|---|---|---|---|---|
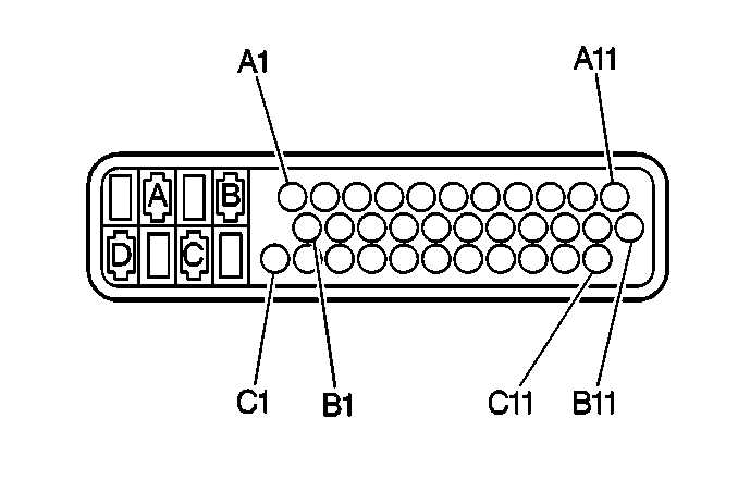
Connector Part Information |
| ||||||||||
Pin | Wire Color | Circuit No. | Function | ||||||||
A1-A2 | -- | -- | Not Used | ||||||||
A3 | TAN | 884 | Left Rear Wheel Speed Sensor Signal | ||||||||
A4 | ORN | 885 | Left Rear Wheel Speed Sensor Low Reference | ||||||||
A5 | WHT | 883 | Right Rear Wheel Speed Sensor Low Reference | ||||||||
A6 | BRN | 882 | Right Rear Wheel Speed Sensor Signal | ||||||||
A7 | TAN | 833 | Right Front Wheel Speed Sensor Low Reference | ||||||||
A8 | DK GRN | 872 | Right Front Wheel Speed Sensor Signal | ||||||||
A9 | YEL | 873 | Left Front Wheel Speed Sensor Low Reference | ||||||||
A10 | LT BLU | 830 | Left Front Wheel Speed Sensor Signal | ||||||||
A11 | PNK | 1339 | Ignition 1 Voltage | ||||||||
B1-B6 | -- | -- | Not Used | ||||||||
B7 | LT BLU | 1122 | ABS/TCS Class 2 Serial Data | ||||||||
B8-B11 | -- | -- | Not Used | ||||||||
C1 | TAN/BLK | 464 | Delivered Torque Signal | ||||||||
C2-C6 | -- | -- | Not Used | ||||||||
C7 | WHT | 17 | Stop Lamp Switch Signal | ||||||||
C8 | -- | -- | Not Used | ||||||||
C9 | ORN/BLK | 463 | Requested Torque Signal | ||||||||
C10 | -- | -- | Not Used | ||||||||
C11 | -- | 3000 | Vacuum Hose Vent | ||||||||
A | RED/BLK | 1442 | Battery Positive Voltage | ||||||||
B | RED/BLK | 1442 | Battery Positive Voltage | ||||||||
C | BLK/WHT | 251 | Ground | ||||||||
D | BLK/WHT | 251 | Ground | ||||||||
| |||||||
|---|---|---|---|---|---|---|---|
Connector Part Information |
| ||||||
Pin | Wire Color | Circuit No. | Function | ||||
A | LT BLU | 830 | Left Front Wheel Speed Sensor Signal | ||||
B | YEL | 873 | Left Front Wheel Speed Sensor Low Reference | ||||
| |||||||
|---|---|---|---|---|---|---|---|
Connector Part Information |
| ||||||
Pin | Wire Color | Circuit No. | Function | ||||
A | ORN | 885 | Left Rear Wheel Speed Sensor Low Reference | ||||
B | TAN | 884 | Left Rear Wheel Speed Sensor Signal | ||||
| |||||||
|---|---|---|---|---|---|---|---|
Connector Part Information |
| ||||||
Pin | Wire Color | Circuit No. | Function | ||||
A | DK GRN | 872 | Right Front Wheel Speed Sensor Signal | ||||
B | TAN | 833 | Right Front Wheel Speed Sensor Low Reference | ||||
| |||||||
|---|---|---|---|---|---|---|---|
Connector Part Information |
| ||||||
Pin | Wire Color | Circuit No. | Function | ||||
A | WHT | 883 | Right Rear Wheel Speed Sensor Low Reference | ||||
B | BRN | 882 | Right Rear Wheel Speed Sensor Signal | ||||