GM Service Manual Online
For 1990-2009 cars only
Makes
🢒
Buick
🢒
1999
🢒
Regal (China) (CNG)
🢒
Body and Accessories
🢒
Wipers/Washer Systems
🢒 Wiper/Washer System (Pulse) Schematics
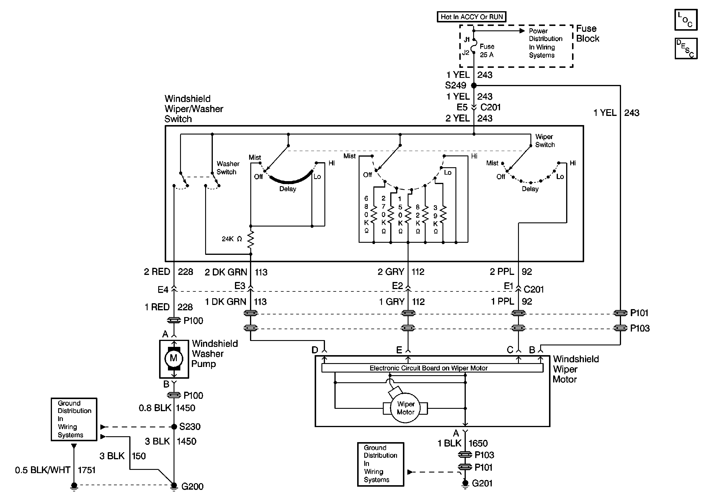
Wiper/Washer Schematic (Fuse Block, Wiper/Washer Switch, Pump and Motor, G201)
Wiper/Washer System Components
Wiper/Washer System Description
GLX: RAP Relay, UAWJB, Ignition Switch and Fuse Block
G200, 1 of 2
G201