GM Service Manual Online
For 1990-2009 cars only
Makes
🢒
Buick
🢒
1999
🢒
Regal (China) (CNG)
🢒
Body and Accessories
🢒
Wiring Systems
🢒 Cigar Lighter/Power Outlet Schematics
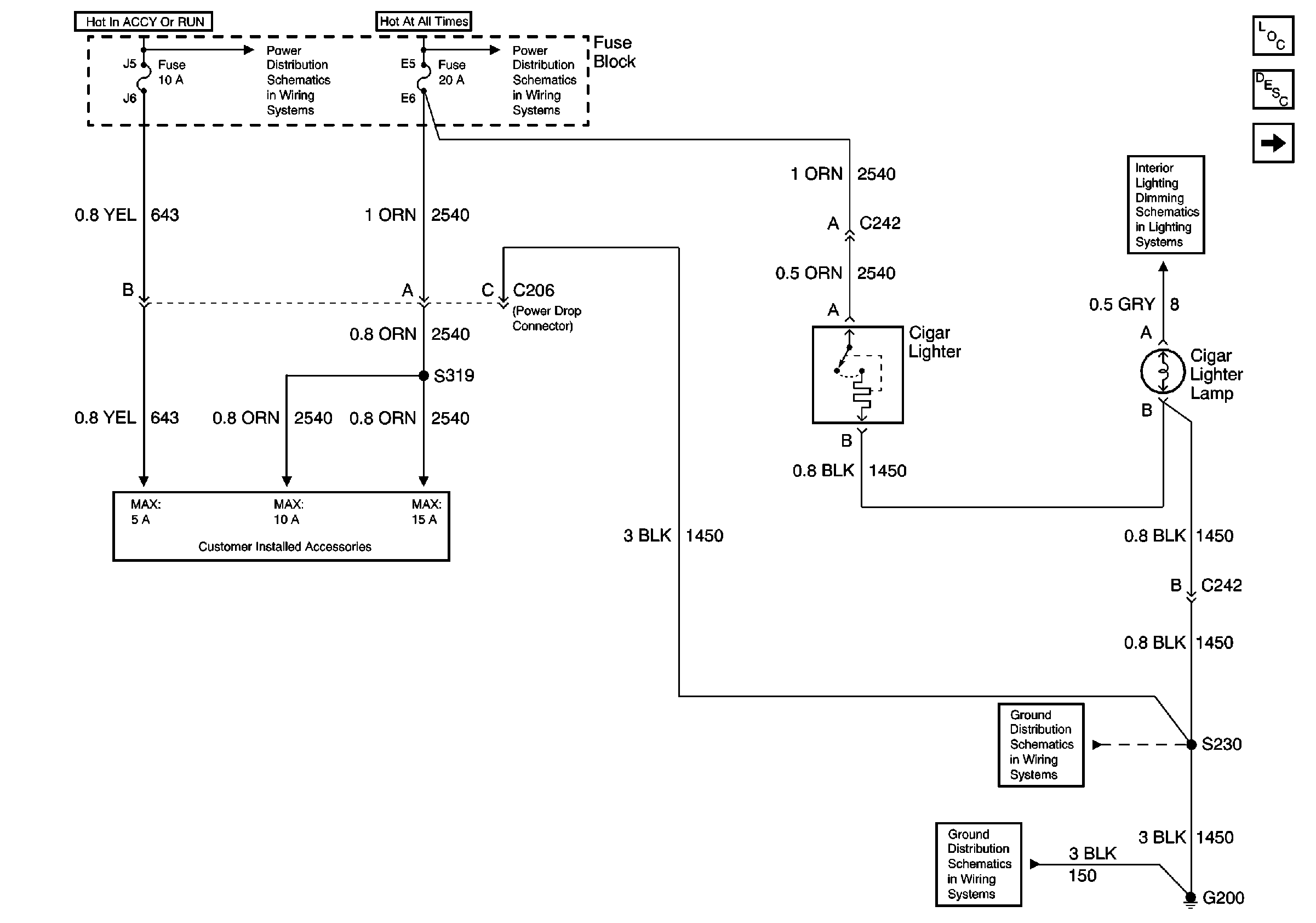
Figure
1:
Fuse Block, C206, Front Cigar Lighter and Lamp, G200
Power and Grounding Components
Cigar Lighter/Auxiliary Outlet Circuit Description
Fuse Block, Rear Cigar Lighter and G301
Interior Lights Inputs
Battery, UAWJB and Fuse Block
G200, 1 of 2
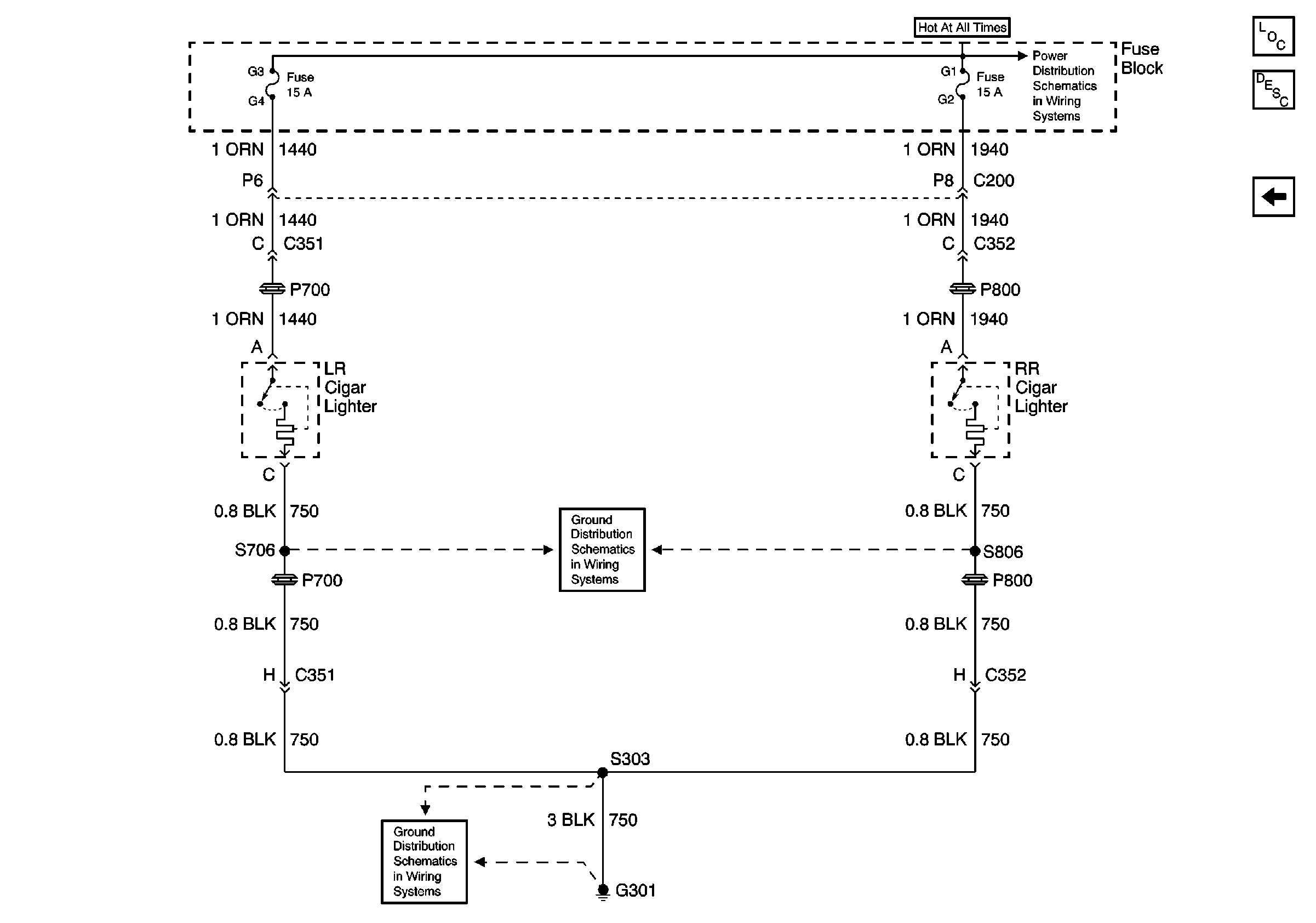
Figure
2:
Fuse Block, Rear Cigar Lighter and G301
Power and Grounding Components
Cigar Lighter/Auxiliary Outlet Circuit Description
Fuse Block, C206, Front Cigar Lighter and Lamp, G200
G301, 3 of 3
G301, 1 of 3