GM Service Manual Online
For 1990-2009 cars only

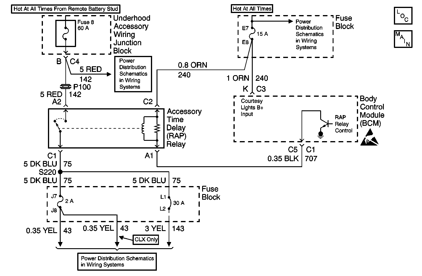
Object Number: 501887  Size: MF

Circuit Description

The BCM uses the voltage in circuit 240 to power the courtesy lights through circuit 1732. The BCM controls the power supplied in circuit 1732 for inadvertent load (battery rundown) protection.

Conditions for Setting the DTC

    • The BCM detects an open in circuit 240.
    • All conditions must be present for more than 0.3 seconds.

Action Taken When the DTC Sets

    • The BCM stores DTC B1344 in memory.
    • The BCM turns off its output to the theater dimming circuits 1 and 2.

Conditions for Clearing the DTC

    • The BCM detects B+ in circuit 240.
    • A history DTC will clear after 100 consecutive ignition cycles if the condition for the malfunction is no longer present.
    • Using a scan tool.

Diagnostic Aids

    • If the DTC is a history DTC, the problem may be intermittent. Try performing the tests shown while moving wiring and connectors, this can often cause the malfunction to reappear.
    • If this DTC sets intermittently, the BCM may be open internally.
    • DTC P1626 will set in the Powertrain Control Module (PCM) when the ignition switch is on with the Body Control Module (BCM) disconnected. When BCM diagnostics and repairs are completed, refer to Powertrain On Board Diagnostic (OBD) System Check

Test Description

The numbers below refer to the step numbers on the diagnostic table.

  1. This step checks if BCM DTC B1344 has also set. If circuit 240 is shorted to ground, circuit 240 will be open.

  2. This step checks for an open in circuit 240.

  3. This step determines whether the condition is intermittent or the BCM is faulty.

Step

Action

Value(s)

Yes

No

1

Was the BCM Diagnostic System Check performed?

--

Go to Step 2

Go to Diagnostic System Check - Body Control System

2

Check for BCM current DTCs. Refer to Diagnostic Trouble Code (DTC) Displaying in Body Control System.

Is the BCM DTC B1482 set also?

--

Go to DTC B1482 Courtesy Lights CKT Shorted to Ground

Go to Step 3

3

Check fuse 8.

Is fuse 8 open?

--

Go to Step 6

Go to Step 4

4

  1. Turn the ignition switch to the LOCK position.
  2. Disconnect the Body Control Module (BCM) connector C3.
  3. Using a test lamp, connect between the BCM connector C3 terminal K and ground.

Is the test lamp on?

--

Go to Step 5

Go to Step 7

5

  1. Turn the ignition switch to the LOCK position.
  2. Reinstall connectors/components removed.
  3. Turn the ignition switch to the RUN position.
  4. Clear the BCM DTCs. Refer to Clearing DTCs for more information.
  5. Check for BCM DTCs. Refer to Diagnostic Trouble Code (DTC) Displaying for more information.

Does the BCM DTC B1344 reset as current DTC?

--

Go to Step 8

Go to Step 9

6

Replace fuse 8.

Is the repair complete?

--

Go to Step 10

--

7

Repair poor connection or open in circuit 240.

Is the repair complete?

--

Go to Step 10

--

8

    • Check the BCM connector C3 terminal K for a poor connection.
    • If the connection is OK, then replace the BCM. Refer to Body Control Module Replacement for more information.
    • After replacing the BCM, perform the Setup New BCM procedure. Refer to Body Control Module (BCM) Programming/RPO Configuration for more information.

Is the repair complete?

--

Go to Step 10

--

9

The malfunction is not present at this time. Refer to Diagnostic Aids for additional information regarding this DTC.

Is repair complete?

--

Go to Step 10

--

10

  1. Turn the ignition switch to the LOCK position.
  2. Reinstall connectors/components removed.
  3. Turn the ignition switch to the RUN position.
  4. Clear BCM DTCs. Refer to Clearing DTCs for more information.
  5. Check for BCM DTCs. Refer to Diagnostic Trouble Code (DTC) Displaying for more information.

Are there any BCM current DTCs set?

--

Go to Diagnostic System Check - Body Control System

System OK