GM Service Manual Online
For 1990-2009 cars only
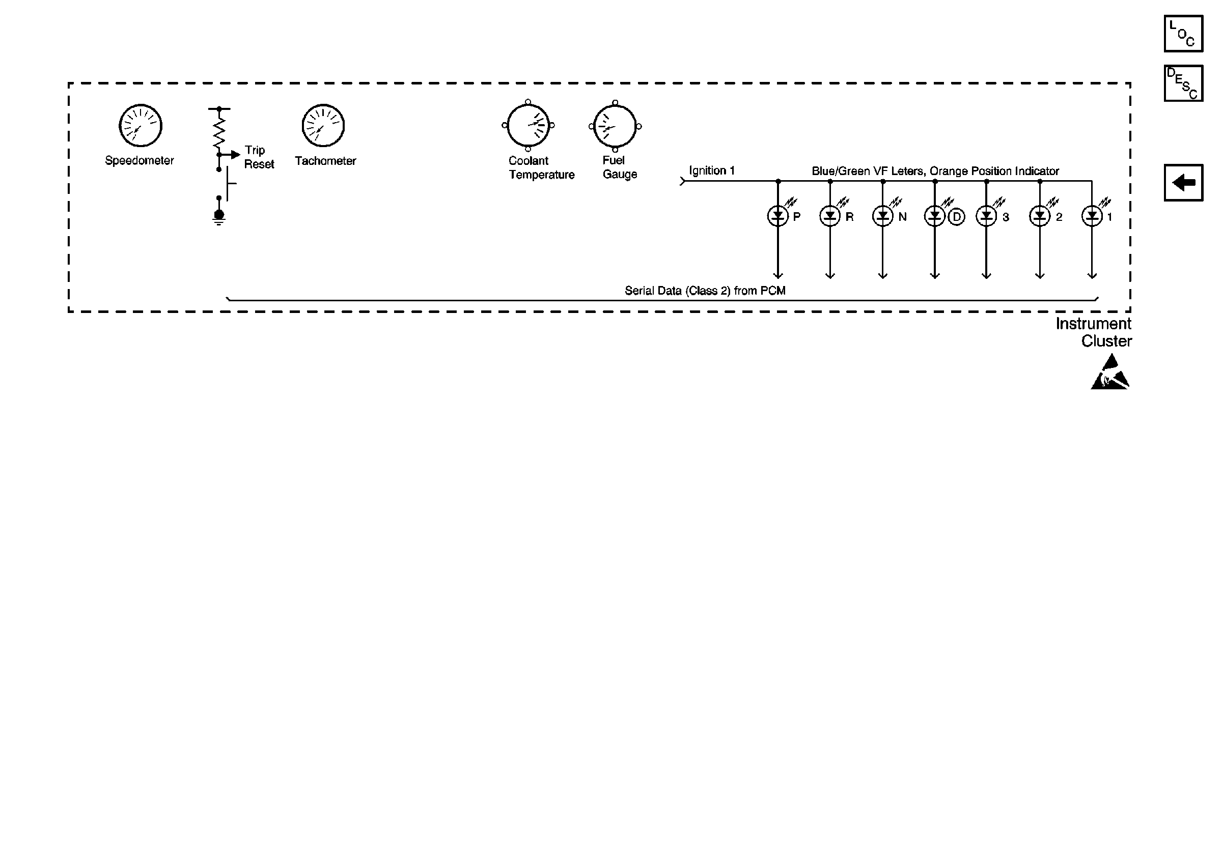
Figure 1:

Power/Ground Distribution, Instrument Cluster


Object Number: 483604  Size: FS
Instrument Cluster Circuit Description
Cell 81: Serial Data, Turn Signal Switch and Headlamp Switch
Power Distribution Schematics
Ground Distribution Schematics
Ground Distribution Schematics
Fuse Block Schematics
Power Distribution Schematics
Fuse Block Schematics
Power Distribution Schematics
Fuse Block Schematics
Power Distribution Schematics
Handling ESD Sensitive Parts Notice
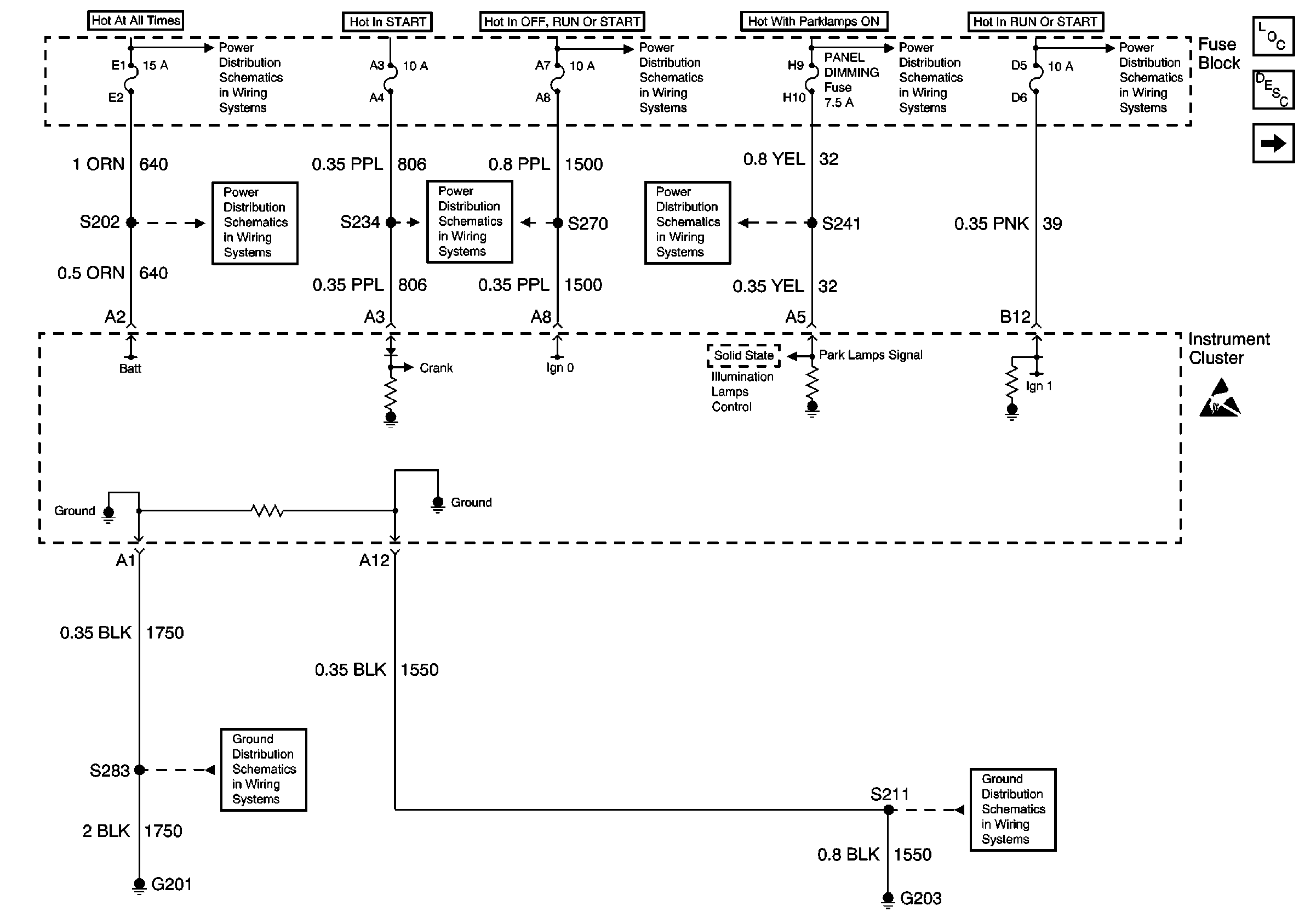
Figure 2:

Serial Data, Turn Signal Switch and Headlamp Switch


Object Number: 483607  Size: FS
Instrument Cluster Circuit Description
Cell 81: PCM, Engine Coolant Level Indicator Module, Windshield Washer Solvent Level Switch
Cell 81:Power/Ground Distribution, Instrument Cluster and DID
Interior Lights Dimming Schematics
Handling ESD Sensitive Parts Notice
Instrument Panel, Gages, and Console Component Views
Data Link Connector Schematics
Cell 110: Turn Signal Switch, CHMSL Lamp
Headlamps, Dimmer/Headlamp Switches
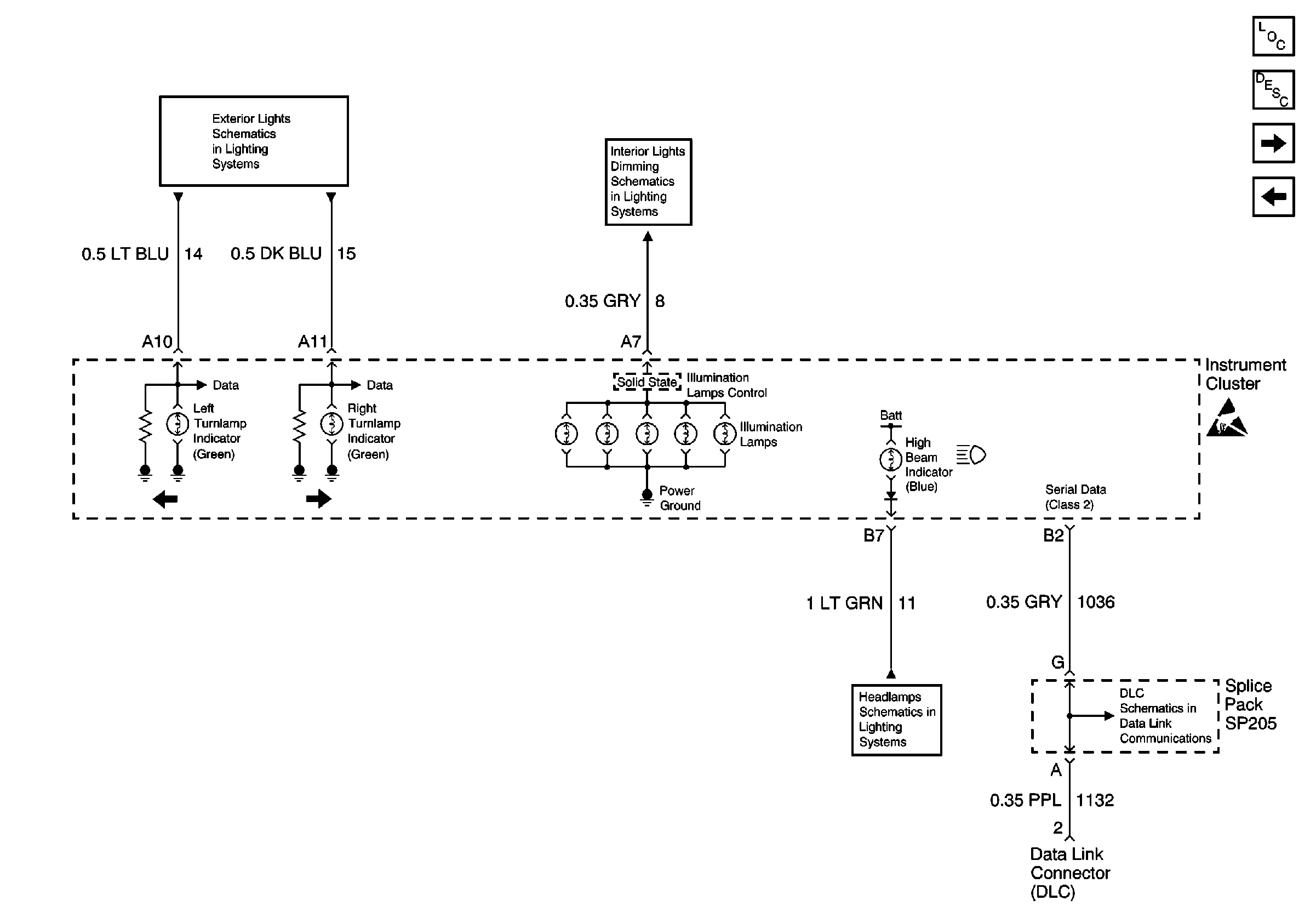
Figure 3:

Cell 81: PCM, Engine Coolant Level Indicator Module, Windshield Washer Solvent Level Switch


Object Number: 330889  Size: FS
Instrument Cluster Circuit Description
Cell 81: Brake Fluid Level Switch
Cell 81: Serial Data, Turn Signal Switch and Headlamp Switch
Ground Distribution Schematics
Ground Distribution Schematics
Ground Distribution Schematics
Handling ESD Sensitive Parts Notice
Handling ESD Sensitive Parts Notice
SIR Handling Caution
Instrument Cluster Components
Figure 4:

Brake Fluid Level Switch


Object Number: 483616  Size: FS
Instrument Cluster Circuit Description
Cell 81: Serial Data
Cell 81: PCM, Engine Coolant Level Indicator Module, Windshield Washer Solvent Level Switch
Ground Distribution Schematics
Handling ESD Sensitive Parts Notice
Handling ESD Sensitive Parts Notice
Instrument Cluster Components
Figure 5:

IPC Serial Data


Object Number: 622957  Size: FS