GM Service Manual Online
For 1990-2009 cars only
Table 1: Object Sensor -- LR Corner
Table 2: Object Sensor -- LR Middle
Table 3: Object Sensor -- RR Corner
Table 4: Object Sensor -- RR Middle
Table 5: Rear Parking Assist (RPA) Module
Table 6: Rear Parking Assist (RPA) Display

Object Sensor -- LR Corner


Object Number: 655785  Size: CH

Connector Part Information

    • 15324398
    • 3-Way F Quadlock Micro-Pack, Sealed (BLK)

Pin

Wire Color

Circuit No.

Function

1

YEL

2375

LR Corner Object Sensor Signal

2

GRY

2379

Object Sensor Low Reference

3

DK BLU

2374

Object Sensor Supply Voltage

Object Sensor -- LR Middle


Object Number: 655785  Size: CH

Connector Part Information

    • 15324398
    • 3-Way F Quadlock Micro-Pack, Sealed (BLK)

Pin

Wire Color

Circuit No.

Function

1

ORN

2376

LR Middle Object Sensor Signal

2

GRY

2379

Object Sensor Low Reference

3

DK BLU

2374

Object Sensor Supply Voltage

Object Sensor -- RR Corner


Object Number: 655785  Size: CH

Connector Part Information

    • 15324398
    • 3-Way F Quadlock Micro-Pack, Sealed (BLK)

Pin

Wire Color

Circuit No.

Function

1

RED

2378

RR Corner Object Sensor Signal

2

GRY

2379

Object Sensor Low Reference

3

DK BLU

2374

Object Sensor Supply Voltage

Object Sensor -- RR Middle


Object Number: 655785  Size: CH

Connector Part Information

    • 15324398
    • 3-Way F Quadlock Micro-Pack, Sealed (BLK)

Pin

Wire Color

Circuit No.

Function

1

DK GRN

2377

RR Middle Object Sensor Signal

2

GRY

2379

Object Sensor Low Reference

3

DK BLU

2374

Object Sensor Supply Voltage

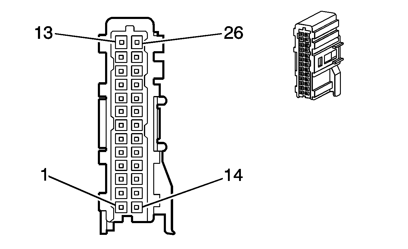
Rear Parking Assist (RPA) Module


Object Number: 599191  Size: CH

Connector Part Information

    • 12124957
    • 26-Way F (BLK)

Pin

Wire Color

Circuit No.

Function

1

YEL

2375

LR Corner Object Sensor Signal

2

ORN

2376

LR Middle Object Sensor Signal

3

DK GRN

2377

RR Middle Object Sensor Signal

4

RED

2378

RR Corner Object Sensor Signal

5

DK BLU

2374

Object Sensor Supply Voltage

6

GRY

2379

Object Sensor Low Reference

7 - 11

--

--

Not Used

12

BLK

850

Ground

13

PNK

1439

Ignition 1 Voltage

14

BRN

9380

Rear Parking Assist Disable Switch Input

15

LT GRN

24

Backup Lamp Supply Voltage

16

LT GRN

2525

Rear Parking Assist Diagnostic Input

17

--

--

Not Used

18

DK GRN

389

Vehicle Speed Signal

19 - 21

--

--

Not Used

22

LT BLU

2380

Rear Parking Assist Chime Signal

23

WHT

2370

Telltale Assembly Supply Voltage

24

GRY

2373

Red Indicator Control

25

DK BLU

2372

Center Amber Indicator Control

26

ORN

2371

Left Amber Indicator Control

Rear Parking Assist (RPA) Display


Object Number: 130635  Size: CH

Connector Part Information

    • 12045813
    • 4-Way F Metri-Pack 150 Series (NAT)

Pin

Wire Color

Circuit No.

Function

A

WHT

2370

Telltale Assembly Supply Voltage

B

ORN

2371

Left Amber Indicator Control

C

DK BLU

2372

Center Amber Indicator Control

D

GRY

2373

Red Indicator Control