GM Service Manual Online
For 1990-2009 cars only
Makes
🢒
Buick
🢒
2002
🢒
Rendezvous - AWD
🢒
Transmission/Transaxle
🢒
Automatic Transaxle - 4T65-E
🢒 Body Rear End Component Views
Figure
1:
Lock Cylinder Switch - Endgate - Pontiac
(1)
Endgate Harness
(2)
Lock Cylinder - Endgate
(3)
Lock Cylinder Switch - Endgate
Figure
2:
Endgate - Pontiac
(1)
C403
(2)
Endgate Harness
(3)
Endgate Latch - Right C1
(4)
Endgate Latch- Right C2
(5)
Lift Window Release Actuator - Right C1
(6)
Lift Window Release Actuator - Right C2
(7)
Lock Cylinder Switch - Endgate
(8)
Lift Window Release Actuator - Left C2
(9)
Lift Window Release Actuator - Left C1
(10)
Endgate Latch - Left C2
(11)
Endgate Latch - Left C1
Figure
3:
Lift Window Release Actuators - Pontiac
(1)
Lift Window Release Actuator and Ajar Switch - Left
(2)
Lift Window Release Actuator and Ajar Switch - Right
(3)
Endgate Lock Actuator and Ajar Switch - Right
(4)
Endgate Lock Actuator and Ajar Switch - Left
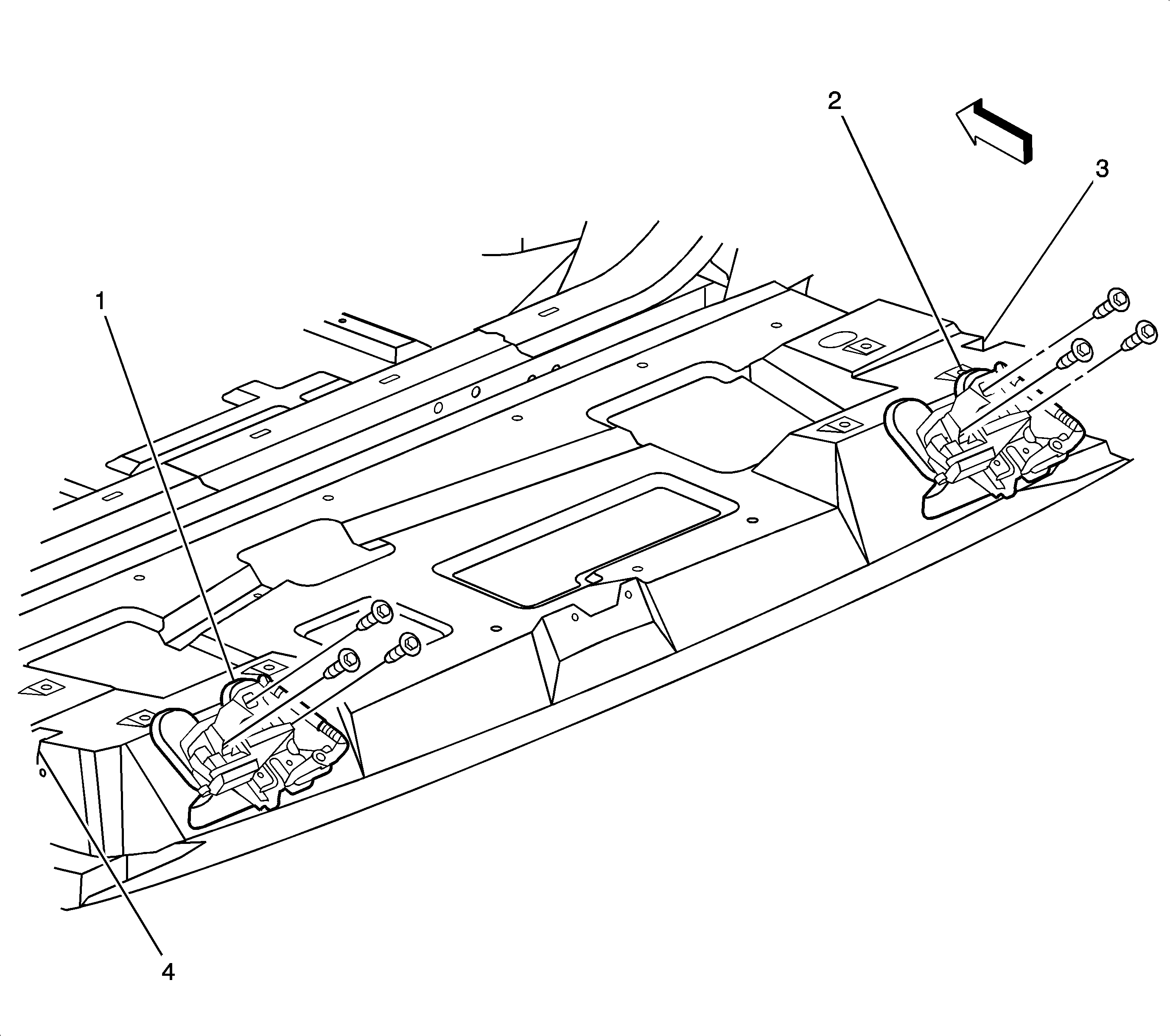
Figure
4:
Liftgate Lock Actuator - Buick
(1)
Liftgate Latch
(2)
Liftgate