GM Service Manual Online
For 1990-2009 cars only
Figure 1:

Engine Covers and Component Assemblies (1 of 2)


Object Number: 913371  Size: LF
(3)Engine Assembly
(6)Intake Manifold Assembly
(9)Left Camshaft Cover Assembly
(10)Right Camshaft Cover Assembly
(14)Engine Front Cover Assembly
(15)Oil Pan Assembly
(140)Engine Flywheel
(141)Engine Flywheel Bolt
(390)Crankshaft Balancer
(391)Crankshaft Balancer Bolt
(601)Left Exhaust Manifold Gasket
(602)Left Exhaust Manifold
(610)Left Exhaust Manifold Heat Shield
(611)Left Exhaust Manifold Heat Shield Bolt
(621)Right Exhaust Manifold Gasket
(622)Right Exhaust Manifold
(625)Cylinder Head Exhaust Manifold Bolt
(625)Cylinder Head Exhaust Manifold Bolt
(630)Right Exhaust Manifold Heat Shield
(631)Right Exhaust Manifold Heat Shield Bolt
(704)Ignition Coil Assembly
(704)Ignition Coil Assembly
(705)Ignition Coil Assembly Bolt
(705)Ignition Coil Assembly Bolt
(719)Spark Plug
(719)Spark Plug
(739)Crankshaft Position Sensor Heat Shield
(764)Crankshaft Position Sensor Heat Shield Bolt - Large
(769)Crankshaft Position Sensor Heat Shield Bolt - Small
Figure 2:

Engine Covers and Component Assemblies (2 of 2)


Object Number: 913382  Size: LF
(4)Engine Short Block Assembly
(7)Left Cylinder Head Assembly
(8)Right Cylinder Head Assembly
(13)Oil Pump Assembly
(16)Oil Filter Adapter Assembly
(19)Timing Drive Assembly
(302)Left Cylinder Head Gasket
(303)Right Cylinder Head Gasket
(365)Engine Cooling Thermostat
(366)Engine Cooling Thermostat Gasket
(367)Engine Cooling Thermostat Housing
(368)Engine Cooling Thermostat Housing Bolt
(369)Engine Cooling Thermostat Bolt - Short
(377)Water Outlet Seal
(378)Water Outlet O-ring
(379)Water Outlet Bolt
(380)Water Outlet
(430)Oil Level Indicator
(431)Oil Level Indicator Tube
(432)Oil Level Indicator Tube O-ring
(433)Oil Level Indicator Tube Bolt
(434)Oil Level Indicator O-ring
(720)Crankshaft Position Sensor
(721)Crankshaft Position Sensor O-ring
(722)Crankshaft Position Sensor Bolt
(723)Knock Sensor
(723)Knock Sensor
(724)Knock Sensor Bolt
(724)Knock Sensor Bolt
Figure 3:

Camshaft Cover Assembly


Object Number: 911327  Size: MF
(250)Left Camshaft Cover
(251)Left Camshaft Cover Gasket
(252)Right Camshaft Cover
(253)Right Camshaft Cover Gasket
(254)Camshaft Cover Spark Plug Port Seal
(254)Camshaft Cover Spark Plug Port Seal
(255)Camshaft Cover Bolt
(255)Camshaft Cover Bolt
(256)Camshaft Cover Bolt Insulator
(256)Camshaft Cover Bolt Insulator
(257)Ignition Coil Bolt Thread Insert
(258)Oil Fill Cap
(259)Oil Fill O-Ring
(259)Oil Fill O-Ring
(260)Left Camshaft Cover PCV Fitting
(261)Right Camshaft Cover PCV Fitting Orifice
(262)Oil Fill Tube
(263)Left Camshaft Cover PCV Fitting O-Ring
(704)Ignition Coil
(704)Ignition Coil
(705)Ignition Coil Bolt
(705)Ignition Coil Bolt
(719)Spark Plug
(719)Spark Plug
Figure 4:

Camshaft Timing Components


Object Number: 1549358  Size: LF
(150)Crankshaft Sprocket
(151) Primary Timing Chain Lower Guide
(152)Primary Timing Chain Tensioner
(153)Timing Chain Tensioner and Guide Bolt
(153)Timing Chain Tensioner and Guide Bolt
(153)Timing Chain Tensioner and Guide Bolt
(153)Timing Chain Tensioner and Guide Bolt
(153)Timing Chain Tensioner and Guide Bolt
(154) Primary Timing Chain Lower Guide Bolt
(155)Primary Timing Chain
(156) Primary Timing Chain Upper Guide
(161)Camshaft Intermediate Drive Shaft Sprocket Bolt
(161)Camshaft Intermediate Drive Shaft Sprocket Bolt
(164)Primary Timing Chain Tensioner Gasket
(165)Left Camshaft Intermediate Drive Shaft Sprocket
(166)Right Camshaft Intermediate Drive Shaft Sprocket
(170)Left Secondary Timing Chain
(170)Left Secondary Timing Chain
(171)Left Secondary Timing Chain Guide
(173)Left Secondary Timing Chain Shoe
(174)Secondary Timing Chain Shoe Bolt
(174)Secondary Timing Chain Shoe Bolt
(175)Left Secondary Timing Chain Tensioner
(177)Left Secondary Timing Chain Tensioner Gasket
(181)Right Secondary Timing Chain Guide
(182)Right Secondary Timing Chain Guide Bolt
(183)Right Secondary Timing Chain Shoe
(185)Right Secondary Timing Chain Tensioner
(187)Right Secondary Timing Chain Tensioner Gasket
(190)Exhaust Camshaft Position Actuator
(190)Exhaust Camshaft Position Actuator
(191)Intake Camshaft Position Actuator
(191)Intake Camshaft Position Actuator
(192)Camshaft Position Actuator Bolt
(192)Camshaft Position Actuator Bolt
(192)Camshaft Position Actuator Bolt
(192)Camshaft Position Actuator Bolt
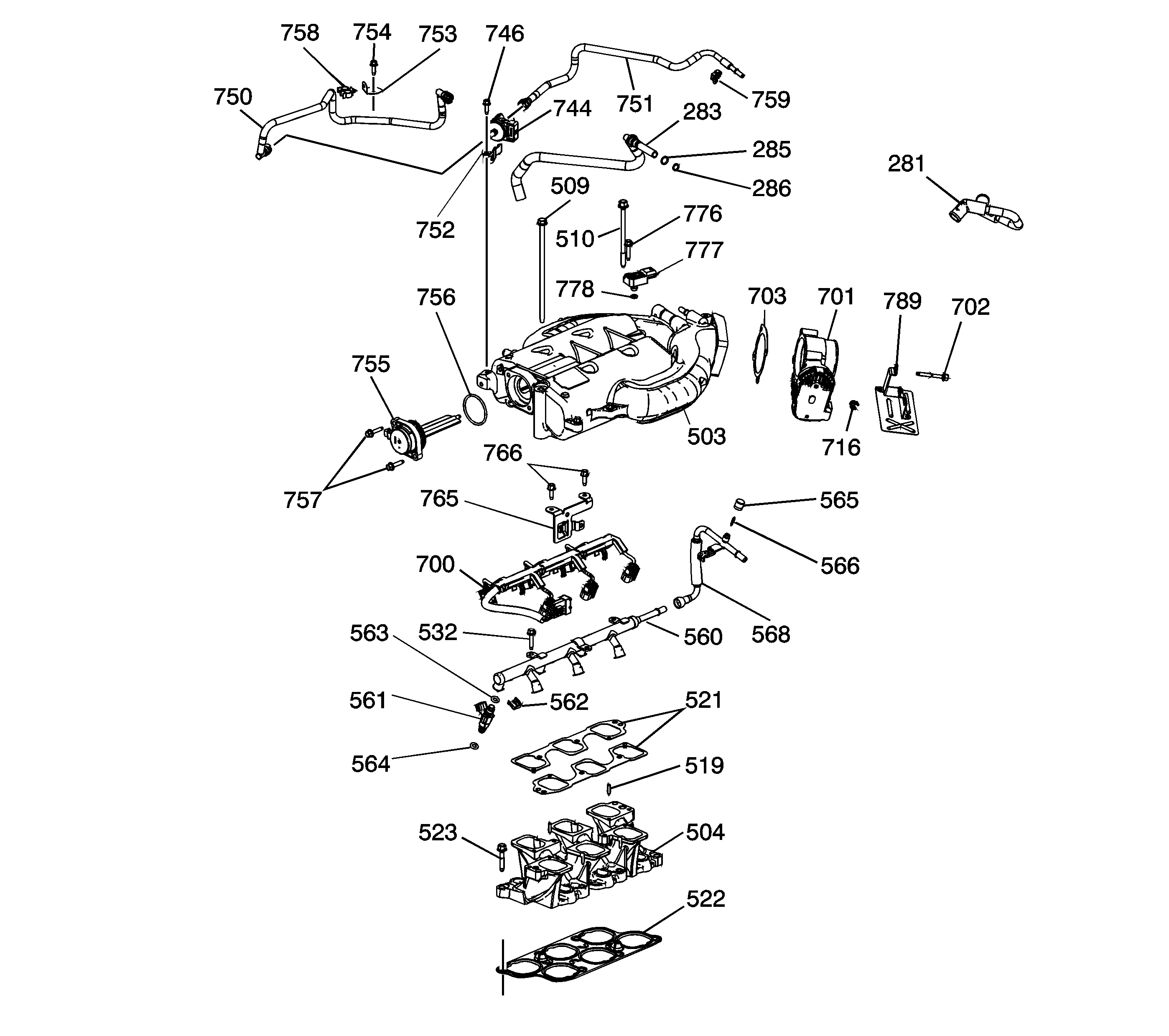
Figure 5:

Intake Manifold


Object Number: 913385  Size: LF
(281)Clean PCV Hose
(283)Dirty PCV Hose
(285)PCV Hose O-ring Outer/Larger
(286)PCV Hose O-ring Inner/Smaller
(503)Upper Intake Manifold
(504)Lower Intake Manifold
(509)Upper Intake Manifold Bolt - Long
(510)Upper Intake Manifold Bolt - Short
(519)Lower Intake Manifold to Upper Intake Manifold Dowel Pin
(521)Upper Intake Manifold Gasket
(522)Lower Intake Manifold Gasket
(523)Lower Intake Manifold Bolt
(532)Fuel Rail Bolt
(560)Fuel Rail
(561)Fuel Injector
(562)Fuel Injector Retainer
(563)Fuel Injector Upper Seal
(564)Fuel Injector Lower Seal
(565)Fuel Pressure Service Valve Cap
(566)Fuel Pressure Service Valve
(568)Fuel Rail Feed Hose
(700)Fuel Injector Wiring Harness
(701)Throttle Body
(702)Throttle Body Bolt
(703)Throttle Body Gasket
(716)Throttle Body Engine Wiring Harness Clip
(744)EVAP Purge Solenoid
(746)EVAP Purge Solenoid Bolt
(750)EVAP Purge Solenoid Tube - Intake Manifold to EVAP Solenoid
(751)EVAP Purge Solenoid Tube - EVAP Solenoid to Chassis
(752)EVAP Purge Solenoid Bracket
(753)EVAP Purge Solenoid Tube Bracket
(754)EVAP Purge Solenoid Tube Bracket Bolt
(755)Intake Manifold Tuning Valve
(756)Intake Manifold Tuning Valve O-ring
(757)Intake Manifold Tuning Valve Bolt
(758)EVAP Purge Solenoid Tube Clip
(759)EVAP Purge Solenoid Tube Clip
(765)Fuel Injector Wiring Harness Bracket
(766)Fuel Injector Wiring Harness Bracket Bolt
(776)BARO Sensor Bolt
(777)BARO Sensor
(778)BARO Sensor O-ring
(789)Throttle Body Heat Shield
Figure 6:

Fuel Rail


Object Number: 913389  Size: MF
(532)Fuel Rail Bolt
(560)Fuel Rail
(561)Fuel Injector
(562)Fuel Injector Retainer
(563)Fuel Injector Upper Seal
(564)Fuel Injector Lower Seal
(565)Fuel Pressure Service Valve Cap
(566)Fuel Pressure Service Valve
(568)Fuel Rail Feed Hose
(700)Fuel Injector Wiring Harness
(765)Fuel Injector Wiring Harness Bracket
(766)Fuel Injector Wiring Harness Bracket Bolt
Figure 7:

Cylinder Head Assemblies


Object Number: 911336  Size: MF
(300)Left Cylinder Head
(301)Right Cylinder Head
(302)Left Cylinder Head Gasket
(303)Right Cylinder Head Gasket
(310)Cylinder Head Bolt
(311)Cylinder Head Front Bolt
(313)Cylinder Head Coolant Hole Threaded Plug
(318)Spark Plug Sleeve
(319)Cylinder Head Oil Gallery Expansion Plug - 14 mm
(319)Cylinder Head Oil Gallery Expansion Plug - 14 mm
(320)Exhaust Valve
(321)Intake Valve
(322)Valve Rocker Arm Assembly
(323)Hydraulic Valve Lash Adjuster Assembly
(324)Valve Stem Oil Seal
(325)Valve Spring
(326)Valve Spring Cap
(327)Valve Stem Key
(328)Cylinder Head Camshaft Front Thrust Bearing Cap
(328)Cylinder Head Camshaft Front Thrust Bearing Cap
(329)Camshaft Oil Seal Ring
(330)Left Exhaust Camshaft
(331)Left Intake Camshaft
(332)Right Intake Camshaft
(333)Right Exhaust Camshaft
(336)Cylinder Head Camshaft Cap - Intermediate
(337)Cylinder Head Camshaft Cap Bolt
(339)Cylinder Head Oil Gallery Check Valve
(711)Engine Coolant Temperature Sensor
Figure 8:

Engine Front Cover


Object Number: 913394  Size: MF
(132)Engine Front Cover Locating Pin
(350)Engine Front Cover
(351)Engine Front Cover Gasket
(352)Engine Front Cover Bolt
(353)Engine Front Cover Seal
(360)Water Pump Assembly
(361)Water Pump Bolt
(362)Water Pump Gasket
(363)Water Pump Pulley
(390)Crankshaft Balancer
(391)Crankshaft Balancer Bolt
(364)Water Pump Pulley Bolt
(725)Camshaft Position Sensor
(726)Camshaft Position Sensor O-ring
(727)Camshaft Position Sensor Bolt
(732)Camshaft Position Actuator Solenoid Valve
(733)Camshaft Position Actuator Solenoid Valve Bolt
(734)Camshaft Position Actuator Solenoid Valve Seal
Figure 9:

Oil Pump


Object Number: 902913  Size: MF
(151) Primary Lower Timing Chain Guide
(154) Primary Lower Timing Chain Guide Bolt
(463)Oil Pump Housing
(464)Oil Pump Cover
(465)Oil Pump Driven Gear
(466)Oil Pump Drive Gear
(468)Oil Pump Cover Bolt
(470)Oil Pressure Relief Valve Bore Plug
(471)Oil Pressure Relief Valve Spring
(472)Oil Pressure Relief Valve
(474)Oil Pressure Relief Valve Bore Plug Retainer Clip
(475)Oil Pump Bolt
Figure 10:

Engine Block Assembly


Object Number: 911342  Size: LF
(15)Piston and Connecting Rod Assembly
(100)Engine Block
(110)Crankshaft Bearing Cap
(111)Crankshaft Bearing Thrust Cap
(114)Crankshaft Bearing Cap Inboard Bolt
(115)Crankshaft Bearing Cap Outboard Bolt
(116)Crankshaft Bearing Cap Side Bolt - Short
(117)Crankshaft Bearing Cap Side Bolt - Long
(119)Engine Block Oil Gallery Expansion Plug - 10 mm
(120)Crankshaft
(121)Crankshaft Sprocket Locating Pin
(122)Crankshaft Upper Bearing
(123)Crankshaft Lower Bearing
(124)Crankshaft Upper Thrust Bearing #3
(126)Engine Block Oil Gallery Expansion Plug - 14 mm
(127)Engine Block Oil Gallery Threaded Plug - 14 mm
(127)Engine Block Oil Gallery Threaded Plug - 14 mm
(128)Engine Block Coolant Drain Threaded Plug - 14 mm
(129)Engine Block Oil Gallery Threaded Plug - 20 mm
(130)Engine Block Core Coolant Expansion Plug - 34.3 mm
(131)Transaxle Locating Pin
(133)Crankshaft Rear Oil Seal Housing Assembly
(134)Crankshaft Rear Oil Seal Housing Assembly Bolt
(135)Oil Pan Locating Pin
(137)Cylinder Head Locating Pin
(490)Piston Oil Nozzle
(491)Piston Oil Nozzle Bolt
Figure 11:

Piston, Rings, Bearing and Connecting Rod


Object Number: 911347  Size: LF
(200)Connecting Rod
(201)Connecting Rod Bolt
(202)Connecting Rod Bushing
(203)Connecting Rod Bearing
(210)Piston
(211)Piston Pin
(212)Piston Pin Retainer
(212)Piston Pin Retainer
(213)Piston Upper Compression Ring
(214)Piston Lower Compression Ring
(215)Piston Oil Control Rail Ring
(216)Piston Oil Control Ring Spacer
Figure 12:

Oil Pan Assembly


Object Number: 913397  Size: LF
(400)Oil Pan
(403)Oil Pan Baffle
(405)Oil Pump Suction Pipe
(406)Oil Pump Suction Pipe Gasket
(407)Oil Pump Suction Pipe Bolt
(407)Oil Pump Suction Pipe Bolt
(410)Oil Pan Baffle Scraper
(411)Oil Pan Baffle Scraper Bolt
(412)Oil Pan Drain Plug
(413)Oil Pan Drain Plug O-ring
(420)Oil Pan Bolt
(422)Oil Pan Bolt - Long
(712)Engine Oil Level Sensor
(713)Engine Oil Level Sensor O-ring
Figure 13:

Oil Filter Adapter


Object Number: 913399  Size: MF
(440)Oil Filter Adapter
(441)Oil Filter Adapter Gasket
(442)Oil Filter Adapter Bolt
(443)Oil Filter Adapter Bolt - Long
(445)Oil Filter Fitting
(446)Oil Filter Bypass Valve
(449)Oil Filter
(728)Engine Oil Pressure Sensor
(729)Engine Oil Pressure Sensor O-ring.