GM Service Manual Online
For 1990-2009 cars only

Removal Procedure


    Object Number: 865447  Size: SH
  1. Remove the accessory fill valve access cover.
  2. Remove the lower rear quarter trim panel. Refer to Quarter Lower Rear Trim Panel Replacement .
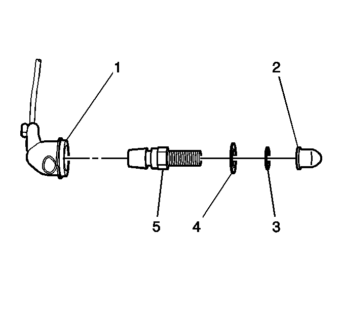
  3. Disconnect the air hose (1) from the accessory fill valve (5).
  4. Remove the cap (2), nut (3), and washer (4) from the accessory fill valve (5) .
  5. Remove the accessory fill valve from the trim panel.

Installation Procedure


    Object Number: 865447  Size: SH
  1. Install the accessory fill valve into the trim panel.
  2. Notice: Refer to Fastener Notice in the Preface section.

  3. Install the washer (4) and the nut (3) to the accessory fill valve.
  4. Tighten
    Tighten the accessory fill valve nut to 6 N·m (53 lb in).

  5. Install the cap to the accessory fill valve.
  6. Install the hose (1) onto the accessory fill valve (5).
  7. Install the lower rear quarter trim panel. Refer to Quarter Lower Rear Trim Panel Replacement .
  8. Install the accessory fill valve access cover.