GM Service Manual Online
For 1990-2009 cars only
Makes
🢒
Buick
🢒
2005
🢒
Rendezvous - AWD
🢒
Engine
🢒
Engine Controls - 3.6L (LY7)
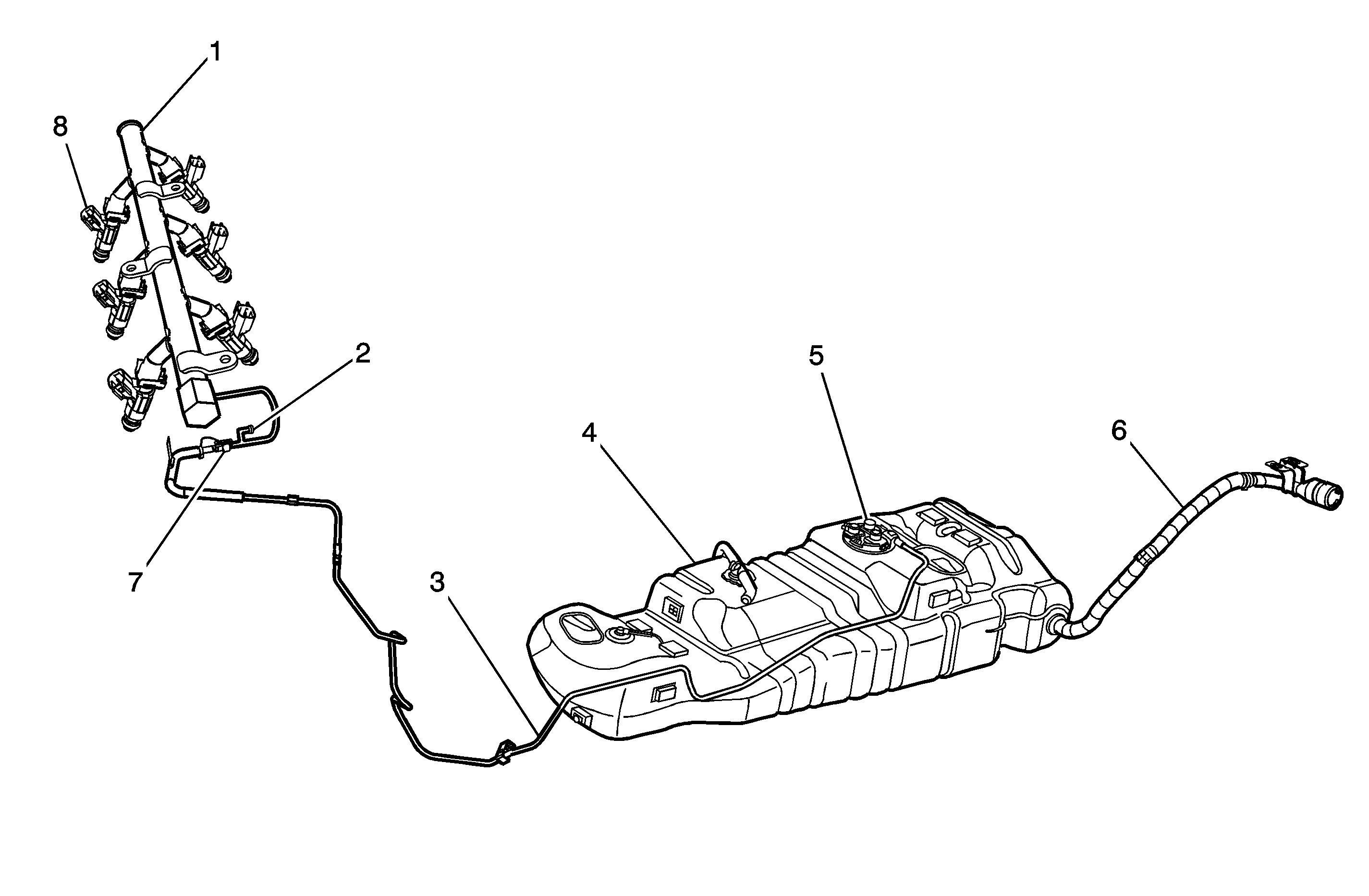
🢒 Fuel Hose/Pipes Routing Diagram
(1)
Fuel Rail Assembly
(2)
Fuel Pressure Test Connection
(3)
Fuel Feed Pipe
(4)
Fuel Tank
(5)
Fuel Sender Assembly
(6)
Fuel Filler Tube
(7)
Fuel Feed Pipe - Fuel Rail Connection
(8)
Fuel Injector