GM Service Manual Online
For 1990-2009 cars only

Removal Procedure


    Object Number: 621482  Size: SH
  1. Remove the front bumper fascia. Refer to Front Bumper Upper Fascia Replacement .
  2. Remove the energy absorber. Refer to Front Bumper Fascia Energy Absorber Replacement .
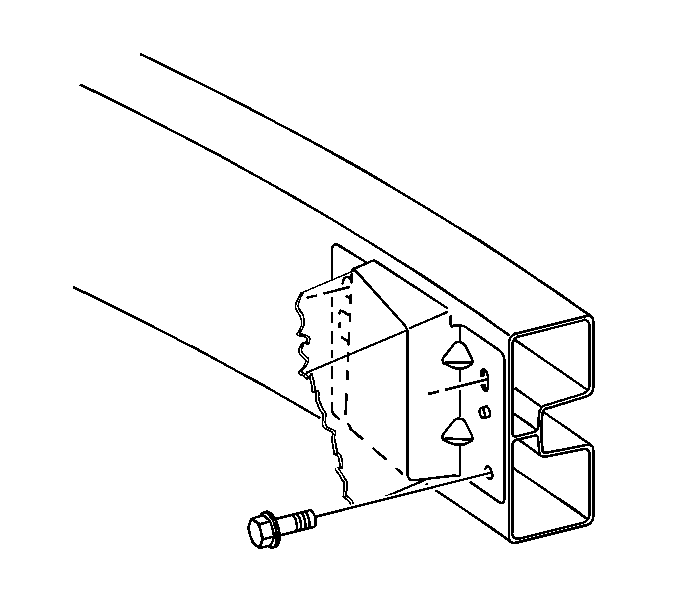
  3. Remove the bolt from the upper inboard impact bar through the access hole in the radiator support.

  4. Object Number: 621492  Size: SH
  5. Disconnect the electrical connector from the horn.
  6. Remove the horns from the impact bar.

  7. Object Number: 621493  Size: SH
  8. Remove the remainder of the impact bar bolts.
  9. Remove the impact bar.

Installation Procedure


    Object Number: 621493  Size: SH

    Important: Position the left side first, then the right side.

  1. Position the impact bar to the body using the alignment pin for location.
  2. Notice: Refer to Fastener Notice in the Preface section.

  3. Install the bolts to secure the impact bar to the front bumper.
  4. Tighten
    Tighten the bolts to 25 N·m (18 lb ft).


    Object Number: 621482  Size: SH
  5. Through the access hole in the radiator support, install the bolt to secure the impact bar to the front bumper.
  6. Tighten
    Tighten the bolt to 50 N·m (37 lb ft).


    Object Number: 621492  Size: SH
  7. Install the horn to the impact bar.
  8. Install the impact bar bolt to the horn.
  9. Tighten
    Tighten the bolt to 50 N·m (37 lb ft).

  10. Connect the electrical connector to the horn.
  11. Install the energy absorber. Refer to Front Bumper Fascia Energy Absorber Replacement .
  12. Install the front bumper fascia. Refer to Front Bumper Upper Fascia Replacement .