GM Service Manual Online
For 1990-2009 cars only

DTC P0719 3.5L


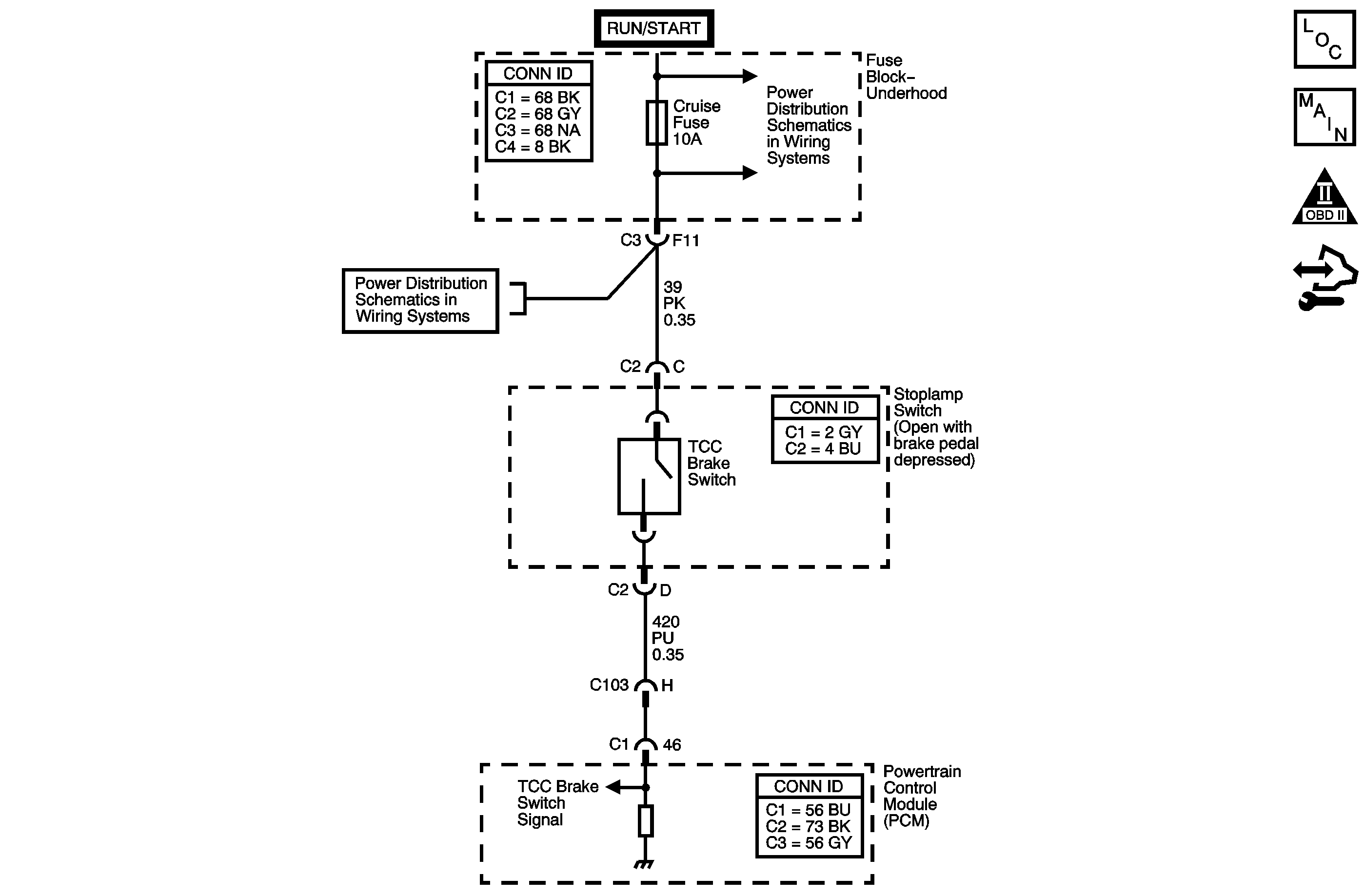
Object Number: 1578797  Size: MF
Master Electrical Component List
Automatic Transmission Controls Schematics
OBD II Symbol Description Notice
Control Module References

Circuit Description

The TCC brake switch indicates brake pedal status to the PCM. The TCC brake switch indicates that the brake pedal is either applied or released. The normally-open switch supplies battery voltage to the PCM. Applying the brake pedal opens the TCC brake switch, interrupting voltage to the PCM. When the PCM receives 0 volts at the TCC brake switch input, the PCM turns OFF the torque converter clutch pulse width modulation (TCC PWM) solenoid valve.

If the PCM detects an open brake switch, indicating pedal applied during a number of accelerations, then DTC P0719 sets. DTC P0719 is a type C DTC.

DTC Descriptor

This diagnostic procedure supports the following DTC:

DTC P0719 Brake Switch Circuit Low Voltage

Conditions for Running the DTC

    • No VSS DTC P0502 or P0503.
    • DTC P0719 has not passed this ignition cycle.

Conditions for Setting the DTC

The TCC brake switch indicates continuously OPEN (0 volts) for more than 15 minutes and the following conditions occur 8 times consecutively.

    • The vehicle speed is less than 8 km/h (5 mph);
    • Then the vehicle speed is between 8-32 km/h (5-20 mph) for 3 seconds;
    • Finally, the vehicle speed remains above 32 km/h (20 mph) for 6 seconds.

Action Taken When the DTC Sets

    • The PCM does not illuminate the malfunction indicator lamp (MIL).
    • The PCM disregards the TCC brake switch for TCC scheduling when all of the following conditions are met:
       - The TP angle is greater than 6 percent.
       - The vehicle speed is greater than 60 km/h (37 mph).
       - The TP angle was previously greater than 12 percent while the vehicle speed was greater than 68 km/h (42 mph).
       - The TCC brake switch has not indicated OFF for more than 2 seconds this trip.
    • The PCM records the operating conditions when the Conditions for Setting the DTC are met. The PCM stores this information as Failure Records.
    • The PCM stores DTC P0719 in PCM history.

Conditions for Clearing the DTC

    • A scan tool can clear the DTC.
    • The PCM clears the DTC from PCM history if the vehicle completes 40 warm-up cycles without a non-emission related diagnostic fault occurring.
    • The PCM cancels the DTC default actions when the fault no longer exists and the DTC passes.

Test Description

The number below refers to the step number on the diagnostic table.

  1. This step isolates the fault between the TCC brake switch and the harness.

Step

Action

Value(s)

Yes

No

1

Did you perform the Diagnostic System Check - Vehicle?

--

Go to Step 2

Go to Diagnostic System Check - Vehicle

2

  1. Install a scan tool.
  2. Turn ON the ignition with the engine OFF.
  3. Important: Before clearing the DTCs, use the scan tool in order to record the Failure Records for reference. Using the Clear DTC Information function will erase the stored Failure Records from the PCM.

  4. Record the Failure Records.
  5. Clear the DTCs.
  6. With the scan tool, observe the TCC Brake Switch parameter.

Does the scan tool display Closed?

--

Go to Testing for Intermittent Conditions and Poor Connections

Go to Step 3

3

Important: The condition that affects this circuit may exist in other connecting branches of the circuit. Refer to Power Distribution Schematics for complete circuit distribution.

  1. Remove the fuse from the ignition 1 voltage circuit.
  2. Inspect the fuse for an open.
  3. Refer to Circuit Protection - Fuses .

  4. Replace the fuse if necessary.

Was the fuse open?

--

Go to Step 4

Go to Step 5

4

Important: The condition that affects this circuit may exist in other connecting branches of the circuit. Refer to Power Distribution Schematics for complete circuit distribution.

  1. Test the ignition 1 voltage circuit of the TCC brake switch for a short to ground between the fuse block and the brake switch.
  2. Test the signal circuit of the TCC brake switch for a short to ground between the PCM and the TCC brake switch.

Refer to Testing for Short to Ground and Wiring Repairs .

Did you find and correct the condition?

--

Go to Step 10

--

5

    Caution: Refer to SIR Caution in the Preface section.

  1. Disconnect TCC brake switch 4-way connector.
  2. Connect a fused jumper wire between the ignition 1 voltage circuit and the TCC brake switch signal circuit of the TCC brake switch connector.
  3. Turn ON the ignition, with the engine OFF.
  4. With a scan tool, observe the TCC Brake Switch parameter.

Does the scan tool display Closed?

--

Go to Step 8

Go to Step 6

6

Test the ignition 1 voltage circuit of the TCC brake switch for an open between the fuse block and the brake switch.

Refer to Testing for Continuity and Wiring Repairs .

Did you find and correct the condition?

--

Go to Step 10

Go to Step 7

7

Test the signal circuit of the TCC brake switch for an open between the PCM and the brake switch.

Refer to Testing for Continuity and Wiring Repairs .

Did you find and correct the condition?

--

Go to Step 10

Go to Step 9

8

Replace the TCC brake switch.

Refer to Stop Lamp Switch Replacement .

Did you complete the repair?

--

Go to Step 10

--

9

Replace the PCM.

Refer to Control Module References for replacement, setup and programming.

Did you complete the repair?

--

Go to Step 10

--

10

Perform the following procedure in order to verify the repair:

  1. Select DTC.
  2. Select Clear DTC Information.
  3. Turn ON the ignition with the engine OFF. The TCC brake switch must be Closed, pedal released, for more than 2 seconds.
  4. Select Specific DTC.
  5. Enter DTC P0719.

Has the test run and passed?

--

Go to Step 11

Go to Step 2

11

With a scan tool, observe the stored information, capture info and DTC info.

Does the scan tool display any DTCs that you have not diagnosed?

--

Go to Diagnostic Trouble Code (DTC) List - Vehicle

System OK

DTC P0719 3.6L


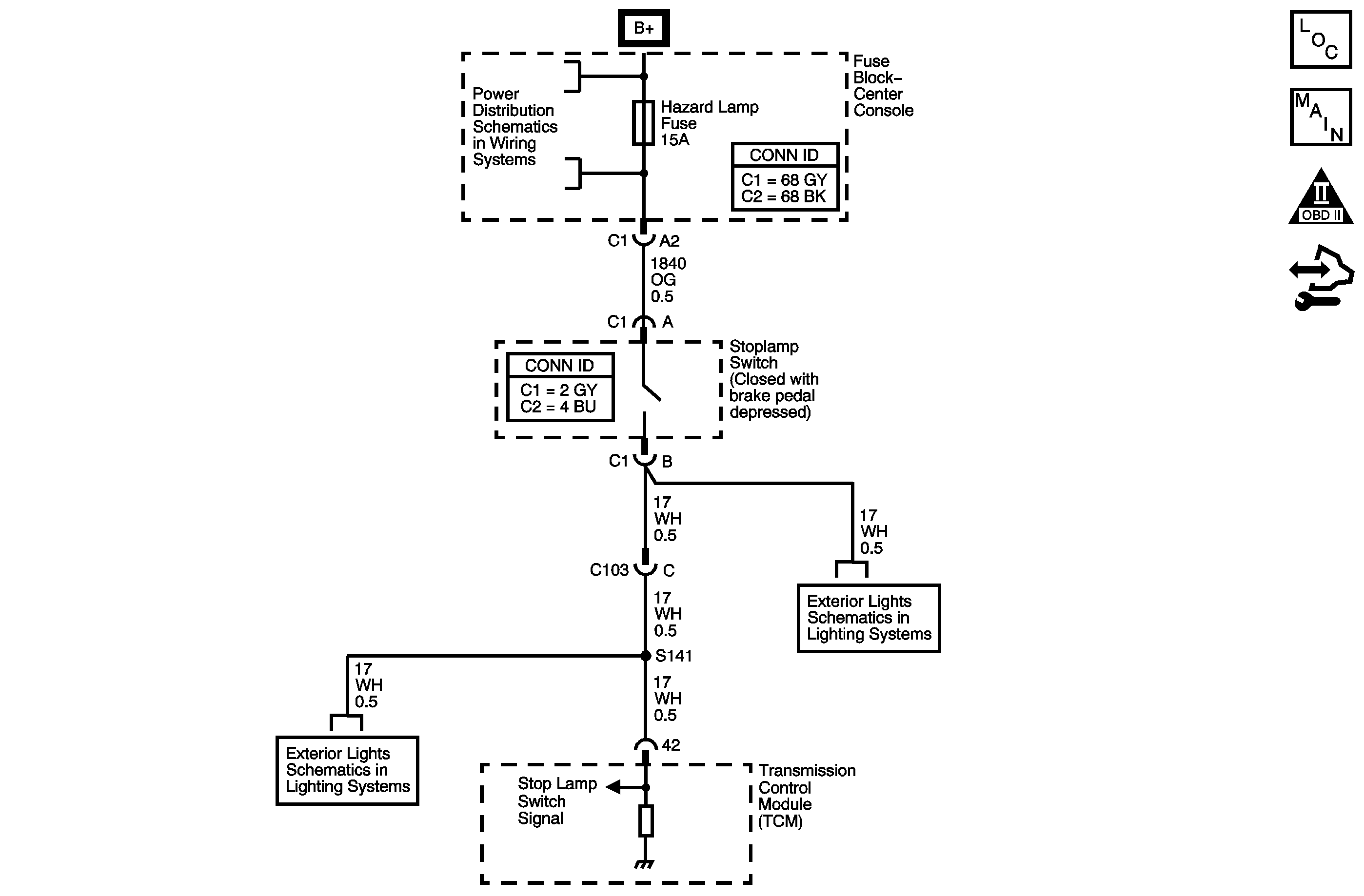
Object Number: 1714845  Size: MF
Master Electrical Component List
Automatic Transmission Controls Schematics
OBD II Symbol Description Notice
Control Module References

Circuit Description

The TCC brake switch indicates brake pedal status to the TCM. The TCC brake switch indicates that the brake pedal is either applied or released. The normally-open switch supplies battery voltage to the TCM. Applying the brake pedal opens the TCC brake switch, interrupting voltage to the TCM. When the TCM receives 0 volts at the TCC brake switch input, the TCM turns OFF the torque converter clutch pulse width modulation (TCC PWM) solenoid valve.

If the TCM detects an open brake switch, indicating pedal applied during a number of accelerations, then DTC P0719 sets. DTC P0719 is a type C DTC.

DTC Descriptor

This diagnostic procedure supports the following DTC:

DTC P0719 Brake Switch Circuit Low Voltage

Conditions for Running the DTC

    • No OSS DTC P0722 or P0723.
    • DTC P0719 has not passed this ignition cycle.

Conditions for Setting the DTC

    • The TCC brake switch indicates continuously OFF for 8 times during deaccelerations.
    • The vehicle speed is greater than 32 km/h (20 mph) for 6 seconds.
    • Then the vehicle speed is between 8 and 32 km/h (5 and 20 mph) for at least 6 seconds;
    • Finally, the vehicle speed remains below 8 km/h (5 mph) for 2 seconds.

Action Taken When the DTC Sets

    • The TCM does not request the ECM to illuminate the malfunction indicator lamp (MIL).
    • The TCM records the operating conditions when the Conditions for Setting the DTC are met. The TCM stores this information as Failure Records.
    • The TCM stores DTC P0719 in TCM history.

Conditions for Clearing the DTC

    • A scan tool can clear the DTC.
    • The TCM clears the DTC from TCM history if the vehicle completes 40 warm-up cycles without a non-emission related diagnostic fault occurring.
    • The TCM cancels the DTC default actions when the fault no longer exists and the DTC passes.

Test Description

The number below refers to the step number on the diagnostic table.

  1. This step isolates the fault between the TCC brake switch and the harness.

Step

Action

Value(s)

Yes

No

1

Did you perform the Diagnostic System Check - Vehicle?

--

Go to Step 2

Go to Diagnostic System Check - Vehicle

2

  1. Install a scan tool.
  2. Turn ON the ignition with the engine OFF.
  3. Important: Before clearing the DTCs, use the scan tool in order to record the Failure Records for reference. Using the Clear Info function will erase the stored Failure Records from the TCM.

  4. Record the Failure Records.
  5. Clear the DTCs.
  6. With the scan tool, observe the TCC Brake Switch parameter.

Does the scan tool display Closed?

--

Go to Testing for Intermittent Conditions and Poor Connections

Go to Step 3

3

Important: The condition that affects this circuit may exist in other connecting branches of the circuit. Refer to Power Distribution Schematics for complete circuit distribution.

  1. Remove the fuse from the ignition 1 voltage circuit.
  2. Inspect the fuse for an open.
  3. Refer to Circuit Protection - Fuses .

  4. Replace the fuse if necessary.

Was the fuse open?

--

Go to Step 4

Go to Step 5

4

Important: The condition that affects this circuit may exist in other connecting branches of the circuit. Refer to Power Distribution Schematics for complete circuit distribution.

  1. Test the ignition 1 voltage circuit of the TCC brake switch for a short to ground between the fuse block and the brake switch.
  2. Test the signal circuit of the TCC brake switch for a short to ground between the TCM and the TCC brake switch.

Refer to Testing for Short to Ground and Wiring Repairs .

Did you find and correct the condition?

--

Go to Step 10

--

5

    Caution: Refer to SIR Caution in the Preface section.

  1. Disconnect TCC brake switch 4-way connector.
  2. Connect a fused jumper wire between the ignition 1 voltage circuit and the TCC brake switch signal circuit of the TCC brake switch connector.
  3. Turn ON the ignition, with the engine OFF.
  4. With a scan tool, observe the TCC Brake Switch parameter.

Does the scan tool display Closed?

--

Go to Step 8

Go to Step 6

6

Test the ignition 1 voltage circuit of the TCC brake switch for an open between the fuse block and the brake switch.

Refer to Testing for Continuity and Wiring Repairs .

Did you find and correct the condition?

--

Go to Step 10

Go to Step 7

7

Test the signal circuit of the TCC brake switch for an open between the TCM and the brake switch.

Refer to Testing for Continuity and Wiring Repairs .

Did you find and correct the condition?

--

Go to Step 10

Go to Step 9

8

Replace the TCC brake switch.

Refer to Stop Lamp Switch Replacement .

Did you complete the repair?

--

Go to Step 10

--

9

Replace the TCM.

Refer to Control Module References for replacement, setup and programming.

Did you complete the repair?

--

Go to Step 10

--

10

Perform the following procedure in order to verify the repair:

  1. Select DTC.
  2. Select Clear Info.
  3. Turn ON the ignition with the engine OFF. The TCC brake switch must be ON, pedal applied, for more than 5 seconds.
  4. Select Specific DTC.
  5. Enter DTC P0719.

Has the test run and passed?

--

Go to Step 11

Go to Step 2

11

With a scan tool, observe the stored information, capture info and DTC info.

Does the scan tool display any DTCs that you have not diagnosed?

--

Go to Diagnostic Trouble Code (DTC) List - Vehicle

System OK