GM Service Manual Online
For 1990-2009 cars only
Figure 1:

Upper Intake Manifold and Components


Object Number: 1786754  Size: LF
(1)Exhaust Gas Recirculation Valve Bolts
(2)Exhaust Gas Recirculation Valve
(3)Engine Oil Cooler Hose Clamp
(4)Thermostat Bypass Pipe Adapter Seal
(5)Thermostat Bypass Pipe Clamp
(6)Thermostat Bypass Hose
(7)Thermostat Bypass Pipe Clamp
(8)Thermostat Bypass Pipe Bolt
(9)Engine Oil Cooler Hose
(10)Engine Oil Cooler Hose Clamp
(11)Thermostat Bypass Pipe Bolt
(12)Thermostat Bypass Pipe Clip Nut
(13)Thermostat Bypass Pipe
(14)Exhaust Crossover Pipe Heat Shield
(15)Exhaust Crossover Pipe Heat Shield Bolt
(16)Exhaust Crossover Pipe Nut
(17)Exhaust Crossover Pipe
(18)Exhaust Crossover Pipe Stud
(19)Engine Oil Cooler Pipe
(20)EVAP Purge Valve
(21)Engine Oil Cooler Pipe Bolt
(22)Upper Intake Manifold Bolt
(23)Spark Plug Wire Support
(24)EVAP Purge Valve Spacer Plate Seal
(25)EVAP Purge Valve Spacer Plate
(26)EVAP Purge Valve Seal
(27)EVAP Purge Valve Bolt
(28)Throttle Body Bolt
(29)Positive Crankcase Ventilation Tube Clip Bolt
(30)Positive Crankcase Ventilation Tube Clip
(31)Positive Crankcase Ventilation Tube
(32)Positive Crankcase Ventilation Valve Orifice
(33)Throttle Body Nut
(34)Valve Rocker Arm Cover
(35)Oil Filler Cap Seal
(36)Oil Filler Cap
(37)Throttle Body
(38)Throttle Body Seal
(39)Throttle Body Stud
(40)Valve Rocker Arm Cover Gasket
(41)Upper Intake Manifold Gasket
(42)Upper Intake Manifold
(43)Ignition Coil Stud
(44)Ignition Coil
(45)Ignition Coil Bolt
(46)Ignition Coil Bracket Nut
(47)Upper Intake Manifold Stud
(48)MAP Sensor Seal
(49)MAP Sensor
(50)MAP Sensor Clip
(51)MAP Sensor Bolt
(52)Exhaust Gas Recirculation Valve Pipe
(53)Exhaust Gas Recirculation Valve Pipe Bolt
(54)Exhaust Gas Recirculation Valve Gasket
Figure 2:

Lower Intake Manifold, Cylinder Head, and Components


Object Number: 1786764  Size: LF
(1)Valve Rocker Arm Cover Bolt
(2)Positive Crankcase Ventilation Tube
(3)Spark Plug Wire Harness
(4)Spark Plug Wire Harness
(5)Spark Plug Wire Support
(6)Fuel Service Port Cap
(7)Fuel Schrader Valve
(8)Lower Intake Manifold Bolt
(9)Sequential Multiport Fuel Injection Fuel Rail Bolt
(10)Sequential Multiport Fuel Injection Fuel Rail
(11)Fuel Injector Seal
(12)Fuel Injector Retainer
(13)Sequential Multiport Fuel Injector
(14)Fuel Injector Seal
(15)Engine Coolant Thermostat
(16)Engine Coolant Thermostat Seal
(17)Water Outlet Bolt
(18)Water Outlet Housing Fitting
(19)Valve Push Rod
(20)Valve Rocker Arm Bolt
(21)Valve Rocker Arm
(22)Valve Push Rod
(23)Water Outlet
(24)Valve Stem Key
(25)Valve Spring Cap
(25)Valve Spring Cap
(26)Valve Spring
(26)Valve Spring
(27)Valve Stem Oil Seal
(27)Valve Stem Oil Seal
(28)Valve Guide
(28)Valve Guide
(29)Cylinder Head Bolt
(30)Cylinder Head Bolt
(31)Engine Mount Strut and Engine Lift Bracket
(32)Engine Mount Strut and Engine Lift Bracket Bolt
(33)Spark Plug
(34)Engine Mount Strut and A/C Compressor Bracket Bolt
(35)Exhaust Valve Seat
(36)Intake Valve
(37)Exhaust Valve
(38)Engine Mount Strut and A/C Compressor Bracket
(39)Engine Mount Strut and A/C Compressor Bracket Bolt
(40)Exhaust Manifold Heat Shield Bolt
(41)Exhaust Manifold Heat Shield
(42)Exhaust Manifold Heat Shield Nut
(43)Exhaust Manifold
(44)Exhaust Manifold Gasket
(45)Exhaust Manifold Stud
(46)Intake Valve Seat
(47)Lower Intake Manifold Gasket
(48)Cylinder Head
(49)Cylinder Head Core Hole Plug
(50)Cylinder Head Gasket
(51)Cylinder Head Location Pin
(52)Generator Bracket
(53)Engine Lift Front Bracket
(54)Generator Bracket Bolt
(55)Drive Belt Tensioner
(56)Generator Bracket Bolt
(57)Generator Bracket Bolt
(58)Drive Belt Tensioner Bolt
(59)Exhaust Manifold
(60)Exhaust Manifold Heat Shield
(61)Exhaust Manifold
(62)Exhaust Manifold Heat Shield
(63)Oxygen Sensor
(64)Exhaust Manifold Heat Shield Bolt
(65)Cylinder Head Gasket
(66)Engine Coolant Temperature Sensor
(67)Intake Manifold Seal
(68)Heater Inlet Pipe Seal
(69)Lower Intake Manifold
(70)Lower Intake Manifold Bolt
(71)Heater Inlet Pipe Nut
(72)Heater Inlet Pipe
(73)Heater Inlet Pipe Stud
(74)Cylinder Head
(75)Cylinder Head Core Hole Plug
(76)Valve Rocker Arm Cover Gasket
(77)Valve Rocker Arm Cover
(78)Valve Rocker Arm Cover Bolt Grommet
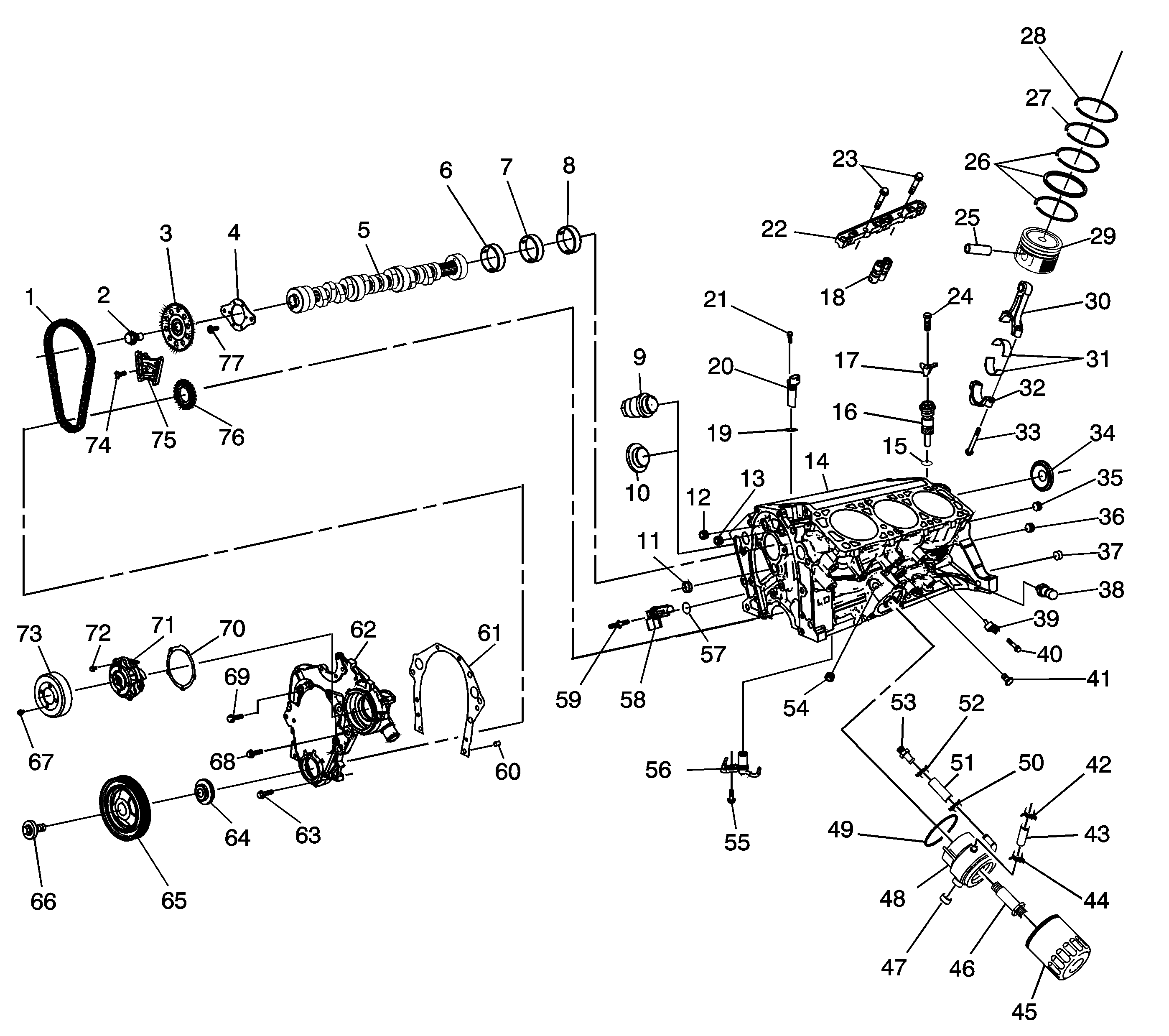
Figure 3:

Engine Block and Components


Object Number: 1786774  Size: LF
(1)Timing Chain
(2)Camshaft Sprocket Bolt
(3)Camshaft Sprocket
(4)Camshaft Thrust Plate
(5)Camshaft
(6)Camshaft Bearing
(7)Camshaft Bearing
(8)Camshaft Bearing
(9)Engine Block Heater
(10)Engine Block Coolant Hole Plug
(11)Engine Block Oil Gallery Plug
(12)Engine Block Oil Gallery Plug
(13)Engine Block Oil Gallery Plug
(14)Engine Block
(15)Oil Pump Drive Seal
(16)Oil Pump Drive
(17)Oil Pump Drive Clamp
(18)Valve Lifter
(19)Camshaft Sensor Seal
(20)Camshaft Position Sensor
(21)Camshaft Position Sensor Bolt
(22)Valve Lifter Guide
(23)Valve Lifter Guide Bolt
(24)Oil Pump Drive Clamp Bolt
(25)Piston Pin
(26)Piston Oil Ring Rail
(27)Piston Compression Lower Ring
(28)Piston Compression Upper Ring
(29)Piston
(30)Connecting Rod
(31)Connecting Rod Bearing
(32)Connecting Rod Bearing Cap
(33)Connecting Rod Bolt
(34)Camshaft Rear Bearing Hole Plug
(35)Engine Block Oil Gallery Plug Assembly
(36)Engine Block Oil Gallery Plug Assembly
(37)Transmission Locating Pin
(38)Engine Oil Pressure Indicator Switch
(39)Knock Sensor
(40)Knock Sensor Bolt
(41)Engine Block Coolant Drain Hole Plug
(42)Engine Oil Cooler Hose Clamp
(43)Engine Oil Cooler Inlet Hose
(44)Engine Oil Cooler Hose Clamp
(45)Oil Filter
(46)Engine Oil Cooler Fitting
(47)Engine Oil Cooler Plug
(48)Engine Oil Cooler
(49)Engine Oil Cooler Seal
(50)Engine Oil Cooler Hose Clamp
(51)Engine Oil Cooler Inlet Hose
(52)Engine Oil Cooler Hose Clamp
(53)Engine Oil Cooler Fitting
(54)Oil Filter Bypass Hole Plug Assembly
(55)Piston Oil Nozzle Bolt
(56)Piston Oil Nozzle
(57)Crankshaft Position Sensor Seal
(58)Crankshaft Position Sensor
(59)Crankshaft Position Sensor Stud
(60)Engine Front Cover Location Pin
(61)Engine Front Cover Gasket
(62)Engine Front Cover
(63)Engine Front Cover Bolt
(64)Crankshaft Front Oil Seal
(65)Crankshaft Balancer
(66)Crankshaft Balancer Bolt
(67)Water Pump Pulley Bolt
(68)Engine Front Cover Bolt
(69)Engine Front Cover Bolt
(70)Water Pump Gasket
(71)Water Pump
(72)Water Pump Bolt
(73)Water Pump Pulley
(74)Timing Chain Dampener Bolt
(75)Timing Chain Dampener
(76)Crankshaft Sprocket
(77)Camshaft Thrust Bearing Bolt
Figure 4:

Crankshaft and Components


Object Number: 1786780  Size: LF
(1)Crankshaft Balancer Key
(2)Crankshaft Upper No. 1 and 4 Bearing
(3)Crankshaft Upper No. 2 Bearing
(4)Crankshaft Upper No. 3 Bearing
(5)Flywheel Bolt
(6)Flywheel
(7)Crankshaft Rear Oil Seal
(8)Crankshaft Lower No. 3 Bearing
(9)Crankshaft No. 4 Bearing Cap
(10)Oil Pump Location Pin
(11)Crankshaft Bearing Cap
(12)Crankshaft Bearing Cap Bolt
(13)Oil Pump Drive Shaft
(14)Oil Level Indicator Tube Bolt
(15)Oil Pump
(16)Oil Pump Bolt
(17)Oil Level Indicator
(18)Oil Level Indicator Tube
(19)Oil Level Indicator Tube Seal
(20)Oil Level Indicator Tube Seal
(21)Oil Pan Support Bracket Bolt
(22)Oil Pan Support Bracket
(23)Oil Pan Bolt
(24)Oil Pan Bolt
(25)Oil Pan Drain Plug Seal
(26)Oil Pan Drain Plug
(27)Oil Pan Support Bracket
(28)Oil Pan Support Bracket Bolt
(29)Oil Pan
(30)Oil Pan Gasket
(31)Crankshaft Oil Deflector Nut
(32)Crankshaft Oil Deflector
(33)Crankshaft Bearing Cap Stud
(34)Crankshaft No. 1 Bearing Cap
(35)Crankshaft Lower No. 1 and 4 Bearing
(36)Crankshaft
(37)Crankshaft Lower No. 2 Bearing