GM Service Manual Online
For 1990-2009 cars only

DTC P1639 - 5 Volt Reference B Circuit


Object Number: 12274  Size: MF
Engine Controls Components
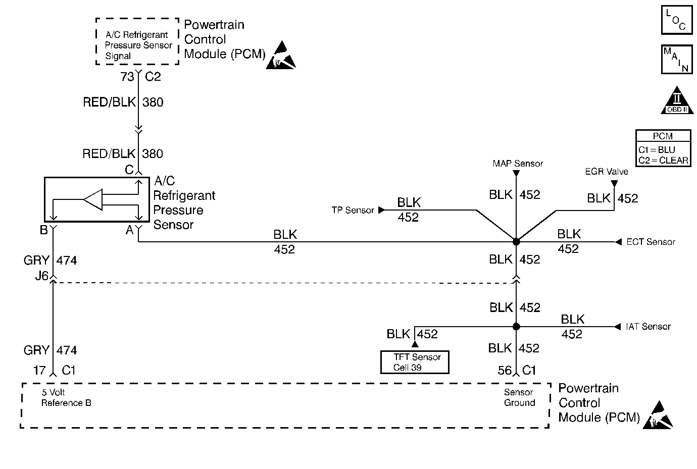
PCM MAP, TP, ECT, IAT, and A/C Pressure Switch
OBD II Symbol Description Notice
Handling ESD Sensitive Parts Notice
Handling ESD Sensitive Parts Notice

Circuit Description

The PCM uses the 5 Volt Reference B circuit as a sensor feed for the A/C Refrigerant Pressure Sensor. The PCM monitors the voltage on the 5 Volt Reference B circuit. If the voltage is out of tolerance, the PCM will set DTC P1639.

Conditions for Setting the DTC

    • The PCM detects a voltage out of tolerance condition on the 5 Volt Reference B circuit.
    • Above condition for longer than 19 seconds.

Action Taken When the DTC Sets

    • The PCM will not illuminate the malfunction indicator lamp (MIL).
    • The PCM will store conditions which were present when the DTC set as Failure Records data only. This information will not be stored as Freeze Frame data.

Conditions for Clearing the MIL/DTC

    • A History DTC will clear after 40 consecutive warm-up cycles have occurred without a malfunction.
    • The DTC can be cleared by using the scan tool Clear Info function.

Diagnostic Aids

Important: : Inspect the PCM and engine grounds for being secure and clean.

Check for the following conditions:

    • Poor connection at the PCM.
        Inspect harness connectors for backed out terminals, improper mating, broken locks, improperly formed or damaged terminals, and poor terminal to wire connection.
    • Damaged harness.
        Inspect the wiring harness for damage. If the harness appears to be OK, observe the A/C High Side Pressure display on the scan tool while moving connectors and wiring harnesses related to the A/C refrigerant pressure sensor. A change in the A/C High Side Pressure display will indicate the location of the malfunction.

Reviewing the Fail Records vehicle mileage since the diagnostic test last failed may help determine how often the condition that caused the DTC to be set occurs. This may assist in diagnosing the condition.

Test Description

Number(s) below refer to the step number(s) on the Diagnostic Table.

  1. This vehicle is equipped with a PCM which utilizes an Electrically Erasable Programmable Read Only Memory (EEPROM). When the PCM is being replaced, the new PCM must be programmed.

DTC P1639 - 5 Volt Reference B Circuit

Step

Action

Value(s)

Yes

No

1

Was the Powertrain On-Board Diagnostic (OBD) System Check performed?

--

Go to Step 2

Go to the Powertrain On Board Diagnostic (OBD) System Check

2

Visually/physically check the PCM and engine grounds. Refer to Ground Distribution in Electrical Diagnosis.

Was a problem found?

--

Go to Step 13

Go to Step 3

3

  1. Ensure that the A/C is OFF.
  2. Observe A/C High Side Pressure display on the scan tool.

Does the scan tool display voltage greater than the first specified value or less than the second specified value?

4.8 

0.1 V

Go to DTC P0530 Air Conditioning (A/C) Refrigerant Pressure Sensor Circuit

Go to Step 4

4

  1. Disconnect the A/C refrigerant pressure sensor.
  2. Using a J 39200 Digital Multimeter, measure voltage between the 5 volt reference B circuit and the sensor ground circuit.

Is voltage greater than the specified value?

5.5 V

Go to Step 5

Go to Step 7

5

  1. Turn OFF the ignition switch.
  2. Disconnect the PCM.
  3. Turn ON the ignition switch.
  4. Measure voltage between the 5 volt reference B circuit and the PCM ground circuit at the PCM harness connector.

Is voltage greater than the specified value indicated?

5.5 V

Go to Step 6

Go to Step 11

6

Locate and repair short to voltage in the 5 volt reference B circuit.

Is action complete?

--

Go to Step 13

--

7

Is voltage less than the specified value indicated?

4.5 V

Go to Step 9

Go to Step 8

8

  1. Check for a short to voltage in the A/C refrigerant pressure sensor signal circuit wiring.
  2. If a problem is found, repair as necessary. Refer to Repair Procedures in Electrical Diagnosis.

Was a problem found?

--

Go to Step 13

Go to Step 10

9

  1. Turn OFF the ignition switch.
  2. Disconnect the PCM.
  3. Check the 5 volt reference B circuit for a short to ground or to the sensor ground circuit.
  4. If a problem is found, repair as necessary. Refer to Repair Procedures in Electrical Diagnosis.

Was a problem found?

--

Go to Step 13

Go to Step 11

10

  1. Turn ON the ignition switch with the A/C pressure sensor disconnected.
  2. After at least 10 seconds, check for DTC P1635.

Is DTC P1635 set?

--

Go to Step 11

Go to Step 12

11

Replace the PCM.

Important:: The replacement PCM must be programmed. Refer to Powertrain Control Module Replacement/Programming .

Is action complete?

--

Go to Step 13

--

12

Replace the A/C refrigerant pressure sensor. Refer to Replacement Procedures in Heater, Ventilation, and Air Conditioning (HVAC).

Is action complete?

--

Go to Step 13

--

13

  1. Review and record scan tool Fail Records data.
  2. Clear DTCs.
  3. Operate the vehicle within Fail Records conditions.
  4. Using a scan tool, monitor Specific DTC info for DTC P1639 until the DTC P1639 test runs.

Does the scan tool indicate DTC P1639 failed this ignition?

--

Go to Step 2

System OK