GM Service Manual Online
For 1990-2009 cars only
Makes
🢒
Buick
🢒
1997
🢒
Riviera
🢒
Engine
🢒
Engine Controls - 3.8L
🢒 Emission Hose Routing Diagram
Figure
1:
VIN K
(1)
To Vacuum Brake Booster
(2)
Intake Manifold
(3)
Throttle Body
(4)
To EVAP Canister (At Rear of Vehicle)
(5)
EVAP Vacuum Switch
(6)
EVAP Canister Purge Valve
(7)
Fuel Pressure Regulator
(8)
PCV Valve
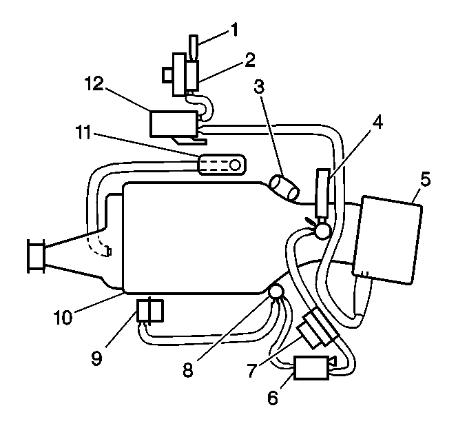
Figure
2:
VIN 1
(1)
To EVAP Canister (At Rear of Vehicle)
(2)
EVAP Vacuum Switch
(3)
PCV Valve
(4)
To Vacuum Brake Booster
(5)
Throttle Body
(6)
Supercharger Bypass Solenoid (Boost Control Solenoid)
(7)
Supercharger Bypass Actuator (Bypass Valve Actuator)
(8)
Manifold Vacuum Source
(9)
Fuel Pressure Regulator
(10)
Supercharger Assembly
(11)
MAP Sensor
(12)
EVAP Canister Purge Valve