GM Service Manual Online
For 1990-2009 cars only
Makes
🢒
Buick
🢒
1997
🢒
Riviera
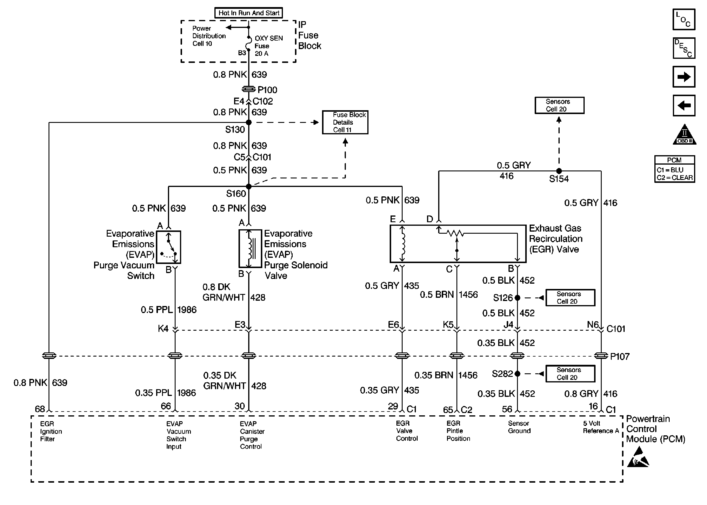
🢒 PCM EVAP and EGR VIN 1 and K
PCM EVAP and EGR VIN 1 and K
PCM EVAP and EGR VIN 1 and K
Engine Controls Components
Exhaust Gas Recirculation (EGR) System
PCM MAF, IAC, Bank #1 KS, and Bank #2 KS VIN 1 and K
PCM MAP, TP, ECT, IAT, and A/C Pressure Switch
OBD II Symbol Description Notice
Handling ESD Sensitive Parts Notice
Engine Controls Schematic References
Engine Controls Schematic References