GM Service Manual Online
For 1990-2009 cars only

Refrigeration System Description Buick

VDOT Refrigeration System


Object Number: 263825  Size: SF
(1)A/C Pressure Sensor
(2)Muffler
(3)High-Side (Discharge) Line
(4)High-Side Service Port
(5)Condenser
(6)Liquid Line
(7)Expansion (Orifice) Tube
(8)Evaporator
(9)Low Pressure Liquid
(10)Low Pressure Vapor
(11)High Pressure Liquid
(12)High Pressure Vapor
(13)Accumulator
(14)Desiccant
(15)Oil Bleed Hole
(16)Low-Side Service Port
(17)Low-Side (Suction) Line
(18)High Pressure Cut Out Switch
(19)High Pressure Relief Valve
(20)Compressor

Caution: Avoid breathing the A/C Refrigerant 134a (R-134a) and the lubricant vapor or the mist. Exposure may irritate the eyes, nose, and throat. Work in a well ventilated area. In order to remove R-134a from the A/C system, use service equipment that is certified to meet the requirements of SAE J 2210 (R-134a recycling equipment). If an accidental system discharge occurs, ventilate the work area before continuing service. Additional health and safety information may be obtained from the refrigerant and lubricant manufacturers.

The variable displacement orifice tube (VDOT) system is comprised of the following components:

    • A variable displacement compressor
    • A fixed expansion tube (7)

This system matches the air conditioning demands under all modes without cycling. The basic compressor mechanism is a variable angle wobble-plate with 5 cylinders. The 5 cylinders are oriented around a common axis. The center of control of the compressor displacement is the control valve. The control valve is actuated by a bellows. The control valve is located in the rear head of the compressor (16) that senses compressor suction pressure. The crankcase-suction pressure differential controls the following conditions:

    • The wobble-plate angle
    • The compressor displacement

When the A/C capacity demand is high, the suction pressure will be above the control point. The valve performs the following functions:

    • Maintains a bleed discharge gas into the crankcase.
    • Closes off a passage from the crankcase to the suction plenum.

The angle of the wobble-plate is controlled by a force balance on the 5 pistons. A slight elevation of the crankcase suction pressure differential creates a total force on the pistons. The force on the pistons produces a movement about the wobble-plate pivot pin that reduces the plate angle.

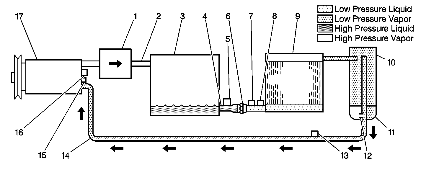
Refrigeration System Description Oldsmobile

CCOT Refrigeration System


Object Number: 263967  Size: SF
(1)Muffler
(2)High-Side Discharge Line
(3)Condenser
(4)Liquid Line
(5)High-Side Service Port
(6)Expansion (Orifice) Tube
(7)Low-Side Service Port
(8)A/C Low Temperature Sensor
(9)Evaporator
(10)Accumulator
(11)Desiccant
(12)Oil Bleed Hole
(13)Low-Side Service Port
(14)Low-Side Suction Line
(15)High Pressure Cut Out Switch
(16)High Pressure Relief Valve
(17)Compressor

Caution: Avoid breathing the A/C Refrigerant 134a (R-134a) and the lubricant vapor or the mist. Exposure may irritate the eyes, nose, and throat. Work in a well ventilated area. In order to remove R-134a from the A/C system, use service equipment that is certified to meet the requirements of SAE J 2210 (R-134a recycling equipment). If an accidental system discharge occurs, ventilate the work area before continuing service. Additional health and safety information may be obtained from the refrigerant and lubricant manufacturers.

The cycling clutch orifice tube (CCOT) refrigerant system is designed in order to perform the following functions:

    • Cycle a compressor on and off in order to maintain desired cooling.
    • Prevent evaporator freeze-up.

The refrigeration cycle (on and off operation of the compressor) is controlled by the powertrain control module (PCM) and by the A/C low temperature sensor. The low side temperature sensor senses low side system pressure as an indicator of evaporator temperature.