GM Service Manual Online
For 1990-2009 cars only
Makes
🢒
Buick
🢒
1998
🢒
Riviera
🢒
Body and Accessories
🢒
Entertainment
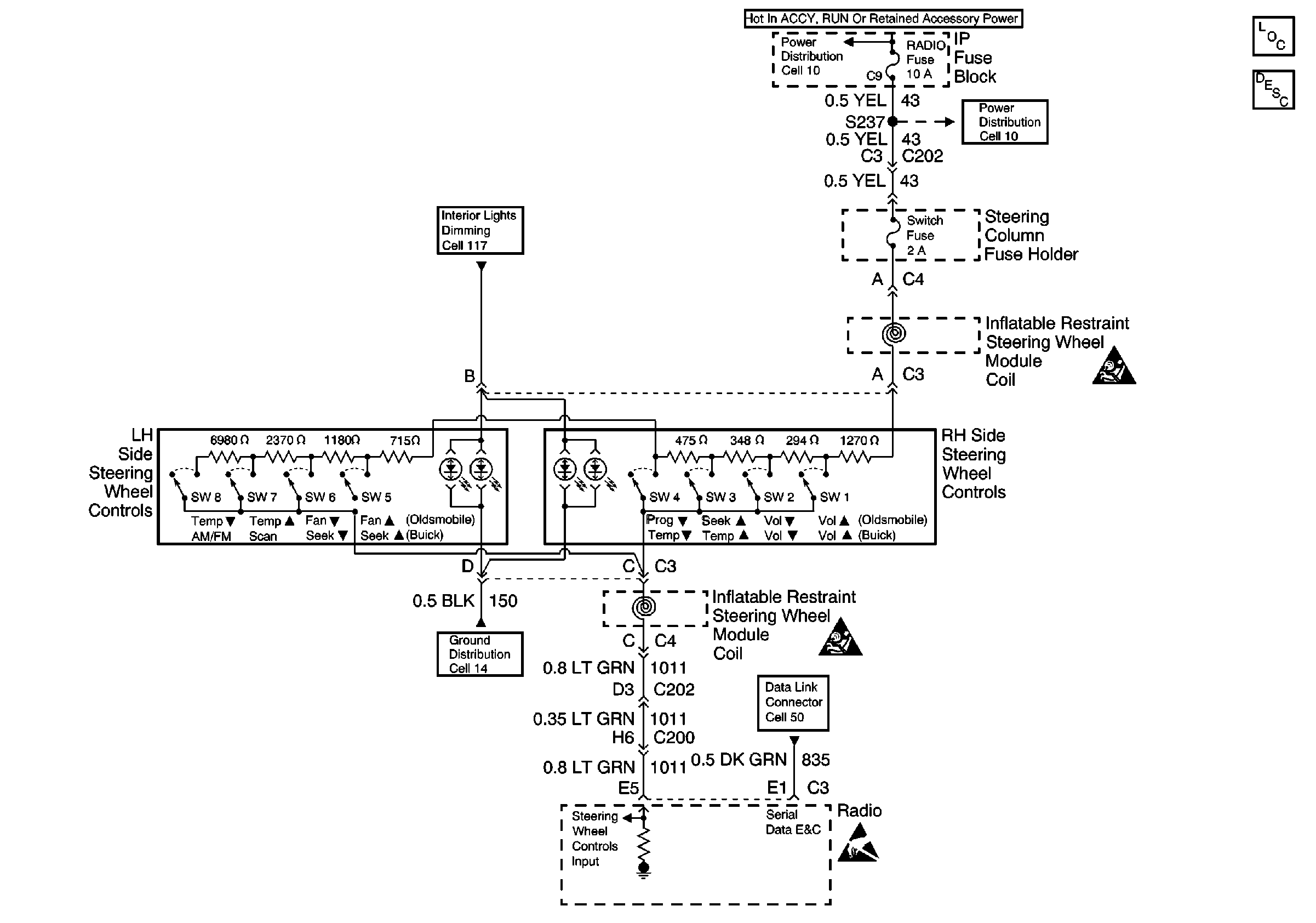
🢒 Steering Wheel Controls Schematics
Cell 152
Power Distribution Schematics
Power Distribution Schematics
Ground Distribution Schematics
Data Link Connector Schematics
Handling ESD Sensitive Parts Notice
SIR Handling Caution
Entertainment Component Views
Steering Wheel Controls System Circuit Description
Cell 151
Cell 150: Compact Disc (CD) Player (w/U1S)
Interior Lights Dimming Schematics Buick
SIR Handling Caution