GM Service Manual Online
For 1990-2009 cars only
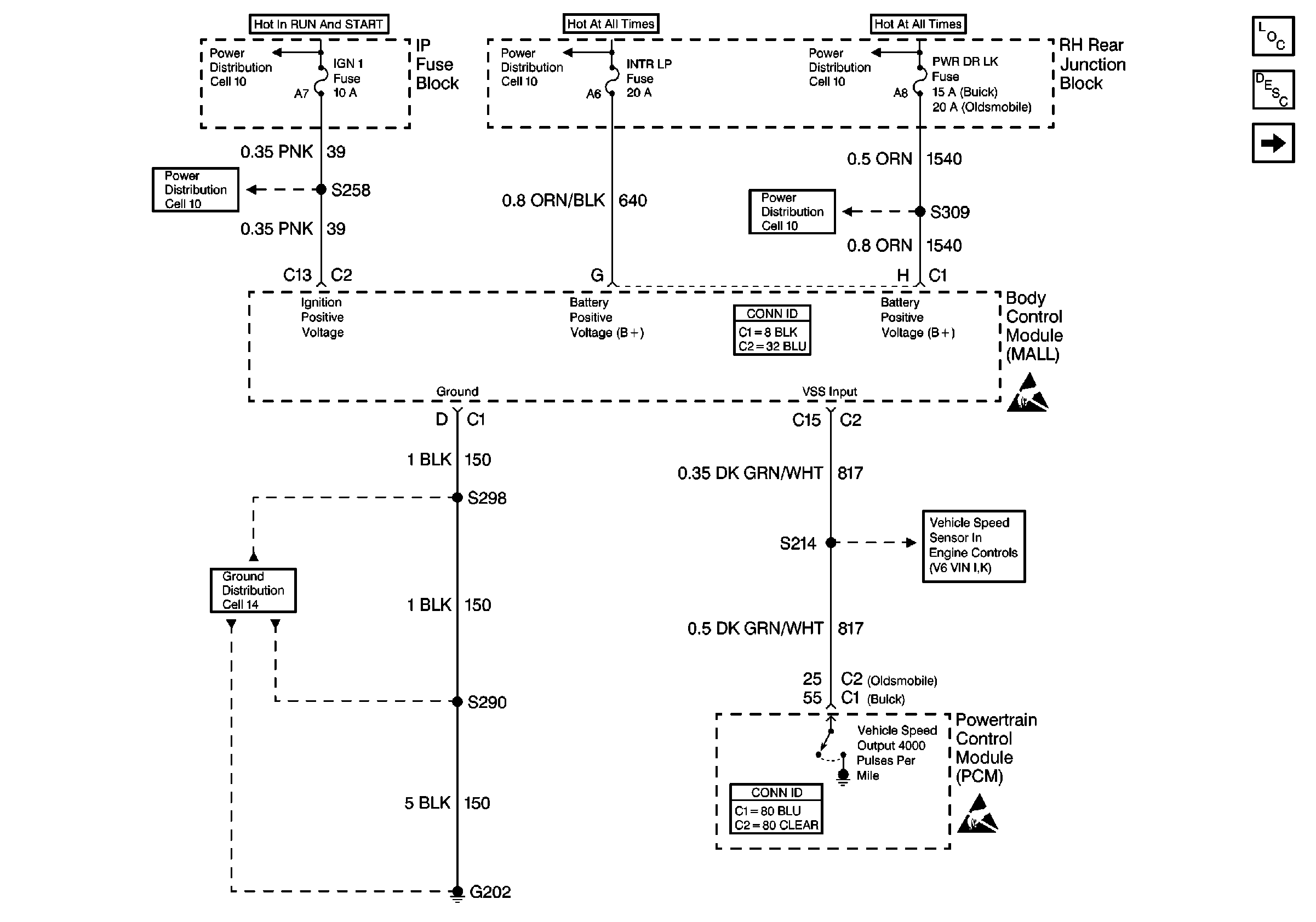
Figure 1:

Cell 51: Power, Ground and Vehicle Speed Input


Object Number: 469943  Size: FS
Body Control Module Components
Cell 51: Audible Warning Circuits
Power Distribution Schematics
Power Distribution Schematics
Power Distribution Schematics
Power Distribution Schematics
Power Distribution Schematics
Ground Distribution Schematics
Body Control System Connector End Views
Body Control System Connector End Views
Handling ESD Sensitive Parts Notice
Handling ESD Sensitive Parts Notice
Figure 2:

Cell 51: Audible Warning Circuits


Object Number: 469946  Size: FS
Body Control Module Components
Cell 51: Power Door Lock Circuits
Cell 51: Power, Ground and Vehicle Speed Input
Audible Warnings Schematics
Audible Warnings Schematics
Audible Warnings Schematics
Body Control System Connector End Views
Handling ESD Sensitive Parts Notice
Figure 3:

Cell 51: Power Door Lock Circuits


Object Number: 469949  Size: FS
Body Control Module Components
Cell 51: Interior Lamp Circuits
Cell 51: Audible Warning Circuits
Door Lock/Indicator Schematics
Door Lock/Indicator Schematics
Body Control System Connector End Views
Handling ESD Sensitive Parts Notice
Figure 4:

Cell 51: Interior Lamp Circuits


Object Number: 469965  Size: FS
Body Control Module Components
Cell 51: Power Door Lock Circuits
Interior Lights Schematics Buick
Interior Lights Schematics Buick
Interior Lights Schematics Buick
Audible Warnings Schematics
Interior Lights Schematics Buick
Body Control System Connector End Views
Handling ESD Sensitive Parts Notice