GM Service Manual Online
For 1990-2009 cars only
Makes
🢒
Buick
🢒
1998
🢒
Riviera
🢒
Body and Accessories
🢒
Garage Door Opener
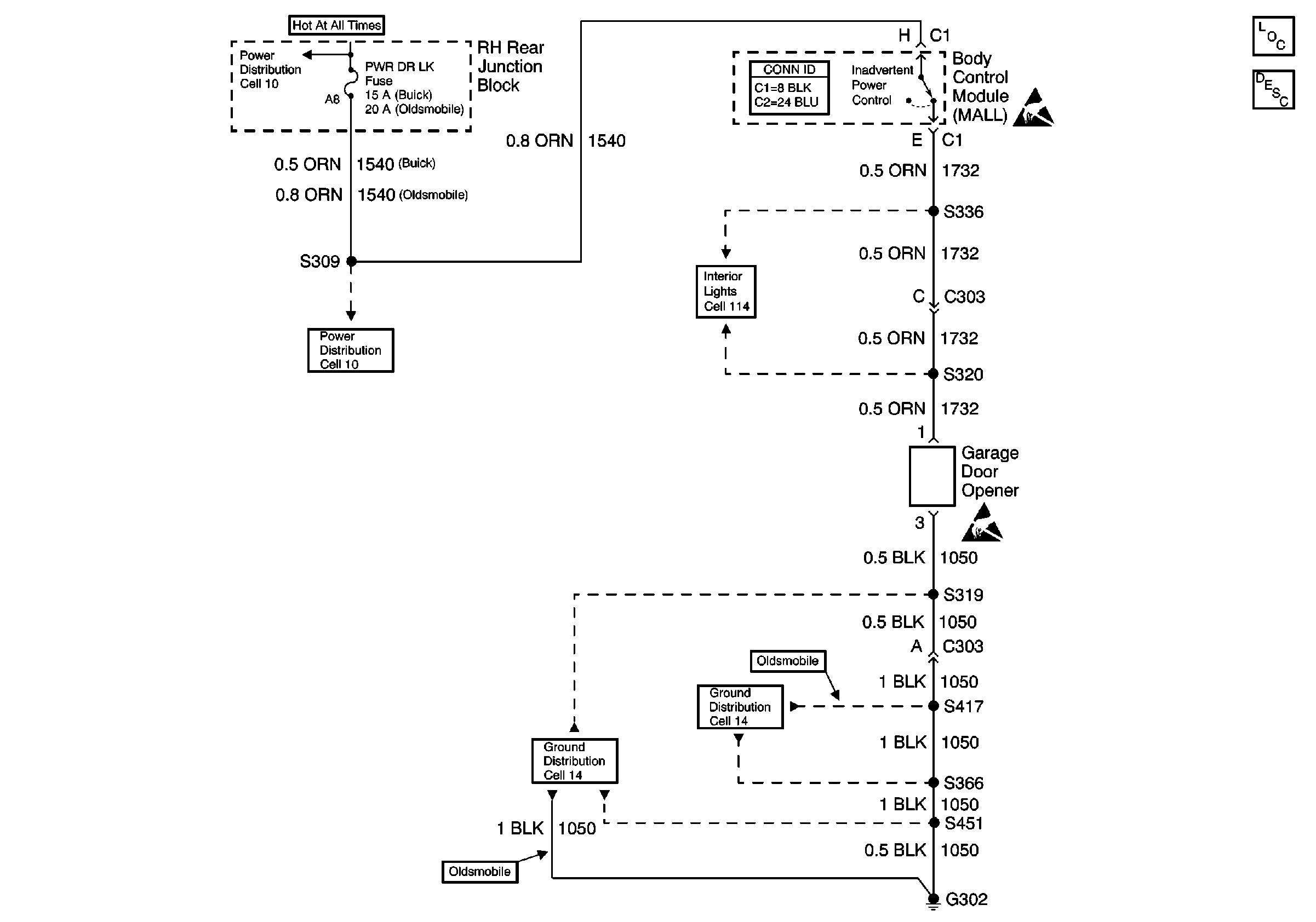
🢒 Garage Door Opener Schematics
Cell 136
Garage Door Opener Components
Garage Door Opener Circuit Description
Garage Door Opener Connector End Views
Cell 14: G302 (1 of 2)
Cell 10: PWR DR LK and BATT THER Fuses
Cell 10: PWR DR LK and BATT THER Fuses
Interior Lights Schematics Buick
Handling ESD Sensitive Parts Notice
Handling ESD Sensitive Parts Notice