GM Service Manual Online
For 1990-2009 cars only

Power Seats Schematics Buick

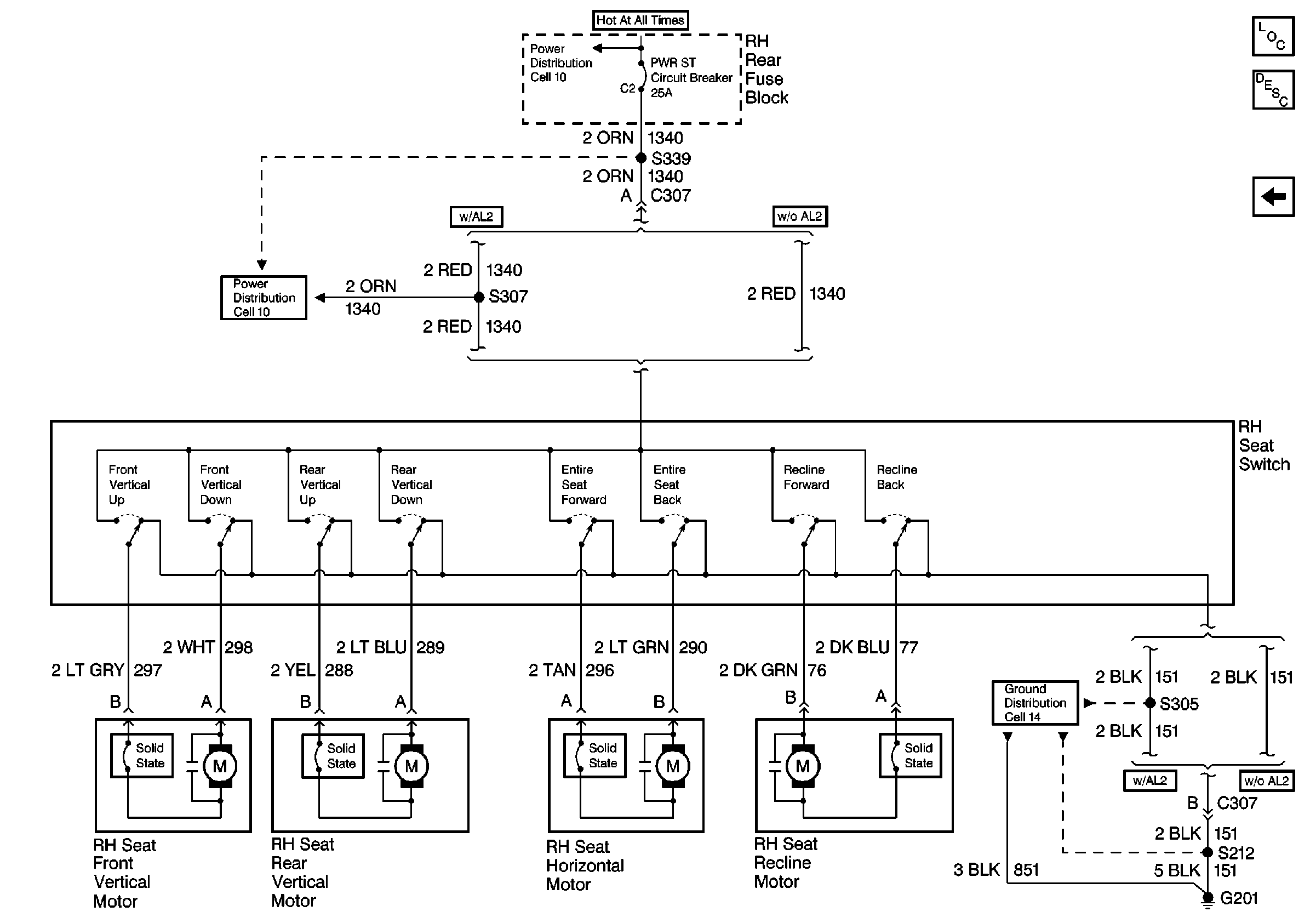
Figure 1:

Cell 140: LH Power Seat w/o A45


Object Number: 483410  Size: FS
Power Seat Systems Components
Power Seats Circuit Description
Cell 140: RH Power Seat
Power Distribution Schematics
Power Distribution Schematics
Ground Distribution Schematics
Ground Distribution Schematics
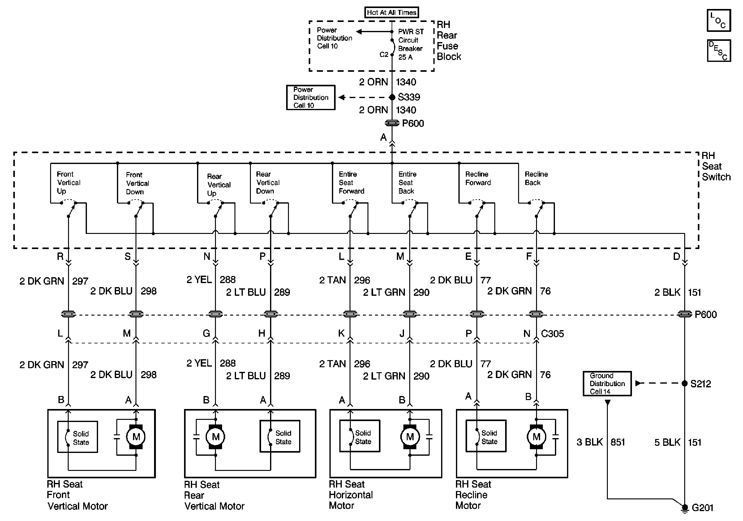
Figure 2:

Cell 140: RH Power Seat


Object Number: 483458  Size: FS
Power Seat Systems Components
Power Seats Circuit Description
Cell 140: LH Power Seat w/o A45
Power Distribution Schematics
Power Distribution Schematics
Ground Distribution Schematics

Power Seats Schematics Oldsmobile

Cell 140: RH Power Seat


Object Number: 483516  Size: FS
Power Seat Systems Components
Power Seats Circuit Description
Power Distribution Schematics
Power Distribution Schematics
Ground Distribution Schematics