GM Service Manual Online
For 1990-2009 cars only
Makes
🢒
Buick
🢒
1998
🢒
Riviera
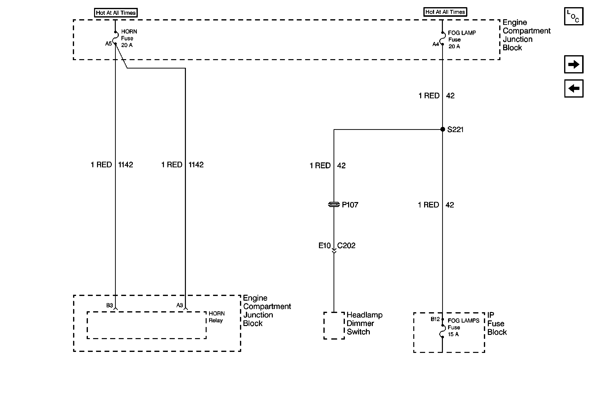
🢒 Cell 10: HORN and FOG LAMP Fuses
Cell 10: HORN and FOG LAMP Fuses
Cell 10: HORN and FOG LAMP Fuses
Power and Grounding Components
Cell 10: PCM/VATS and BOSE Fuses
Cell 10: ABS PUMP MOTOR, ABS MAIN, and COOLING FAN Fuses