GM Service Manual Online
For 1990-2009 cars only
Makes
🢒
Buick
🢒
1998
🢒
Riviera
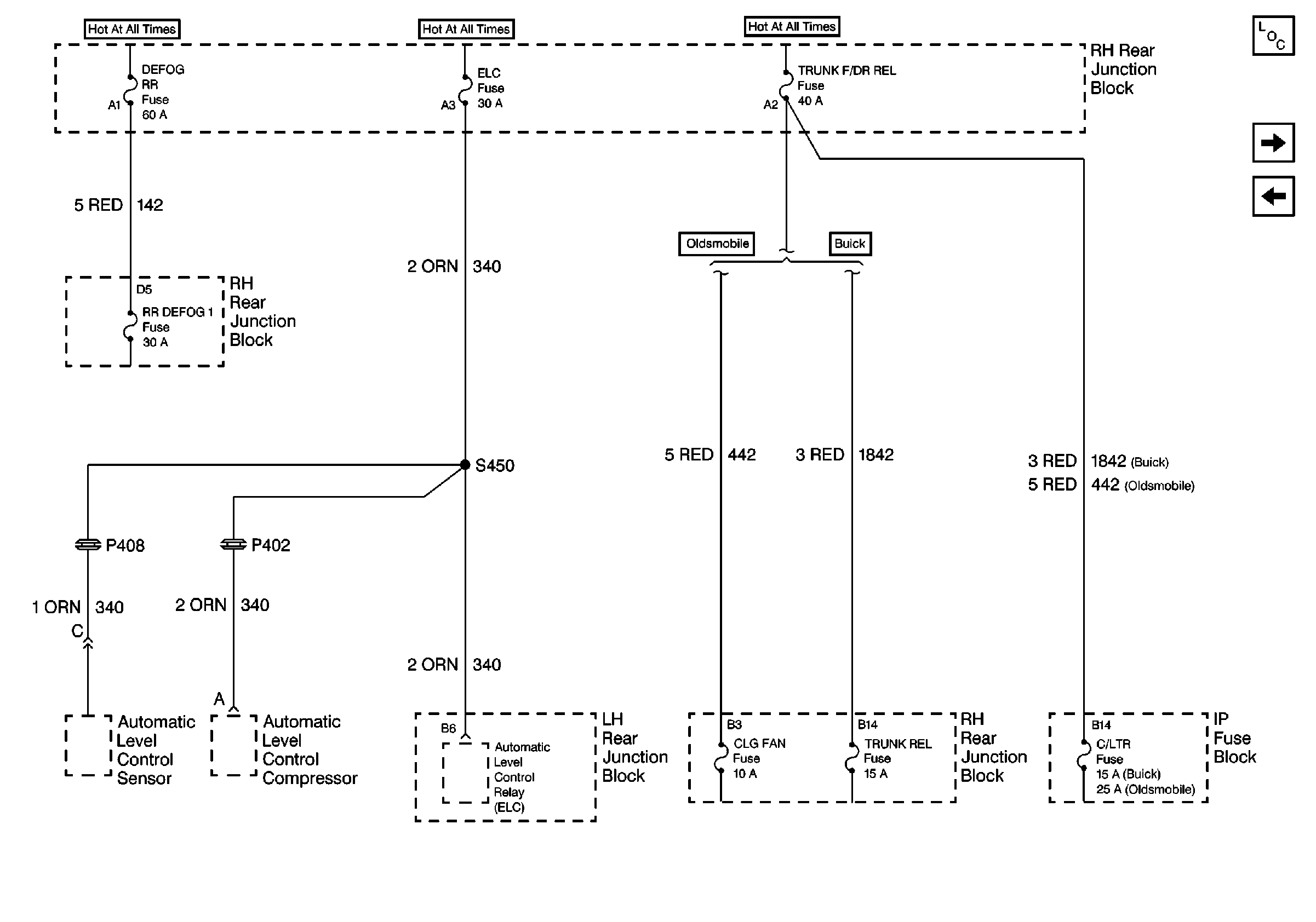
🢒 Cell 10: TRUNK F/DR REL, DEFOG RR, and ELC Fuses
Cell 10: TRUNK F/DR REL, DEFOG RR, and ELC Fuses
Cell 10: TRUNK F/DR REL, DEFOG RR, and ELC Fuses
Power and Grounding Components
Cell 10: EXT LP and HTD ST/IP Fuses
Cell 10: HDLP, HVAC BLO MOT, and PWR ST Circuit Breakers