GM Service Manual Online
For 1990-2009 cars only
Makes
🢒
Buick
🢒
1998
🢒
Riviera
🢒 Cell 14: G101 (Oldsmobile)
Cell 14: G101 (Oldsmobile)
Cell 14: G101 (Oldsmobile)
Power and Grounding Components
Cell 14: G103 (1 of 2)
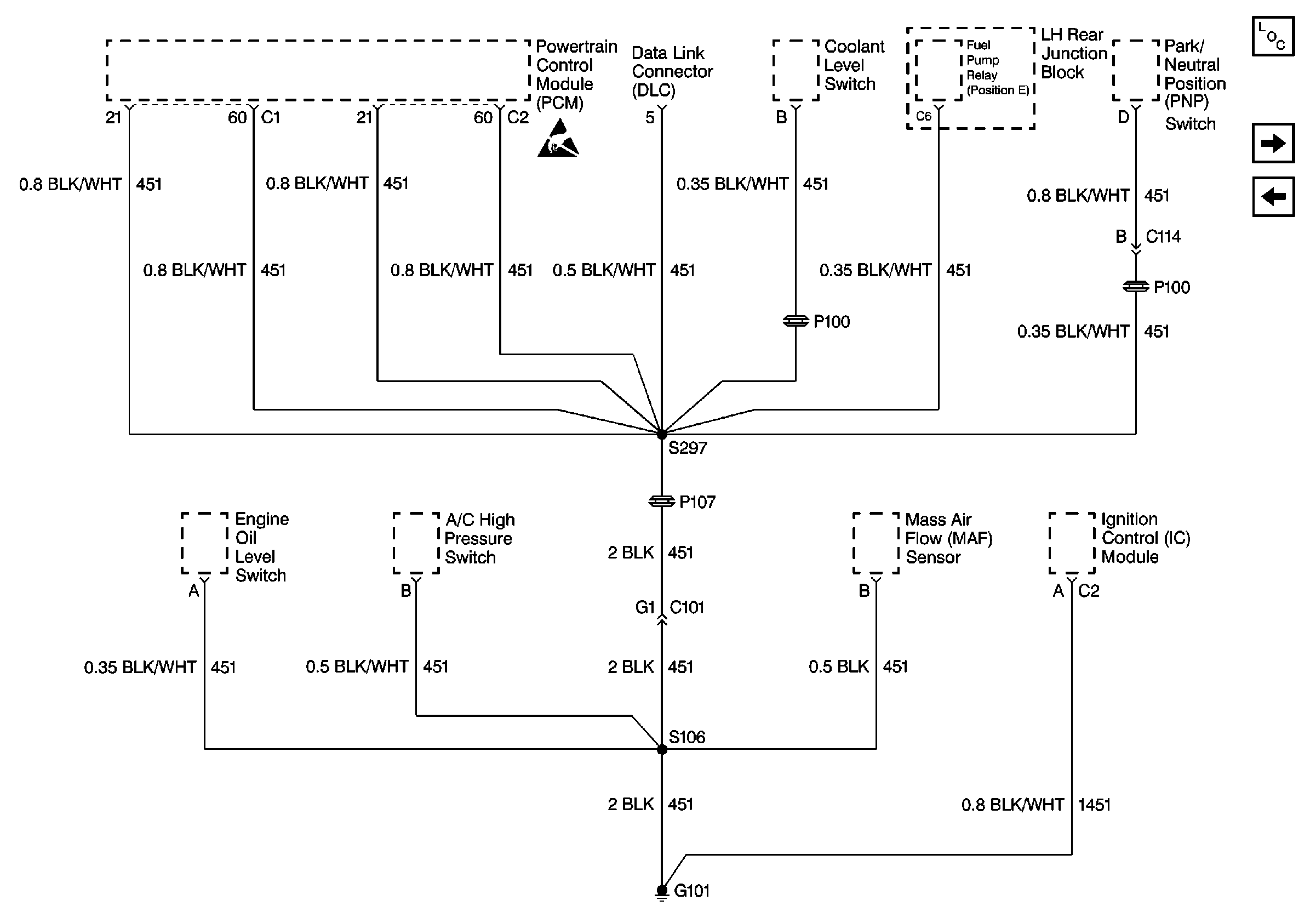
Cell 14: G100 and G101 (Buick)
Handling ESD Sensitive Parts Notice