GM Service Manual Online
For 1990-2009 cars only
Makes
🢒
Buick
🢒
1998
🢒
Riviera
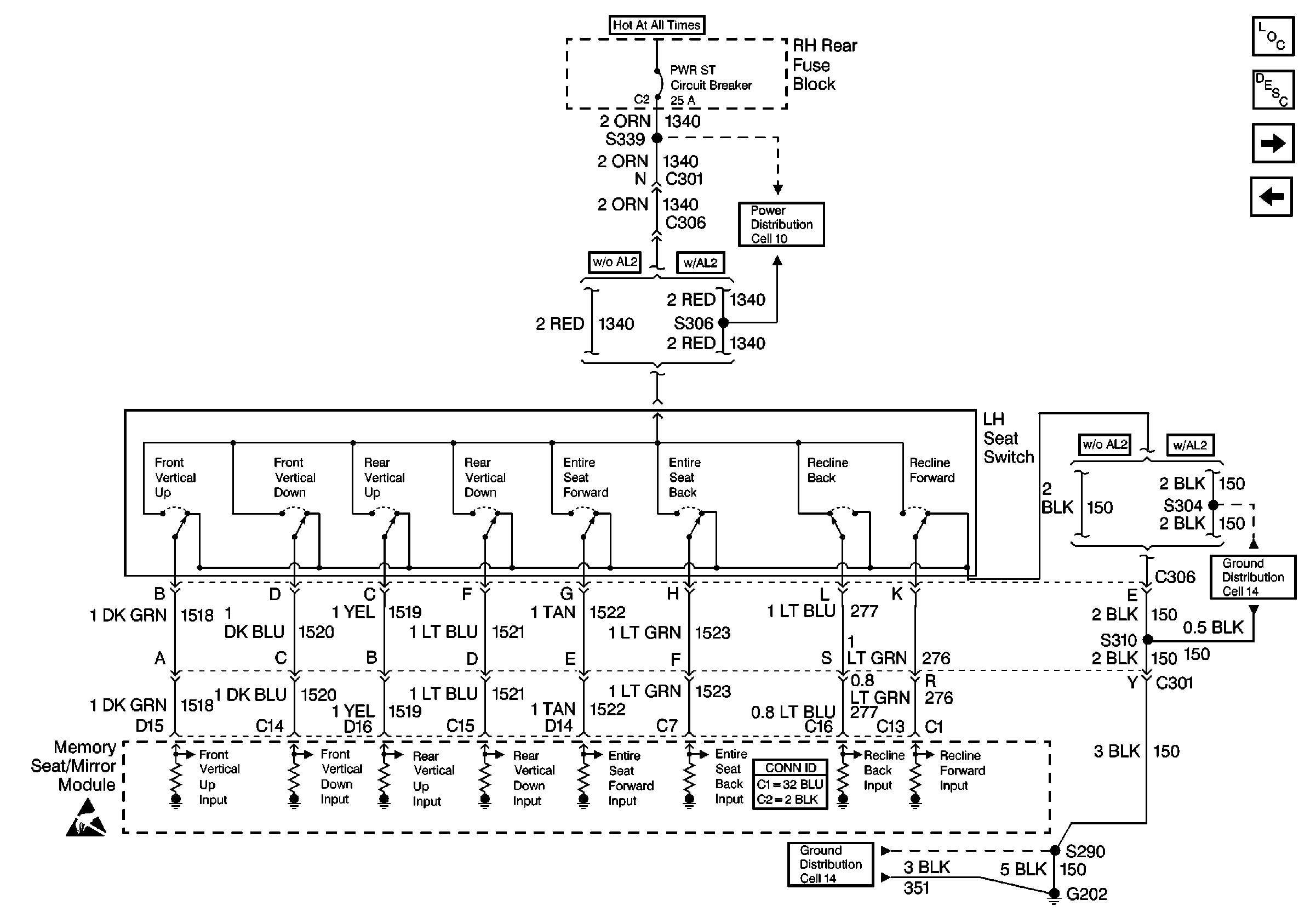
🢒 Cell 141: LH Seat Switch
Cell 141: LH Seat Switch
Cell 141: LH Seat Switch
Power Seat Systems Components
Memory Seat Circuit Description
Cell 141: Seat Motors and Position Sensors
Cell 141: PWR, GND, LH Seat/Lock Switch and Memory Seat/Mirror Module
Handling ESD Sensitive Parts Notice
Power Distribution Schematics
Ground Distribution Schematics
Ground Distribution Schematics
Power Seat Connector End Views