GM Service Manual Online
For 1990-2009 cars only
Makes
🢒
Buick
🢒
1998
🢒
Riviera
🢒 Cell 76: IP Fuse Block
Cell 76: IP Fuse Block
Cell 76: IP Fuse Block
Instrument Panel, Gages, and Console Component Views
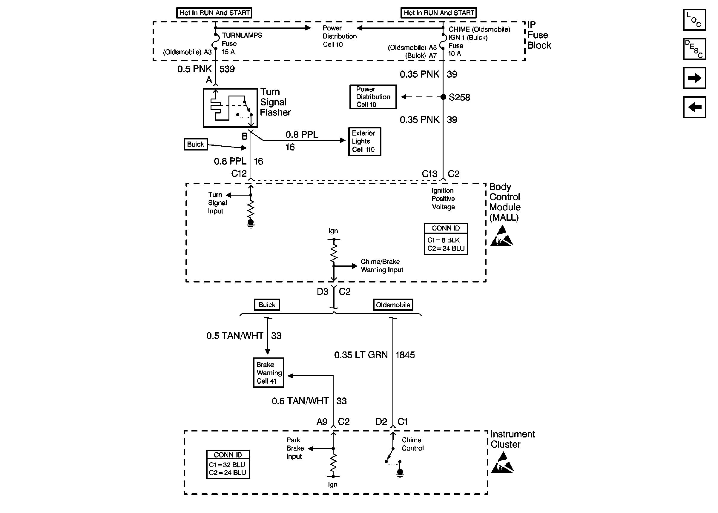
Audible Warnings Circuit Description
Cell 76: RH Rear Junction Block
Cell 76: Instrument Cluster
Power Distribution Schematics
Body Control System Connector End Views
Instrument Panel, Gages, and Console Connector End Views
Instrument Cluster: Analog Schematics
Exterior Lights Schematics Buick
Handling ESD Sensitive Parts Notice
Handling ESD Sensitive Parts Notice