GM Service Manual Online
For 1990-2009 cars only

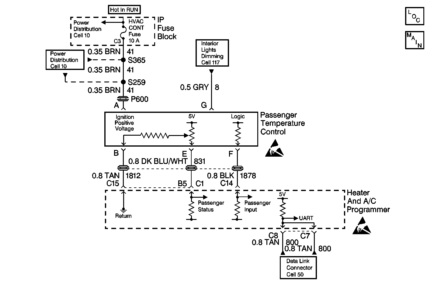
Object Number: 506452  Size: MF
Handling ESD Sensitive Parts Notice
Handling ESD Sensitive Parts Notice
HVAC Components
Cell 68: Passenger Temperature Control
Interior Lights Dimming Schematics Buick
Power Distribution Schematics
Data Link Connector Schematics
Power Distribution Schematics

Circuit Description

The passenger temperature control assembly receives voltage signals from the HVAC programmer. The signal voltage will vary from 5 volts (open circuit) to 0 volts (short circuit).

Conditions for Setting the DTC

    • The ignition is on.
    • The circuit is open or shorted.

Action Taken When the DTC Sets

Code B1034 is set.

Conditions for Clearing the DTC

    • Using a Scan Tool .
    • A history DTC will clear when 50 consecutive ignition cycles have occurred without a malfunction.
    • HVAC programmer battery voltage is interrupted.

Step

Action

Value(s)

Yes

No

1

  1. Turn the ignition switch to the OFF position.
  2. Disconnect the passenger temperature control assembly.
  3. Turn the ignition switch to the RUN position.
  4. Use a J 39200 digital multimeter (DMM) in order to measure the voltage between terminal A and terminal H of the passenger temperature control harness connector. Refer to Measuring Voltage in Wiring Systems.

Is battery voltage present?

--

Go to Step 2

Go to Step 3

2

Use a J 39200 digital multimeter (DMM) in order to measure the voltage between terminal B and terminal E of the passenger temperature control harness connector. Refer to Measuring Voltage in Wiring Systems.

Does the voltage approximately equal the specified value?

5 V

Go to Step 5

Go to Step 4

3

Repair the open or the short in CKT 41 or CKT 151. Refer to Wiring Repairs in Wiring Systems.

Is the repair complete?

--

System OK

Go to Step 2

4

Use a J 39200 digital multimeter (DMM) in order to measure the voltage between terminal B and terminal E of the passenger temperature control harness connector. Refer to Measuring Voltage in Wiring Systems.

Does the voltage exceed the specified value?

5 V

Go to Step 11

Go to Step 10

5

  1. Turn the ignition switch to the OFF position.
  2. Reconnect the passenger temperature control.
  3. Disconnect the HVAC programmer.
  4. Turn the ignition switch to the ON position.
  5. Use a J 39200 digital multimeter (DMM) in order to measure the voltage between terminal C14 and terminal D16 of the programmer. Refer to Measuring Voltage in Wiring Systems.

Is the voltage within the specified range?

10-11 V

Go to Step 6

Go to Step 7

6

  1. Turn the ignition switch to the OFF position.
  2. Disconnect the passenger temperature control.
  3. Use a J 39200 digital multimeter (DMM) in order to measure the resistance between terminal B and terminal E of the passenger temperature control connector with the passenger temperature control in the following positions:
  4. • The FULL COLD position
    • The CENTER position
    • The FULL HOT position
    • Refer to Testing for Continuity in Wiring Systems.

Are the resistances within the specified ranges?

    • 5.2-5.5 K ohms in the FULL COLD position
    • 27.5-28.5 K ohms in the CENTER position
    • 10.2-10.7 K ohms in the FULL HOT position

Go to Intermittents and Poor Connections Diagnosis

Go to Step 20

7

Use a J 39200 digital multimeter (DMM) in order to measure the battery voltage. Refer to Measuring Voltage in Wiring Systems.

Is battery voltage present?

--

Go to Step 9

Go to Step 8

8

  1. Turn the ignition switch to the OFF position.
  2. Reconnect the HVAC programmer.
  3. Turn the ignition switch to the ON position.
  4. Use a J 39200 digital multimeter (DMM) in order to backprobe and measure the voltage between HVAC programmer terminal C14 and terminal C15. Refer to Probing Electrical Connectors and Measuring Voltage in Wiring Systems.

Is the voltage within the specified range?

10-11 V

Go to Step 21

Go to Step 22

9

Repair the short to battery in CKT 1878. Refer to Wiring Repairs in Wiring Systems.

Is the repair complete?

--

System OK

--

10

Use a J 39200 digital multimeter (DMM) in order to measure the voltage between terminal E of the passenger temperature control harness connector and terminal 4 of the DLC. Refer to Measuring Voltage in Wiring Systems.

Does the voltage approximately equal the specified value?

5 V

Go to Step 12

Go to Step 14

11

Repair the short to battery in CKT 831. Refer to Wiring Repairs in Wiring Systems.

Is the repair complete?

--

System OK

--

12

Use a J 39200 digital multimeter (DMM) in order to backprobe and measure the voltage between HVAC programmer terminal C2 and terminal C15. Refer to Probing Electrical Connectors and Measuring Voltage in Wiring Systems.

Is the battery voltage present?

--

Go to Step 15

Go to Step 13

13

Inspect for a short to ground in CKT 831. Refer to Testing for Short to Ground in Wiring Systems.

Was a short found and repaired?

--

System OK

Go to Step 16

14

Use a J 39200 digital multimeter (DMM) in order to backprobe and measure the voltage between the HVAC programmer terminal B5 and terminal C15. Refer to Probing Electrical Connectors and Measuring Voltage in Wiring Systems.

Does the voltage approximately equal the specified value?

5 V

Go to Step 17

Go to Step 13

15

Repair the open in CKT 1812. Refer to Wiring Repairs in Wiring Systems.

Is the repair complete?

--

System OK

--

16

  1. Inspect the HVAC programmer connector for proper terminal contact. Refer to Intermittents and Poor Connections Diagnosis in Wiring Systems.
  2. If the terminal contacts are proper, replace the HVAC programmer. Refer to Programmer Replacement .

Is the repair complete?

--

System OK

--

17

Use a J 39200 digital multimeter (DMM) in order to measure the voltage between terminal A and terminal E of the passenger temperature control harness connector. Refer to Measuring Voltage in Wiring Systems.

Is battery voltage present?

--

Go to Step 18

Go to Step 19

18

Repair the open in CKT 831. Refer to Wiring Repairs in Wiring Systems.

Is the repair complete?

--

System OK

--

19

Repair the short to ground in CKT 831. Refer to Wiring Repairs in Wiring Systems.

Is the repair complete?

--

System OK

--

20

Replace the passenger temperature control assembly. Refer to Control Assembly Replacement - Passenger .

Is the repair complete?

--

System OK

--

21

Repair the open in CKT 1878. Refer to Wiring Repairs in Wiring Systems.

Is the repair complete?

--

System OK

--

22

  1. Inspect the HVAC programmer connector for proper terminal contact.
  2. If the terminal contacts are proper, replace the HVAC programmer. Refer to Programmer Replacement .

Is the repair complete?

--

System OK

--