GM Service Manual Online
For 1990-2009 cars only

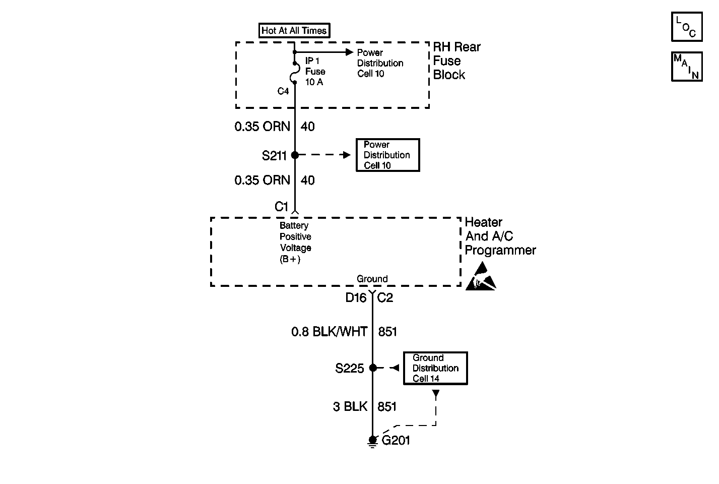
Object Number: 506474  Size: MF
HVAC Air Delivery/Temperature Control Schematics Oldsmobile
HVAC Components
Handling ESD Sensitive Parts Notice
Ground Distribution Schematics
Power Distribution Schematics
Power Distribution Schematics

Circuit Description

The HVAC programmer receives battery voltage through CKT 40 from the IP fuse block , fuse 1.

Conditions for Running the DTC

    • The ignition is ON.
    • The circuit is open or shorted.

Action Taken When the DTC Sets

    • Code B1052 is set.
    • The HVAC programmer will not operate.

Conditions for Clearing the DTC

    • Using a Scan Tool .
    • A history DTC will clear when 50 consecutive ignition cycles have occurred without a malfunction.

Step

Action

Value(s)

Yes

No

1

Was the battery disconnected or recently discharged?

--

Go to Step 3

Go to Step 2

2

Use the Scan Tool in order to clear DTC B1052.

Does DTC B1052 reset when cleared using the Scan Tool ?

--

Go to Step 4

System OK

3

Use the Scan Tool in order to clear DTC B1052.

Is the procedure complete?

--

System OK

--

4

Inspect the right rear junction block IP 1 fuse and the IP fuse block HVAC CONT fuse.

Are the fuses in proper condition?

--

Go to Step 5

Go to Step 6

5

  1. Turn the ignition switch to the OFF position.
  2. Disconnect the HVAC programmer.
  3. Use a J 39200 digital multimeter (DMM) in order to measure the voltage between terminal D16 and terminal C1 of the HVAC harness connector. Refer to Measuring Voltage in Wiring Systems.

Is battery voltage present?

--

Go to Step 7

Go to Step 9

6

  1. Refer to Circuit Protection - Fuses in Wiring Systems.
  2. Inspect CKT 40 for a short to ground. Repair as necessary. Refer to Wiring Repairs in Wiring Systems.

Is the repair complete?

--

System OK

--

7

  1. Turn the ignition ON.
  2. Use a J 39200 digital multimeter (DMM) in order to measure the voltage between HVAC harness connector terminal D16 and C2. Refer to Measuring Voltage in Wiring Systems.

Is battery voltage present?

--

Go to Step 8

Go to Step 10

8

  1. Inspect the HVAC programmer connector for proper terminal contact. Refer to Intermittents and Poor Connections Diagnosis in Wiring Systems.
  2. Replace the HVAC programmer if proper terminal contact exists. Refer to Programmer Replacement .

Is the repair complete?

--

System OK

--

9

Repair the open in CKT 40. Refer to Wiring Repairs in Wiring Systems.

Is the repair complete?

--

System OK

--

10

Repair the open in CKT 41. Refer to Wiring Repairs in Wiring Systems.

Is the repair complete?

--

System OK

--