GM Service Manual Online
For 1990-2009 cars only

Removal Procedure

Tools Required

J 34730 Fuel Pressure Gauge

    Important: There is no service interval for in-line fuel filter replacement. Only replace the in-line fuel filter if it is restricted.


    Object Number: 44059  Size: SH
  1. Relieve the fuel system pressure. Refer to Fuel Pressure Relief .
  2. Caution: To avoid any vehicle damage, serious personal injury or death when major components are removed from the vehicle and the vehicle is supported by a hoist, support the vehicle with jack stands at the opposite end from which the components are being removed and strap the vehicle to the hoist.

  3. Raise the vehicle.

  4. Object Number: 13589  Size: SH
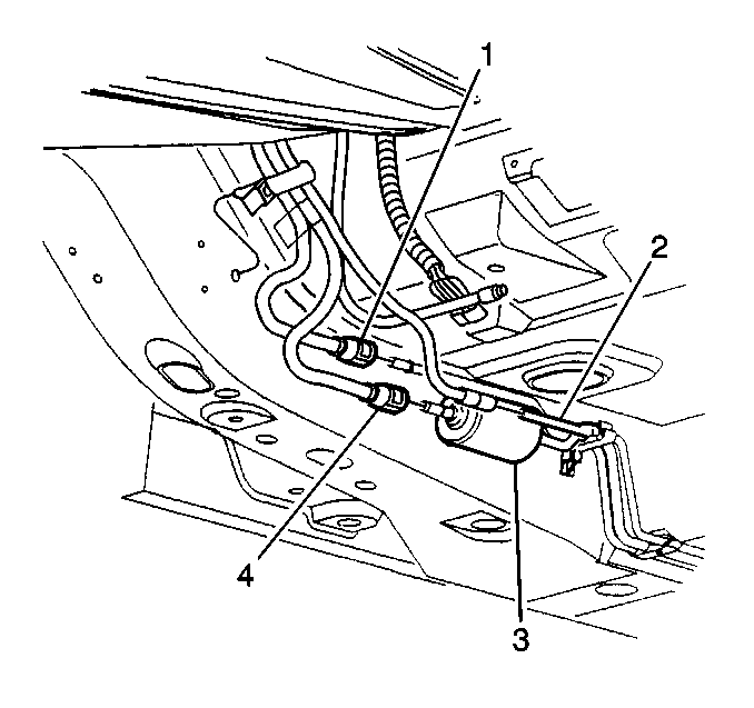
  5. Remove the fuel feed quick-connect fitting (4) at the inlet of the in-line fuel filter (3). Refer to Plastic Collar Quick Connect Fitting Service .
  6. Remove the threaded fitting at the outlet of the in-line fuel filter (3).
  7. Drain any remaining fuel into an approved gasoline container.
  8. Inspect the lines for cuts, swelling, cracks, and distortion. Replace the lines as required.
  9. Inspect the fuel tank purge hose (2).
  10. Inspect the fuel return pipe quick connect fitting (1).

Installation Procedure


    Object Number: 13589  Size: SH
  1. Remove the protective caps from the new in-line fuel filter.
  2. Install the new plastic connector retainer on the in-line fuel filter inlet.
  3. Install the new plastic connector retainer in the same position as on the old in-line fuel filter.
  4. Slide the in-line fuel filter into place.
  5. Install the quick-connect fitting at the inlet (4) of the in-line fuel filter (3). Refer to Plastic Collar Quick Connect Fitting Service .
  6. Install the threaded fitting at the outlet of the in-line fuel filter (3).
  7. • Use a back-up wrench in order to prevent the in-line fuel filter from turning.
    • Reposition the fuel vent pipe (2).

    Notice: Use the correct fastener in the correct location. Replacement fasteners must be the correct part number for that application. Fasteners requiring replacement or fasteners requiring the use of thread locking compound or sealant are identified in the service procedure. Do not use paints, lubricants, or corrosion inhibitors on fasteners or fastener joint surfaces unless specified. These coatings affect fastener torque and joint clamping force and may damage the fastener. Use the correct tightening sequence and specifications when installing fasteners in order to avoid damage to parts and systems.

    • Tighten the in-line fuel filter outlet nut to 30 N·m (22 lb ft).
  8. Lower the vehicle.

  9. Object Number: 211140  Size: SH
  10. Tighten the fuel tank filler pipe cap.
  11. Install the negative battery cable.
  12. Inspect for fuel leaks.
  13. 10.1. Turn the ignition switch to the On position for 2 seconds.
    10.2. Turn the ignition switch to the Off for 10 seconds.
    10.3. Turn the ignition switch to the On position.
    10.4. Check for fuel leaks.