GM Service Manual Online
For 1990-2009 cars only

Object Number: 186855  Size: MF

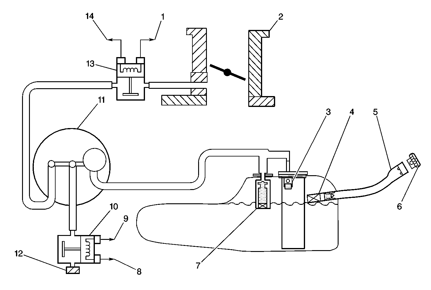
Enhanced EVAP System Operation

The basic Evaporative Emission (EVAP) Control system used on all vehicles is the charcoal canister storage method. This method transfers fuel vapor from the fuel tank to an activated carbon (charcoal) storage device (canister) to hold the vapors when the vehicle is not operating. When the engine is running, the fuel vapor is purged from the carbon element by intake air flow and consumed in the normal combustion process.

The EVAP purge valve allows manifold vacuum to purge the canister. The Powertrain Control Module (PCM) supplies a ground to energize the EVAP purge valve (purge ON). The EVAP purge valve control is Pulse Width Modulated (PWM) or turned ON and OFF several times a second. The PCM controlled PWM output is commanded when the appropriate conditions have been met:

    • Engine coolant temperature above 50°C (77°F).
    • After the engine has been running about 3 minutes on a cold start or 45 seconds on a warm start.
    • The vehicle is operating in closed loop fuel control.

Canister purge PWM duty cycle varies according to operating conditions determined by mass air flow, fuel trim, and intake air temperature. Canister purge will be disabled if TP angle increases to above 60%. Canister purge will be re-enabled when TP angle decreases below 58%.

The evaporative leak detection diagnostic strategy is based on applying vacuum to the EVAP system and monitoring vacuum decay. The fuel level sensor input to the PCM is used to determine if the fuel level in the tank is correct to run the EVAP diagnostic tests. To ensure sufficient volume in the tank to begin the various diagnostic tests, the fuel level must be between 15% and 85%. The PCM monitors system vacuum level via the fuel tank pressure sensor input.

Diagnosis

The evaporative leak detection diagnostic strategy is based on applying vacuum to the EVAP system and monitoring vacuum decay. Before the EVAP system diagnostic tests are run the following conditions must be present:

    • No VSS, TP, HO2S, Misfire, IAT, MAP, Fuel Trim, Injector circuit, EGR Pintle Position, ECT, or MAF sensor DTCs set.
    • Engine coolant temperature is between 4°C and 30°C (40°F and 86°F).
    • Intake air temperature is between 4°C and 30°C (40°F and 86°F).
    • Fuel tank level is between 15% and 85%.
    • BARO is above 75 kPa.

The EVAP system diagnostic tests will be run following a cold start, as indicated by the ECT and IAT sensors. The fuel level sensor input to the PCM is used to determine if the fuel level in the tank is appropriate to run the EVAP diagnostic tests. To ensure sufficient volume in the tank to begin the various diagnostic tests, the fuel level must be between 15% and 85%. The PCM monitors vacuum level via the fuel tank pressure sensor input. At an appropriate time, the EVAP purge valve and the EVAP canister vent valve are turned ON, allowing engine vacuum to draw a slight vacuum on the entire evaporative emission system. After the desired vacuum level has been achieved, the EVAP purge valve is turned OFF, sealing the system. A leak is detected by monitoring for a decrease in vacuum level over a given time period. A small leak in the system will cause DTC P0442 to be set. If the desired vacuum level cannot be achieved in the test described above, a large leak or a malfunctioning EVAP purge valve is indicated. This can be caused by the following conditions:

    • Disconnected or malfunctioning fuel tank pressure sensor.
    • Missing, incorrect, or malfunctioning fuel cap.
    • Disconnected, damaged, pinched, or blocked EVAP purge line.
    • Disconnected or damaged EVAP vent hose.
    • Disconnected, damaged, pinched, or blocked fuel tank vapor line.
    • Disconnected or malfunctioning EVAP canister vent valve.
    • Disconnected or malfunctioning EVAP canister vent valve.
    • Open ignition feed circuit to the EVAP canister vent or EVAP purge valve.
    • Damaged EVAP canister.

Any of the above conditions can set DTC P0440.

A restricted or blocked EVAP canister vent path is detected by drawing vacuum into the EVAP system, turning OFF the EVAP canister vent valve and the EVAP purge valve (EVAP canister vent valve Open, EVAP canister purge 0% ) and monitoring the fuel tank pressure sensor input. With the EVAP canister vent valve open, any vacuum in the system should decrease quickly unless the vent path is blocked. A blockage can be caused by the following conditions:

    • Malfunctioning EVAP canister vent valve (stuck closed).
    • Plugged, kinked, or pinched vent hose.
    • Shorted EVAP canister vent valve control circuit.
    • Plugged evaporative canister.

If any of the above conditions are present, DTC P0446 will set.

The system checks for conditions that cause the EVAP system to purge continuously by commanding the EVAP canister vent valve ON and the EVAP purge valve OFF (EVAP canister vent valve Closed, EVAP canister purge 0%). If fuel tank vacuum level decreases during the test, a continuous purge flow condition is indicated. This can be caused by the following conditions:

    • EVAP purge valve leaking.
    • EVAP purge and engine vacuum source lines switched at the EVAP purge valve.
    • EVAP purge valve control circuit grounded.

If any of these conditions are present, DTC P1441 will set. Refer to the DTC tables for further diagnostic procedures regarding the EVAP system.

Evaporative Emissions System Purge/Pressure Diagnostic Station J 41413


Object Number: 20803  Size: SH
(1)Main Valve
(2)Evaporative Emission System Purge/Presure Diagnostic Station J 41413
(3)Nitrogen Cylinder
(4)Black Connecting Hose
(5)Threaded Fitting
(6)Gauge Set

The EVAP system purge/pressure diagnostic station is used to clear carbon released into the EVAP system by the canister. Carbon released into the EVAP system may cause EVAP system components to be inoperative. If diagnosis indicates that an EVAP system component needs to be replaced, the system should be checked for released carbon. A released carbon condition must be corrected before replacing any EVAP system component. Procedures for checking the EVAP system for released carbon and for correcting a released carbon condition are in the Diagnostic Aids for the applicable DTC tables.