GM Service Manual Online
For 1990-2009 cars only

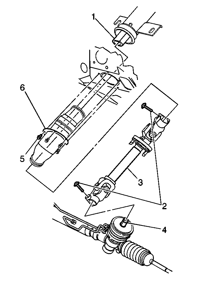
Removal Procedure


    Object Number: 277320  Size: MH
  1. Remove the pinch bolt (2) at the steering gear (4) stub shaft.
  2. Remove the left instrument panel sound insulator.
  3. Reposition the intermediate shaft seal (dust seal) (6) in order to access the upper intermediate shaft pinch bolt (2).
  4. Remove the pinch bolt (2).
  5. Disconnect the intermediate shaft (3) from the steering column (1).
  6. Remove the intermediate steering shaft (3).

Installation Procedure


    Object Number: 277320  Size: MH
  1. Position the intermediate steering shaft (3) on the steering column (1).
  2. Notice: Use the correct fastener in the correct location. Replacement fasteners must be the correct part number for that application. Fasteners requiring replacement or fasteners requiring the use of thread locking compound or sealant are identified in the service procedure. Do not use paints, lubricants, or corrosion inhibitors on fasteners or fastener joint surfaces unless specified. These coatings affect fastener torque and joint clamping force and may damage the fastener. Use the correct tightening sequence and specifications when installing fasteners in order to avoid damage to parts and systems.

  3. Fully insert into the upper pinch bolt (2) pot joint on the steering column (1).
  4. Tighten
    Tighten the pinch bolt to 47 N·m (35 lb ft)

  5. Insert the lower pinch pot joint on the steering gear (4).
  6. Install the lower pinch bolt (2).
  7. Tighten
    Tighten the pinch bolt to 47 N·m (35 lb ft)

  8. Reposition the seal (6) as needed.
  9. Install the left instrument panel sound insulator.