GM Service Manual Online
For 1990-2009 cars only

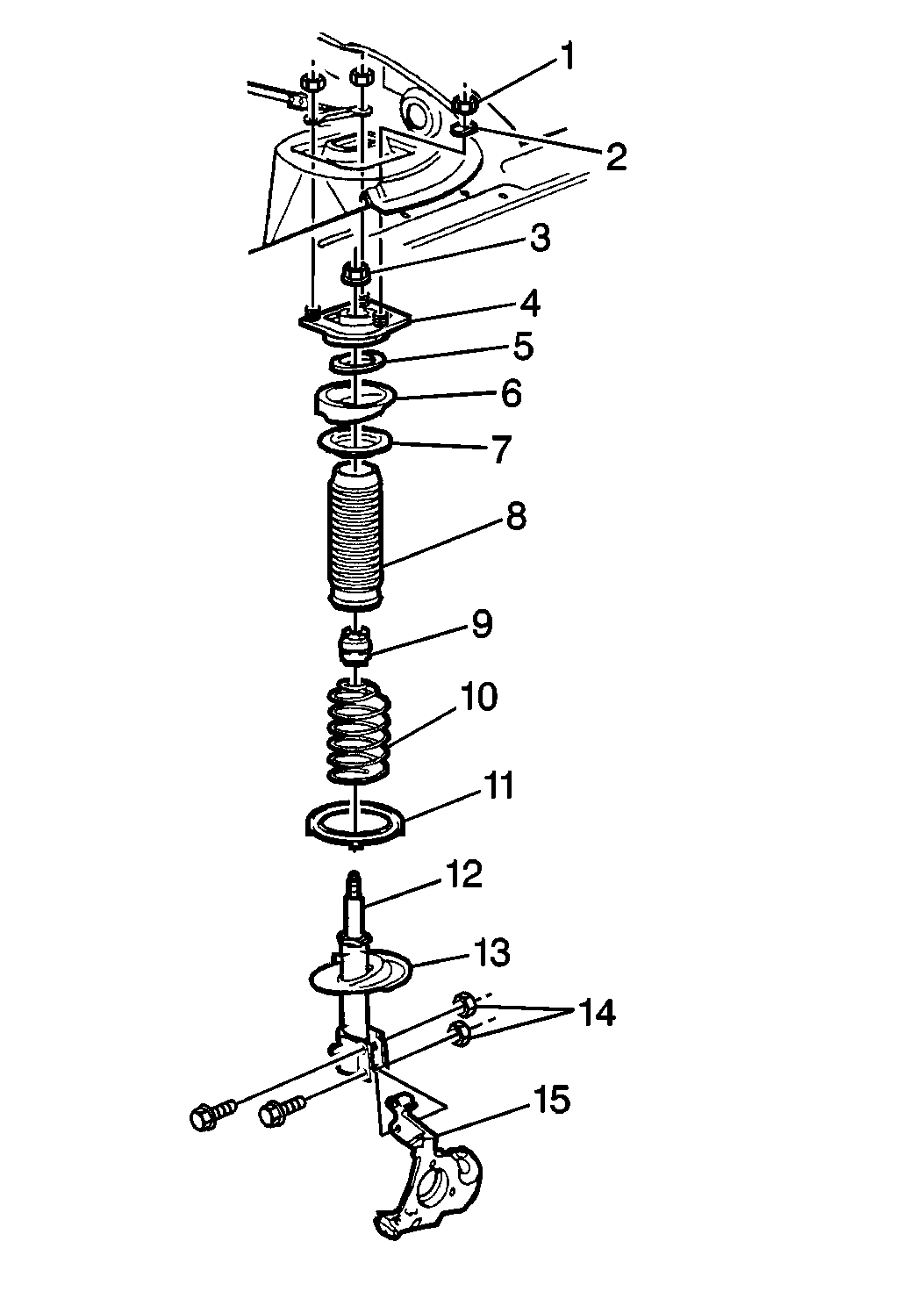
Object Number: 144003  Size: MH
(1)Nut (3)
(2)Washer
(3)Torque Prevailing Nut
(4)Strut Mount
(5)Bearing
(6)Upper Spring Seat
(7)Upper Insulator
(8)Strut Shield
(9)Strut Bumper
(10)Spring
(11)Lower Insulator
(12)Strut
(13)Lower Spring Seat
(14)Torque Prevailing Nut (2)
(15)Steering Knuckle

The front suspension is a combination strut and spring design, with control arms which pivot from the engine frame. The frame has isolation mounts to the body. A conventional rubber bushing is used for the rear lower control arm pivot. The front lower control arm bushing is mounted vertically. The upper end of the strut is isolated by a rubber mount which contains a bearing in order to allow for wheel turning. The lower end of the steering knuckle pivots on a ball joint that is riveted to the control arm. The ball joint fastens to the knuckle with a castellated nut and a cotter pin.

The front steering knuckle and the lower control arm is a machined aluminum casting. Do not use a hammer in order to loosen the suspension components from the steering knuckle. The suspension components that are attached to the steering knuckle (i.e. ball joint/stud, strut damper) are made of steel and have special coatings in order to prevent corrosion.