GM Service Manual Online
For 1990-2009 cars only

Removal Procedure


    Object Number: 422710  Size: SH
  1. Disconnect the negative battery cable.
  2. Remove the left I/P sound insulator. Refer to Instrument Panel Insulator Panel Replacement - Left Side in Instrument Panel, Gauges and Console.
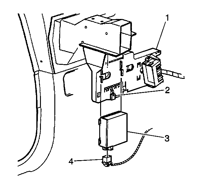
  3. Remove the variable effort module electrical connector (4).
  4. Remove the variable effort module (3) from the multi-use bracket (1) by pressing in on the retainer (2) and sliding down and out of the bracket.

Installation Procedure


    Object Number: 422710  Size: SH
  1. Install the variable effort module (3) to the multi-use bracket (1) by sliding upword into place.
  2. Connect the variable effort module electrical connector (4).
  3. Install the left I/P sound insulator. Refer to Instrument Panel Insulator Panel Replacement - Left Side in Instrument Panel, Gauges and Console.
  4. Connect the negative battery cable.