GM Service Manual Online
For 1990-2009 cars only

Instrument Panel Inflatable Restraint Module Replacement Oldsmobile

Removal Procedure

Caution: When you are carrying an undeployed inflator module:

   • Do not carry the inflator module by the wires or connector on the inflator module
   • Make sure the bag opening points away from you
When you are storing an undeployed inflator module, make sure the bag opening points away from the surface on which the inflator module rests. When you are storing a steering column, do not rest the column with the bag opening facing down and the column vertical. Provide free space for the air bag to expand in case of an accidental deployment. Otherwise, personal injury may result.

  1. Disable the SIR system. Refer to Disabling the SIR System .

  2. Object Number: 192021  Size: SH
  3. Remove the IP carrier. Refer to Instrument Panel Upper Trim Pad Replacement in Instrument Panel, Gauges, and Console.
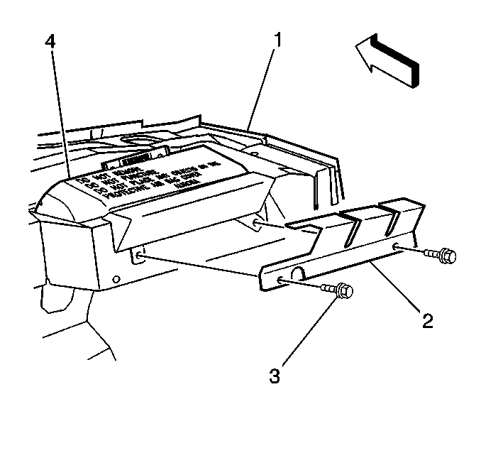
  4. Remove the inflatable restraint IP module rear mounting fasteners (3).

  5. Object Number: 192021  Size: SH
  6. Remove the foam insulator bracket (2).

  7. Object Number: 192016  Size: SH
  8. Remove the foam insulator (2).

  9. Object Number: 218611  Size: SH
  10. Remove the forward inflatable restraint IP module fasteners.
  11. Remove the inflatable restraint IP module (1).
  12. Fully deploy the module before disposal. If the module was replaced under warranty, fully deploy and dispose of the module after the required retention period. Refer to Inflator Module Handling, Shipping, and Scrapping .

Installation Procedure


    Object Number: 218611  Size: SH
  1. Install the inflatable restraint IP module (1).
  2. Install the forward inflatable restraint IP module mounting fasteners. Do not tighten the fasteners.

  3. Object Number: 192016  Size: SH
  4. Install the foam insulator (2).

  5. Object Number: 192021  Size: SH
  6. Install the foam insulator bracket (2).
  7. Notice: Use the correct fastener in the correct location. Replacement fasteners must be the correct part number for that application. Fasteners requiring replacement or fasteners requiring the use of thread locking compound or sealant are identified in the service procedure. Do not use paints, lubricants, or corrosion inhibitors on fasteners or fastener joint surfaces unless specified. These coatings affect fastener torque and joint clamping force and may damage the fastener. Use the correct tightening sequence and specifications when installing fasteners in order to avoid damage to parts and systems.

  8. Install the rear inflatable restraint IP module fasteners (3).
  9. Tighten

        • Tighten the forward fasteners to 24 N·m (18 lb ft).
        • Tighten the rear fasteners to 11 N·m (94 lb in).
  10. Install the IP carrier. Refer to Instrument Panel Upper Trim Pad Replacement in Instrument Panel, Gauges, and Console.
  11. Enable the SIR system. Refer to Enabling the SIR System .

Instrument Panel Inflatable Restraint Module Replacement Buick

Removal Procedure

Caution: When you are carrying an undeployed inflator module:

   • Do not carry the inflator module by the wires or connector on the inflator module
   • Make sure the bag opening points away from you
When you are storing an undeployed inflator module, make sure the bag opening points away from the surface on which the inflator module rests. When you are storing a steering column, do not rest the column with the bag opening facing down and the column vertical. Provide free space for the air bag to expand in case of an accidental deployment. Otherwise, personal injury may result.


    Object Number: 192021  Size: SH
  1. Disable the SIR system. Refer to Disabling the SIR System .
  2. Remove the Upper IP trim panel. Refer to Instrument Panel Upper Trim Pad Replacement in Instrument Panel, Gauges, and Console.
  3. Remove the IP storage compartment. Refer to Instrument Panel Storage Compartment Replacement in Instrument Panel, Gauges, and Console.

  4. Object Number: 411858  Size: SH
  5. Remove 5 fasteners (1) from the IP carrier.

  6. Object Number: 411863  Size: SH
  7. Use a spacer in order to hold the right side of the IP carrier (1) out about 3.8 cm (1.5 in).

  8. Object Number: 411865  Size: SH
  9. Remove the 2 inflatable restraint IP module upper fasteners (1).

  10. Object Number: 411866  Size: SH
  11. Remove the 2 inflatable restraint IP module lower fasteners (1).

  12. Object Number: 411867  Size: SH
  13. Remove the inflatable restraint module (1).
  14. Fully deploy the module before disposal. If the module was replaced under warranty, fully deploy and dispose of the module after the required retention period. Refer to Inflator Module Handling, Shipping, and Scrapping .

Installation Procedure


    Object Number: 411863  Size: SH
  1. Use a spacer in order to hold the right side of the IP carrier (1) out about 3.8 cm (1.5 in).

  2. Object Number: 411867  Size: SH
  3. Install the inflatable restraint IP module (1).

  4. Object Number: 411866  Size: SH

    Notice: Use the correct fastener in the correct location. Replacement fasteners must be the correct part number for that application. Fasteners requiring replacement or fasteners requiring the use of thread locking compound or sealant are identified in the service procedure. Do not use paints, lubricants, or corrosion inhibitors on fasteners or fastener joint surfaces unless specified. These coatings affect fastener torque and joint clamping force and may damage the fastener. Use the correct tightening sequence and specifications when installing fasteners in order to avoid damage to parts and systems.

  5. Install the lower inflatable restraint IP module fasteners.
  6. Tighten
    Tighten the lower fasteners to 11 N·m (94 lb in).

    Install the 2 inflatable restraint IP module lower fasteners (1).


    Object Number: 411865  Size: SH
  7. Install the 2 inflatable restraint IP module upper fasteners (1).
  8. Tighten
    Tighten the upper fasteners to 24 N·m (18 lb ft).


    Object Number: 411858  Size: SH
  9. Install 5 fasteners (1) to the IP carrier.

  10. Object Number: 192021  Size: SH
  11. Install the IP storage compartment. Refer to Instrument Panel Storage Compartment Replacement in Instrument Panel, Gauges, and Console.
  12. Install the Upper IP trim panel. Refer to Instrument Panel Upper Trim Pad Replacement in Instrument Panel, Gauges, and Console.
  13. Enable the SIR system. Refer to Enabling the SIR System .