GM Service Manual Online
For 1990-2009 cars only

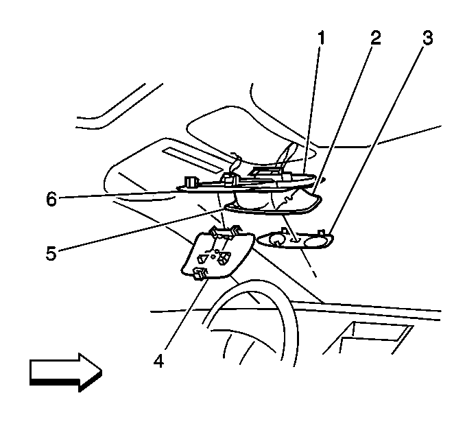
Removal Procedure


    Object Number: 281581  Size: SH
  1. Gently pry the lamp lens (3) at the forward edge in order to release the tabs.
  2. Remove the socket from the lamp (2) by twisting the socket counterclockwise..
  3. Pull the bulb from the socket.

Installation Procedure


    Object Number: 281581  Size: SH
  1. Press the bulb into the socket in order to install the bulb.
  2. Twist the socket into the lamp (2).
  3. Install the lens (3) by pressing the lens into place.
  4. Verify proper operation of the dome lamp switch (6).