GM Service Manual Online
For 1990-2009 cars only

Headlamp Aiming Oldsmobile


Object Number: 281669  Size: LH
    • Properly aim the headlamps in order to obtain the maximum road illumination and safety that has been built into the headlamp system. Proper aiming is important with composite headlamps.
    • Composite headlamps increase the range and the power of the headlamps. Slight variations from the recommended aiming may be hazardous to approaching motorists.
    • After the bulb has been replaced, aiming the headlamp is not required with composite headlamps.
    • When you inspect the headlamp aim, the vehicle must be at the normal weight, with regard to the following items :
       - The fuel
       - The oil
       - The water
       - The spare tire
    • Inflate the tires uniformly to the specified pressure.
    • If the vehicle will regularly carry a trailer or an unusual load in the rear compartment, inspect the headlamps with the load on the vehicle.

       Important: Some state and local laws specify the requirements for the headlamp aim. Follow all state and the local laws.

    • All states have requirements for headlamp aiming. Follow all individual state requirements.
    • Inspect the headlamp aim when installing a new headlamp assembly. Inspect the headlamp aim if service or repairs to the front end area may have disturbed the headlamps or the mountings.
    • The headlamp focus was set when the unit was made. You cannot readjust the focus.

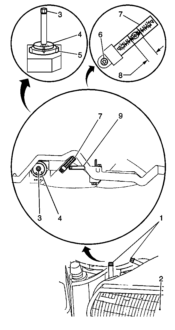
Object Number: 281670  Size: LH
    • Adjust the screw on the outer side of the headlamp assembly (3) in order to adjust the horizontal aim.
    • Adjust the screw on the top center of the headlamp assembly (9) in order to adjust the vertical aim.
    • Follow the manufacturer's instructions when using the mechanical aimers.
    • Perform the following steps in order to prepare the vehicle for aiming the headlamps:
        1. Completely assemble all of the components.
        2. Place the vehicle on a level pad or surface.
        3. Stop all unnecessary operations or work on the vehicle that affects the vehicle trim.
        4. Close the doors.
        5. Stabilize the suspension.
        6. Verify that the fuel level is at a 1/2 tank or less.
        7. Verify that the tires are inflated to the proper pressure.

Horizontal and Vertical Levelers


    Object Number: 281670  Size: LH
  1. Perform the following steps in order to prepare the vehicle for inspecting the aim of the headlamp beam:
  2. 1.1. Assemble all of the components on the vehicle.
    1.2. Position the vehicle on a level surface.
    1.3. Stop all other work on the vehicle.
    1.4. Close the doors.
    1.5. Rock the vehicle sideways in order to stabilize the suspension.

    Notice: Horizontal aiming of the headlamps must be performed before vertical aiming to obtain the correct headlamp aim.

  3. Set the horizontal adjuster (3) to zero by turning the horizontal aiming adjustment screw until the pointer is aligned with zero.
  4. Adjust the vertical aim by turning the vertical aiming screw (9) in the vertical level gage until the bubble in the level is centered at zero. If the fuel tank is near empty to 1/4 full, adjust the aim to the center bubble at -4 degrees. This will reduce the chance of raising the headlamp beam into oncoming drivers' eyes when the fuel tank is full.

Headlamp Aiming Buick


Object Number: 281666  Size: LH
    • Properly aim the headlamps in order to obtain the maximum road illumination and safety that has been built into the headlamp system. Proper aiming is important with composite headlamps.
    • Composite headlamps increase the range and the power of the headlamps. Slight variations from the recommended aiming may be hazardous to approaching motorists.
    • After the bulb has been replaced, aiming the headlamp is not required with composite headlamps.
    • When you inspect the headlamp aim, the vehicle must be at the normal weight, with regard to the following items :
       - The fuel
       - The oil
       - The water
       - The spare tire
    • Inflate the tires uniformly to the specified pressure.
    • If the vehicle will regularly carry a trailer or an unusual load in the rear compartment, inspect the headlamps with the load on the vehicle.

       Important: Some state and local laws specify the requirements for the headlamp aim. Follow all state and the local laws.

    • All states have requirements for headlamp aiming. Follow all individual state requirements.
    • Inspect the headlamp aim when installing a new headlamp assembly. Inspect the headlamp aim if service or repairs to the front end area may have disturbed the headlamps or the mountings.
    • The headlamp focus was set when the unit was made. You cannot readjust the focus.

Object Number: 281667  Size: LH
    • Adjust the screw on the outer side of the headlamp assembly (3) in order to adjust the horizontal aim.
    • Adjust the screw on the top center of the headlamp assembly (9) in order to adjust the vertical aim.
    • Follow the manufacturer's instructions when using the mechanical aimers.
    • Perform the following steps in order to prepare the vehicle for aiming the headlamps:
        1. Completely assemble all of the components.
        2. Place the vehicle on a level pad or surface.
        3. Stop all unnecessary operations or work on the vehicle that affects the vehicle trim.
        4. Close the doors.
        5. Stabilize the suspension.
        6. Verify that the fuel level is at a 1/2 tank or less.
        7. Verify that the tires are inflated to the proper pressure.

Horizontal and Vertical Levelers


    Object Number: 281667  Size: LH
  1. Perform the following steps in order to prepare the vehicle for inspecting the aim of the headlamp beam:
  2. 1.1. Assemble all of the components on the vehicle.
    1.2. Position the vehicle on a level surface.
    1.3. Stop all other work on the vehicle.
    1.4. Close the doors.
    1.5. Rock the vehicle sideways in order to stabilize the suspension.

    Notice: Horizontal aiming of the headlamps must be performed before vertical aiming to obtain the correct headlamp aim.

  3. Set the horizontal adjuster (3) to zero by turning the horizontal aiming adjustment screw until the pointer is aligned with zero.
  4. Adjust the vertical aim by turning the vertical aiming screw (9) in the vertical level gage until the bubble in the level is centered at zero. If the fuel tank is near empty to 1/4 full, adjust the aim to the center bubble at -4 degrees. This will reduce the chance of raising the headlamp beam into oncoming drivers' eyes when the fuel tank is full.