GM Service Manual Online
For 1990-2009 cars only

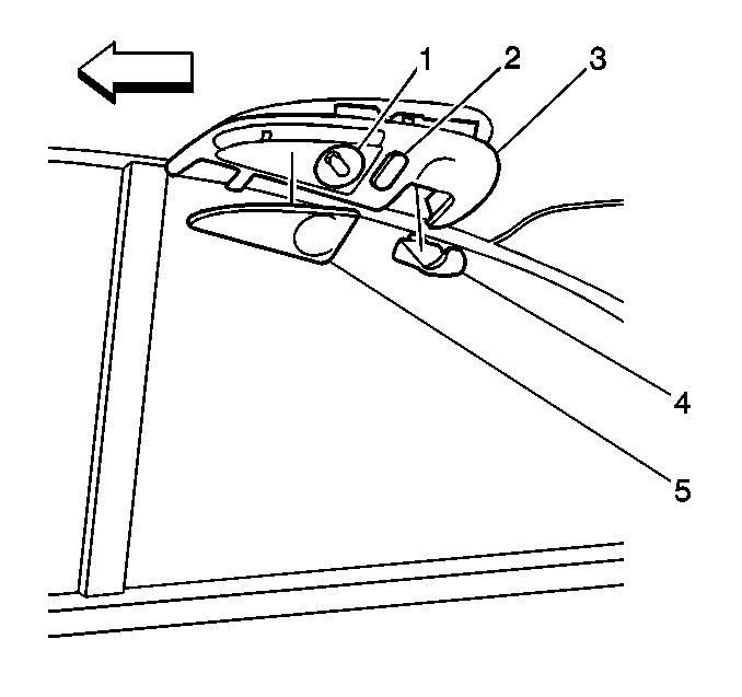
Roof Rail Rear Courtesy Lamp Replacement Oldsmobile

Removal Procedure


    Object Number: 281584  Size: SH
  1. Remove the 2 screws (3) that retain the assist handle (4) to the roof.
  2. Remove the assist handle.
  3. Release the tabs in order to remove the bulb/socket from the lamp (1).
  4. Remove the bulb from the socket by pulling out.

Installation Procedure


    Object Number: 281584  Size: SH
  1. Install the bulb to the socket by pressing in on the bulb.
  2. Install the bulb/socket to the lamp (1).
  3. Press in on the bulb/socket in order to engage the tabs.

  4. Install the assist handle (4).
  5. Install the 2 screws (3) in order to retain the assist handle to the roof.

Roof Rail Rear Courtesy Lamp Replacement Buick

Removal Procedure


    Object Number: 281583  Size: SH
  1. From the edge closest to the window, gently pry the lamp lens (5) in order to release the tabs.
  2. From the edge closest to the window, gently pry the lamp (1) in order to release the tab from the lamp bezel (3).
  3. Rotate the lamp (1) downward in order to release the retaining legs.

  4. Release the tabs retaining the bulb/socket assembly to the lamp (1).
  5. Pull out on the bulb in order to remove the bulb from the socket.

Installation Procedure


    Object Number: 281583  Size: SH
  1. Press in on the bulb in order to install the bulb to the socket.
  2. Press the bulb/socket assembly to the lamp (1) in order to engage the tabs.
  3. Rotate the lamp (1) into the lamp bezel (3).
  4. Press upward in order to engage the tab.

  5. Press the lamp lens (5) to the lamp (1) in order to engage the tabs.